Запчасти Komatsu GD600R-3 ДВОЙН. РАЗГРУЗ. КЛАПАН СИСТЕМАУПРАВЛЕНИЯ ПОВОРОТОМ

Схема запчастей Komatsu GD600R-3 - ДВОЙН. РАЗГРУЗ. КЛАПАН СИСТЕМАУПРАВЛЕНИЯ ПОВОРОТОМ
FIT
1:1
100%

Артикул

Название

Примечание

Количество

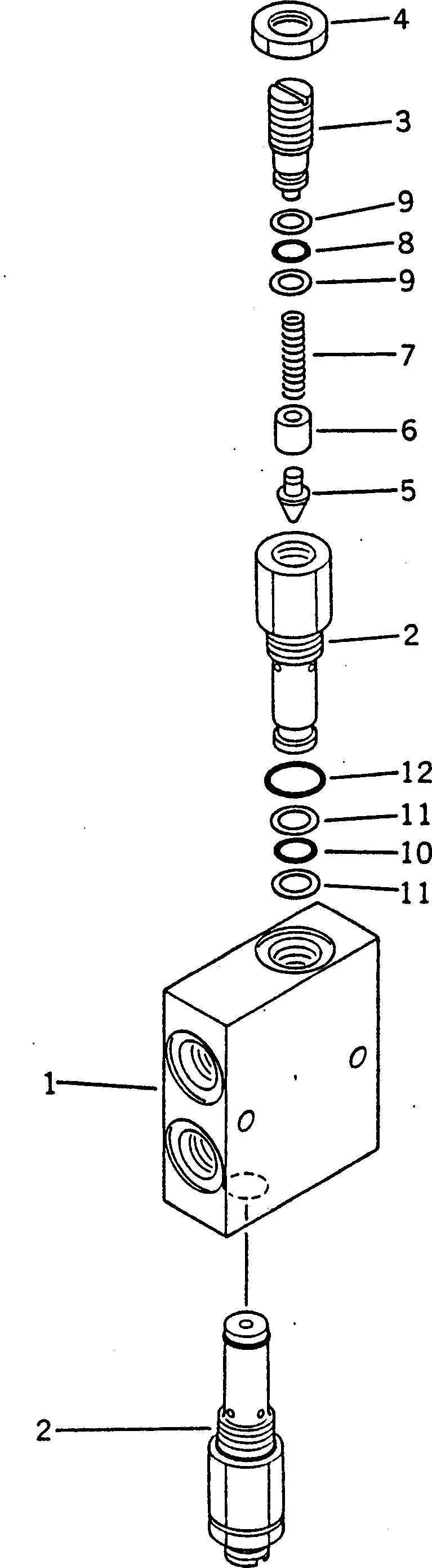
|1

232-40-00520

VALVE ASS'Y

SN: 14001-UP

1шт.

1

232-40-57710

BODY

SN: 14001-UP

1шт.

|2

232-40-00530

VALVE ASS'Y

SN: 14001-UP

2шт.

2

232-40-57810

SLEEVE

SN: 14001-UP

1шт.

3

232-40-57820

BOLT

SN: 14001-UP

1шт.

4

232-40-57830

NUT

SN: 14001-UP

1шт.

5

135-60-12152

VALVE

SN: 14001-UP

1шт.

6

232-60-56150

COLLAR

SN: 14001-UP

1шт.

7

234-60-16240

SPRING

SN: 14001-UP

1шт.

8

07000-12012

O-RING

SN: 14001-UP

1шт.

9

07001-02012

RING

SN: 14001-UP

2шт.

10

07000-12016

O-RING

SN: 14001-UP

1шт.

11

07001-02016

RING

SN: 14001-UP

2шт.

12

07002-12434

O-RING

SN: 14001-UP

1шт.

Выбрано товаров: 14