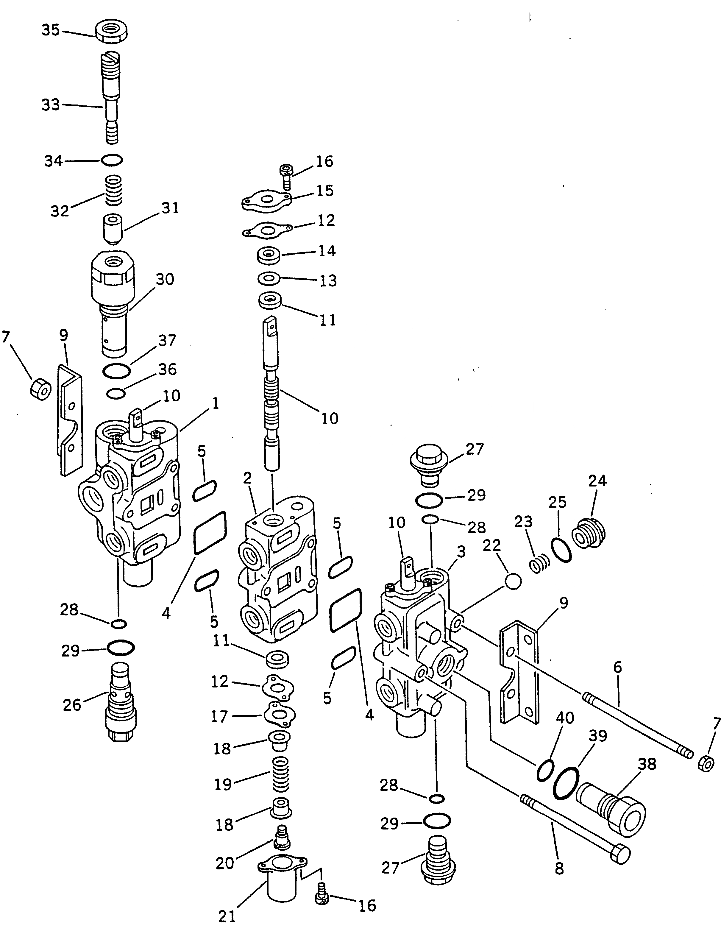
Запчасти Komatsu GD600R-3 ГИДРАВЛ УПРАВЛЯЮЩ. КЛАПАН¤ ПРАВ. (3-Х СЕКЦИОНН.) ГИДРАВЛИКА

Схема запчастей Komatsu GD600R-3 - ГИДРАВЛ УПРАВЛЯЮЩ. КЛАПАН¤ ПРАВ. (3-Х СЕКЦИОНН.) ГИДРАВЛИКА
FIT
1:1
100%

Артикул

Название

Примечание

Количество

|1

700-23-12001

VALVE ASS'Y

SN: 14001-UP

1шт.

1

0

BODY

SN: 14001-UP

1шт.

2

0

BLOCK

SN: 14001-UP

1шт.

3

0

COVER

SN: 14001-UP

1шт.

4

07000-13040

O-RING

SN: 14001-UP

2шт.

5

700-22-11450

O-RING

SN: 14001-UP

4шт.

6

700-23-12110

STUD

SN: 14001-UP

2шт.

7

01580-10806

NUT

SN: 14001-UP

4шт.

8

700-23-12120

BOLT

SN: 14001-UP

1шт.

9

700-22-11220

ANGLE

SN: 14001-UP

2шт.

10

0

SPOOL

SN: 14001-UP

3шт.

11

700-22-11252

U-PACKING

SN: 14001-UP

6шт.

12

700-22-11420

GASKET

SN: 14001-UP

6шт.

13

700-22-11430

COLLAR

SN: 14001-UP

3шт.

14

700-22-11261

SEAL

SN: 14001-UP

3шт.

15

700-22-11270

PLATE

SN: 14001-UP

3шт.

16

01252-40616

BOLT

SN: 14001-UP

12шт.

17

700-22-11281

PLATE

SN: 14001-UP

3шт.

18

700-22-11290

RETAINER

SN: 14001-UP

6шт.

19

700-22-11311

SPRING

SN: 14001-UP

3шт.

20

700-22-11320

PLUG

SN: 14001-UP

3шт.

21

700-22-11331

COVER

SN: 14001-UP

3шт.

22

700-22-12340

BALL

SN: 14001-UP

3шт.

23

700-22-12350

SPRING

SN: 14001-UP

3шт.

24

700-22-11351

PLUG

SN: 14001-UP

3шт.

25

07002-12434

O-RING

SN: 14001-UP

3шт.

26

700-22-11380

PLUG

SN: 14001-UP

1шт.

27

700-22-11360

PLUG

SN: 14001-UP

2шт.

28

07000-12014

O-RING

SN: 14001-UP

3шт.

29

07002-02434

O-RING

SN: 14001-UP

3шт.

|30

700-20-54000

VALVE ASS'Y

SN: 14001-UP

1шт.

30

0

SLEEVE

SN: 14001-UP

1шт.

31

0

POPPET

SN: 14001-UP

1шт.

32

700-80-62230

SPRING

SN: 14001-UP

1шт.

33

0

PISTON

SN: 14001-UP

1шт.

34

07000-02010

O-RING

SN: 14001-UP

1шт.

35

0

NUT

SN: 14001-UP

1шт.

36

07000-12014

O-RING

SN: 14001-UP

1шт.

37

07002-02434

O-RING

SN: 14001-UP

1шт.

38

232-60-12434

NIPPLE

SN: 14001-UP

1шт.

39

07002-12434

O-RING

SN: 14001-UP

1шт.

40

700-22-11410

O-RING

SN: 14001-UP

1шт.

Выбрано товаров: 42