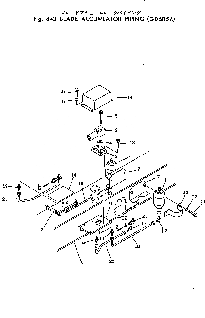
Запчасти Komatsu GD605A-1 ОТВАЛ ACCUMLATOR ТРУБЫ ОПЦИОННЫЕ КОМПОНЕНТЫ

Схема запчастей Komatsu GD605A-1 - ОТВАЛ ACCUMLATOR ТРУБЫ ОПЦИОННЫЕ КОМПОНЕНТЫ
FIT
1:1
100%

Артикул

Название

Примечание

Количество

1

232-833-1111

ACCUMULATOR

SN: 50002-UP

2шт.

2

232-833-2110

VALVE ASS'Y

SN: 50002-UP

2шт.

3

232-833-2120

PLATE

SN: 50002-UP

2шт.

4

07000-12016

O-RING

SN: 50002-UP

4шт.

5

01252-40880

BOLT

SN: 50002-UP

8шт.

6

232-833-3110

FRAME,(MODIFIED PARTS)

SN: 50002-UP

1шт.

7

232-833-3120

BRACKET

SN: 50002-UP

2шт.

8

232-833-3130

BRACKET

SN: 50002-UP

1шт.

9

232-833-3160

BRACKET

SN: 50002-UP

1шт.

10

232-833-3151

CLIP

SN: 50002-UP

2шт.

11

01010-51225

BOLT

SN: 50002-UP

4шт.

12

01602-21236

WASHER

SN: 50002-UP

4шт.

13

01252-41025

BOLT

SN: 50002-UP

8шт.

14

232-833-3140

COVER

SN: 50002-UP

2шт.

15

01010-51016

BOLT

SN: 50002-UP

8шт.

16

01602-21030

WASHER

SN: 50002-UP

8шт.

17

234-943-6660

ELBOW

SN: 50002-UP

3шт.

18

232-833-6110

TUBE

SN: 50002-UP

2шт.

19

232-833-6180

NIPPLE

SN: 50002-UP

4шт.

20

232-833-6120

TUBE

SN: 50002-UP

1шт.

21

232-833-6140

ELBOW

SN: 50002-UP

1шт.

22

07002-12034

O-RING

SN: 50002-UP

1шт.

23

232-833-6130

TUBE

SN: 50002-UP

1шт.

Выбрано товаров: 23