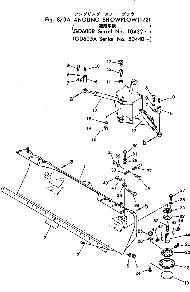
Запчасти Komatsu GD605A-1 ПОВОРОТН. ОТВАЛ Д/СНЕГА (/)(№-) ОПЦИОННЫЕ КОМПОНЕНТЫ

Схема запчастей Komatsu GD605A-1 - ПОВОРОТН. ОТВАЛ Д/СНЕГА (/)(№-) ОПЦИОННЫЕ КОМПОНЕНТЫ
FIT
1:1
100%

Артикул

Название

Примечание

Количество

|$0

232-979-0300

PLOW ASS'Y

SN: 50440-UP

1шт.

1

232-979-2111

PLOW

SN: 50440-UP

1шт.

2

232-70-12143

EDGE

SN: 50002-UP

2шт.

3

232-70-12450

BOLT

SN: 50002-UP

16шт.

4

232-70-12480

NUT

SN: 50002-UP

16шт.

5

01643-31645

WASHER

SN: 50002-UP

16шт.

6

234-870-8130

PIN

SN: 50002-UP

2шт.

7

04082-00212

LOCK

SN: 50002-UP

2шт.

8

01010-51230

BOLT

SN: 50002-UP

4шт.

9

01602-21236

WASHER

SN: 50002-UP

4шт.

10

07020-00000

FITTING

SN: 50002-UP

2шт.

11

234-870-8120

BUSHING

SN: 50002-UP

2шт.

12

232-979-3140

PIN

SN: 50002-UP

2шт.

13

07020-00675

FITTING

SN: 50002-UP

2шт.

14

01590-12427

NUT

SN: 50002-UP

2шт.

15

01640-22540

WASHER

SN: 50002-UP

2шт.

16

04050-05045

PIN

SN: 50002-UP

2шт.

17

232-63-86100

CYLINDER ASS'Y,(SEE FIG.877)

SN: 50002-UP

2шт.

|$18

236-970-0022

SLED ASS'Y

SN: 50440-UP

2шт.

18

233-979-1360

SLED

SN: 50440-UP

1шт.

19

233-979-1370

PLATE

SN: 50440-UP

1шт.

20

233-970-5221

PLATE

SN: 50440-UP

1шт.

21

07020-00675

FITTING

SN: 50440-UP

1шт.

22

233-970-5230

SHIM, 0.2MM

SN: 50440-UP

4шт.

23

233-970-5250

CAP

SN: 50440-UP

1шт.

24

232-70-12450

BOLT

SN: 50002-UP

4шт.

25

232-70-12480

NUT

SN: 50002-UP

4шт.

26

01643-31645

WASHER

SN: 50002-UP

8шт.

27

01010-51035

BOLT

SN: 50002-UP

4шт.

28

01602-21030

WASHER

SN: 50002-UP

4шт.

29

232-970-2730

PLATE

SN: 50440-UP

1шт.

30

01010-50816

BOLT

SN: 50440-UP

1шт.

31

01602-00825

WASHER

SN: 50440-UP

1шт.

32

232-970-2740

BOLT

SN: 50440-UP

1шт.

33

232-970-2750

LEVER

SN: 50440-UP

1шт.

34

01010-50835

BOLT

SN: 50440-UP

1шт.

35

01580-00806

NUT

SN: 50440-UP

1шт.

36

01602-00825

WASHER

SN: 50440-UP

1шт.

37

232-970-2760

HANDLE

SN: 50440-UP

1шт.

38

232-970-2770

PLATE

SN: 50440-UP

1шт.

39

01011-51215

BOLT

SN: 50440-UP

1шт.

40

01580-01210

NUT

SN: 50440-UP

1шт.

41

01602-01236

WASHER

SN: 50440-UP

1шт.

42

232-970-2810

KEY

SN: 50440-UP

2шт.

43

01220-40310

SCREW

SN: 40440-UP

4шт.

44

232-970-2140

SHAFT

SN: 50440-UP

1шт.

Выбрано товаров: 46