Запчасти Komatsu GD605A-1 НИЗ. PRESSURE ТРУБЫ (/)(№9-) ГИДРАВЛИКА

Схема запчастей Komatsu GD605A-1 - НИЗ. PRESSURE ТРУБЫ (/)(№9-) ГИДРАВЛИКА
FIT
1:1
100%

Артикул

Название

Примечание

Количество

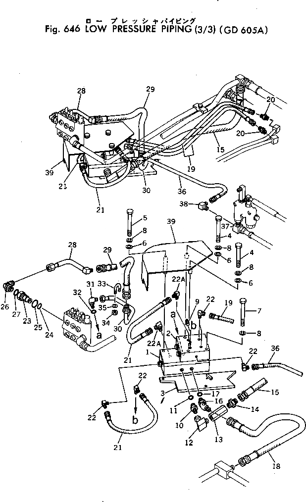
1

232-860-0010

VALVE ASS'Y,(SEE FIG.628)

SN: 50155-UP

1шт.

2

232-860-0050

VALVE ASS'Y,(SEE FIG.628)

SN: 50155-UP

1шт.

3

232-860-5810

PLATE

SN: 50155-UP

1шт.

4

01011-51005

BOLT

SN: 50155-UP

2шт.

5

01011-51080

BOLT

SN: 50155-UP

1шт.

6

01643-31032

WASHER

SN: 50155-UP

3шт.

7

01011-51040

BOLT

SN: 50155-UP

1шт.

8

01602-21030

WASHER

SN: 50155-UP

4шт.

9

07042-20108

PLUG

SN: 50155-UP

1шт.

10

07230-10522

UNION

SN: 50155-UP

1шт.

11

07002-12434

O-RING (KIT)

SN: 50155-UP

1шт.

12

232-860-5430

ELBOW

SN: 50155-UP

1шт.

13

232-860-5440

VALVE

SN: 50155-UP

1шт.

14

232-860-5450

NIPPLE

SN: 50155-UP

1шт.

15

07123-40510

HOSE

SN: 50155-UP

1шт.

16

07236-10522

ELBOW

SN: 50155-UP

1шт.

17

07002-12434

O-RING (KIT)

SN: 50155-UP

1шт.

18

07123-40512

HOSE

SN: 50155-UP

1шт.

19

07113-00210

HOSE

SN: 50155-UP

2шт.

20

232-860-5560

NIPPLE

SN: 50155-UP

2шт.

21

07108-20204

HOSE

SN: 50155-UP

2шт.

22

234-60-22672

ELBOW

SN: 50155-UP

5шт.

22A

234-60-22672

ELBOW

SN: 50155-UP

2шт.

23

700-22-11390

NIPPLE

SN: 50155-UP

1шт.

24

700-22-11410

O-RING

SN: 50155-UP

1шт.

25

07002-12434

O-RING (KIT)

SN: 50155-UP

1шт.

26

07235-10422

ELBOW

SN: 50155-UP

1шт.

27

07002-12034

O-RING

SN: 50155-UP

1шт.

28

232-860-5780

TUBE

SN: 50155-UP

1шт.

|28

232-860-5410

TUBE (OP)

SN: 50155-UP

1шт.

29

07123-40511

HOSE

SN: 50155-UP

1шт.

30

232-860-5850

TUBE

SN: 50155-UP

1шт.

31

07235-10522

ELBOW

SN: 50155-UP

1шт.

32

07002-12434

O-RING (KIT)

SN: 50155-UP

1шт.

33

232-860-5860

CLIP

SN: 50155-UP

1шт.

34

01599-01011

NUT

SN: 50155-UP

2шт.

35

01643-31032

WASHER

SN: 50155-UP

2шт.

36

07113-00207

HOSE

SN: 50155-UP

1шт.

37

232-860-5530

ELBOW

SN: 50155-UP

1шт.

38

234-60-22672

ELBOW

SN: 50155-UP

1шт.

39

232-860-5820

COVER

SN: 50155-UP

1шт.

Выбрано товаров: 41