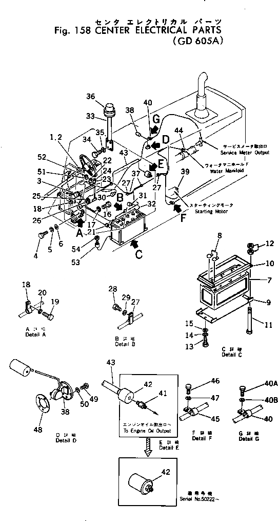
Запчасти Komatsu GD605A-1 ЦЕНТР. ЭЛЕКТРИКА КОМПОНЕНТЫ ДВИГАТЕЛЯ И ЭЛЕКТРИКА

Схема запчастей Komatsu GD605A-1 - ЦЕНТР. ЭЛЕКТРИКА КОМПОНЕНТЫ ДВИГАТЕЛЯ И ЭЛЕКТРИКА
FIT
1:1
100%

Артикул

Название

Примечание

Количество

1

237-06-15210

SWITCH,TURN SIGNAL

SN: 50002-UP

1шт.

2

237-06-15220

SEAT

SN: 50002-UP

1шт.

3

08166-02480

BUZZER

SN: 50002-UP

1шт.

4

01010-30812

BOLT

SN: 50002-UP

1шт.

5

01602-00825

WASHER

SN: 50002-UP

1шт.

6

01641-20812

WASHER

SN: 50002-UP

1шт.

7

08000-31220

BATTERY (165G51),(FOR JAPAN)

SN: 50002-UP

2шт.

|7

08000-11220

BATTERY (190H52),(EXCEPT JAPAN)

SN: 50002-UP

2шт.

|7

08000-11221

BATTERY (C200),(C200 OR F300-20)

SN: 50002-UP

2шт.

8

232-06-11970

CAP

SN: 50002-UP

4шт.

9

234-06-12160

HOLDER

SN: 50002-UP

2шт.

10

232-06-53310

HOLDER,(FOR JAPAN)

SN: 50002-UP

2шт.

|10

234-06-12170

HOLDER,(EXCEPT JAPAN)

SN: 50002-UP

2шт.

11

234-06-12180

BOLT

SN: 50002-UP

4шт.

12

01580-01008

NUT

SN: 50002-UP

8шт.

13

01010-31230

BOLT

SN: 50002-UP

6шт.

14

01602-01236

WASHER

SN: 50002-UP

6шт.

15

01643-31232

WASHER

SN: 50002-UP

6шт.

16

01010-31016

BOLT

SN: 50002-UP

1шт.

17

01602-01030

WASHER

SN: 50002-UP

1шт.

18

08036-11214

CLIP

SN: 50002-UP

3шт.

19

01010-31220

BOLT

SN: 50002-UP

3шт.

20

01602-01236

WASHER

SN: 50002-UP

3шт.

21

08036-01414

CLIP

SN: 50002-UP

2шт.

22

234-06-13361

SWITCH,LAMP

SN: 50102-UP

1шт.

|22

234-06-13360

SWITCH,LAMP

SN: 50002-50101

1шт.

|22

234-06-13380

NUT

SN: 50102-UP

1шт.

23

234-06-13370

SWITCH,BUZZER

SN: 50002-UP

1шт.

24

01583-01610

NUT

SN: 50002-UP

1шт.

25

236-06-23220

SWITCH,BRAKE LAMP

SN: 50002-UP

1шт.

26

236-06-23230

NUT

SN: 50002-UP

1шт.

27

08036-01814

CLIP

SN: 50002-UP

7шт.

28

01010-31220

BOLT

SN: 50002-UP

6шт.

29

01602-01236

WASHER

SN: 50002-UP

6шт.

30

08074-20000

SWITCH,BACK-UP LAMP

SN: 50002-UP

1шт.

31

232-06-27100

ADAPTER,SPEEDOMETER

SN: 50002-UP

1шт.

32

08603-00030

CABLE,SPEEDOMETER

SN: 50002-UP

1шт.

33

232-06-53280

BRACKET

SN: 50002-UP

1шт.

34

01010-31016

BOLT

SN: 50002-UP

4шт.

35

01602-01030

WASHER

SN: 50002-UP

4шт.

36

08154-12400

LAMP ASS'Y,BEACON

SN: .-UP

1шт.

|36

0

LAMP ASS'Y,BEACON

SN: 50002-.

1шт.

|36

08103-02460

BULB¤ 35W

SN: .-UP

1шт.

|36

0

BULB¤ 60W

SN: 50002-.

1шт.

37

08034-00519

BAND

SN: 50002-UP

8шт.

38

232-06-52430

SENSOR,FUEL

SN: 50002-UP

1шт.

39

232-06-11960

CAP

SN: 50002-UP

1шт.

40

08036-11214

CLIP

SN: 50004-UP

2шт.

|40

08036-11214

CLIP

SN: 50002-50003

1шт.

40A

01010-51020

BOLT

SN: 50004-UP

1шт.

40B

01602-21030

WASHER

SN: 50004-UP

1шт.

41

232-06-52390

NIPPLE

SN: 50002-UP

1шт.

42

232-06-52460

SENSOR,OIL PRESSURE

SN: 50222-UP

1шт.

|42

237-06-15160

SENSOR,OIL PRESSURE

SN: 50002-50221

1шт.

43

08671-01190

HOSE

SN: 50002-UP

1шт.

44

232-06-52410

SENSOR,WATER TEMPERATURE

SN: 50002-UP

1шт.

45

08036-01414

CLIP

SN: 50002-UP

1шт.

46

01010-31220

BOLT

SN: 50002-UP

1шт.

47

01602-01236

WASHER

SN: 50002-UP

1шт.

48

237-06-15190

PACKING

SN: 50002-UP

1шт.

49

01220-40412

SCREW

SN: 50002-UP

5шт.

50

01601-00410

WASHER

SN: 50002-UP

5шт.

51

08074-20000

SWITCH

SN: 50002-UP

1шт.

52

236-06-23230

NUT

SN: 50002-UP

1шт.

53

236-06-23220

SWITCH

SN: 50002-UP

1шт.

54

236-06-23230

NUT

SN: 50002-UP

1шт.

Выбрано товаров: 66