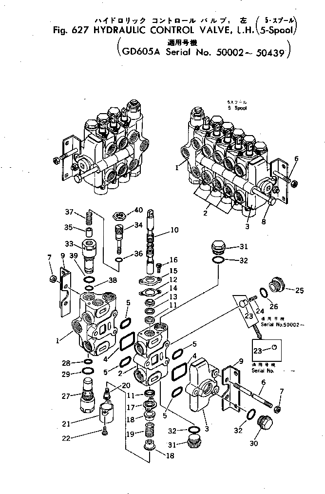
Запчасти Komatsu GD605A-1 ГИДРАВЛ УПРАВЛЯЮЩ. КЛАПАН¤ ЛЕВ. (5-СЕКЦИОНН.)(№-9) ГИДРАВЛИКА

Схема запчастей Komatsu GD605A-1 - ГИДРАВЛ УПРАВЛЯЮЩ. КЛАПАН¤ ЛЕВ. (5-СЕКЦИОНН.)(№-9) ГИДРАВЛИКА
FIT
1:1
100%

Артикул

Название

Примечание

Количество

|1

700-25-11000

VALVE ASS'Y

SN: 50002-50439

1шт.

1

0

BLOCK

SN: 50002-50439

1шт.

2

0

BLOCK

SN: 50002-50439

4шт.

3

0

COVER

SN: 50002-50439

1шт.

4

0

O-RING

SN: 50002-50439

5шт.

5

0

O-RING

SN: 50002-50439

10шт.

6

700-25-11110

STUD

SN: 50002-@

2шт.

7

01580-00806

NUT

SN: 50002-@

4шт.

8

700-25-11120

BOLT

SN: 50002-@

1шт.

9

700-22-11220

ANGLE

SN: 50002-@

2шт.

10

0

SPOOL

SN: 50002-50439

5шт.

11

700-22-11251

U-PACKING

SN: 50002-50439

10шт.

12

700-22-11420

GASKET

SN: 50002-@

10шт.

13

700-22-11430

COLLAR

SN: 50002-@

5шт.

14

700-22-11261

SEAL

SN: 50002-@

5шт.

15

700-22-11270

PLATE

SN: 50002-@

5шт.

16

01252-40616

BOLT

SN: 50002-50439

10шт.

17

700-22-11281

PLATE

SN: 50002-@

5шт.

18

700-22-11290

RETAINER

SN: 50002-@

10шт.

19

700-22-11831

SPRING

SN: 50002-50439

5шт.

20

700-22-11320

PLUG

SN: 50002-@

5шт.

21

700-22-11331

COVER

SN: .-@

5шт.

|21

0

COVER

SN: 50002-.

5шт.

22

01252-40616

BOLT

SN: 50002-50439

10шт.

23

700-22-12340

BALL

SN: .-@

5шт.

|23

0

VALVE

SN: 50002-.

5шт.

|$$27

(700-22-12340{700-22-12350¤}

-1шт.

|$$28

700-22-11351)

-1шт.

24

700-22-12350

SPRING

SN: .-@

5шт.

|24

0

SPRING

SN: 50002-.

5шт.

|$$31

(700-22-12350{700-22-12340¤}

-1шт.

|$$32

700-22-11351)

-1шт.

25

700-22-11351

PLUG

SN: .-@

5шт.

|25

0

PLUG

SN: 50002-.

5шт.

|$$35

(700-22-11351{700-22-12340¤}

-1шт.

|$$36

700-22-12350)

-1шт.

26

07002-12434

O-RING

SN: 50002-@

5шт.

27

700-22-11380

PLUG

SN: 50002-@

1шт.

28

07000-12014

O-RING

SN: 50002-50439

1шт.

29

07002-02434

O-RING

SN: 50002-50439

1шт.

30

700-22-11370

PLUG

SN: .-@

1шт.

|30

0

PLUG

SN: 50002-.

1шт.

31

700-22-11370

PLUG

SN: 50002-@

10шт.

32

07002-02434

O-RING

SN: 50002-50439

11шт.

|33

700-20-54000

VALVE ASS'Y

SN: 50002-@

1шт.

33

0

SLEEVE

SN: 50002-@

1шт.

34

0

POPPET

SN: 50002-@

1шт.

35

0

PISTON

SN: 50002-@

1шт.

36

07000-12014

O-RING

SN: 50002-@

1шт.

37

0

SPRING

SN: 50002-@

1шт.

38

07002-02434

O-RING

SN: 50002-@

1шт.

39

0

O-RING

SN: 50002-@

1шт.

40

0

NUT

SN: 50002-@

1шт.

Выбрано товаров: 53