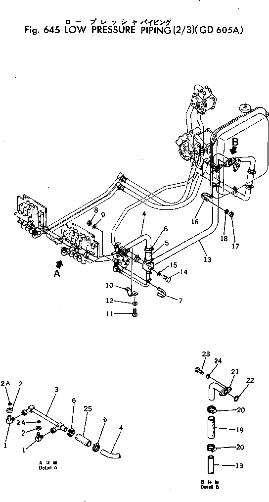
Запчасти Komatsu GD605A-1 НИЗ. PRESSURE ТРУБЫ (/) ГИДРАВЛИКА

Схема запчастей Komatsu GD605A-1 - НИЗ. PRESSURE ТРУБЫ (/) ГИДРАВЛИКА
FIT
1:1
100%

Артикул

Название

Примечание

Количество

1

232-60-55170

ELBOW

SN: 50002-UP

2шт.

2

237-60-14170

NUT

SN: 50002-UP

2шт.

2A

07002-12034

O-RING (KIT)

SN: 50002-UP

2шт.

3

232-860-5510

TUBE

SN: 50155-UP

1шт.

|3

232-60-55530

TUBE

SN: 50135-50154

1шт.

|3

232-860-5510

TUBE

SN: 50134-50134

1шт.

|3

232-60-55530

TUBE

SN: 50120-50133

1шт.

|3

232-860-5510

TUBE

SN: 50119-50119

1шт.

|5

232-60-55530

TUBE

SN: 50002-50118

1шт.

4

232-60-55540

TUBE

SN: 50002-UP

1шт.

5

07260-23214

HOSE

SN: 50002-UP

1шт.

6

07281-00609

CLAMP

SN: 50016-UP

4шт.

|6

0

CLAMP

SN: 50002-50015

4шт.

7

07283-23442

CLIP

SN: 50002-UP

1шт.

8

01599-01011

NUT

SN: 50002-UP

2шт.

9

01643-31032

WASHER

SN: 50002-UP

2шт.

10

07282-03411

CLAMP

SN: 50002-UP

1шт.

11

01010-51016

BOLT

SN: 50002-UP

2шт.

12

01602-21030

WASHER

SN: 50002-UP

2шт.

13

232-60-55550

TUBE

SN: 50002-UP

1шт.

14

01010-51016

BOLT

SN: 50002-UP

1шт.

15

01602-21030

WASHER

SN: 50002-UP

1шт.

16

07283-24346

CLIP

SN: 50002-UP

1шт.

17

01599-01011

NUT

SN: 50002-UP

2шт.

18

01643-31032

WASHER

SN: 50002-UP

2шт.

19

07260-24118

HOSE

SN: 50002-UP

1шт.

20

07281-00609

CLAMP

SN: 50002-UP

2шт.

21

232-60-55560

TUBE

SN: 50002-UP

1шт.

22

07000-13045

O-RING (KIT)

SN: 50002-UP

1шт.

23

01010-51230

BOLT

SN: 50002-UP

2шт.

24

01602-21236

WASHER

SN: 50002-UP

2шт.

25

07260-23211

HOSE

SN: 50056-UP

1шт.

|25

07260-23214

HOSE

SN: 50002-50055

1шт.

Выбрано товаров: 33