Запчасти Komatsu GD605A-3 ТОРМОЗНАЯ ГИДРОЛИНИЯ (/) СДВОЕНН. ПРИВОД И КОЛЕСА

Схема запчастей Komatsu GD605A-3 - ТОРМОЗНАЯ ГИДРОЛИНИЯ (/) СДВОЕНН. ПРИВОД И КОЛЕСА
FIT
1:1
100%

Артикул

Название

Примечание

Количество

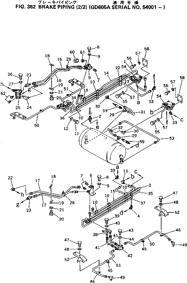
1

232-44-54560

TUBE,\

SN: 54001-UP

1шт.

2

07218-61013

TEE

SN: 54001-UP

1шт.

3

232-44-54580

TUBE,\

SN: 54001-UP

1шт.

4

07217-61013

ELBOW

SN: 54001-UP

1шт.

5

232-44-54590

JOINT

SN: 54001-UP

1шт.

6

232-44-54960

JOINT

SN: 54001-UP

1шт.

7

07042-20108

PLUG

SN: 54001-UP

3шт.

8

01010-51225

BOLT

SN: 54001-UP

2шт.

9

01602-21236

WASHER

SN: 54001-UP

2шт.

10

232-43-54351

CLIP

SN: 54004-UP

12шт.

|10

0

CLIP

SN: 54001-54003

12шт.

11

01010-50816

BOLT

SN: 54001-UP

12шт.

12

01602-20825

WASHER

SN: 54001-UP

12шт.

13

07217-61013

ELBOW

SN: 54001-UP

2шт.

14

232-44-54550

TUBE,\

SN: 54001-UP

1шт.

15

232-44-54570

TUBE,\

SN: 54001-UP

1шт.

16

07102-20417

HOSE

SN: 54001-UP

2шт.

17

07102-20418

HOSE

SN: 54001-UP

2шт.

18

236-60-24920

CLIP

SN: 54001-UP

2шт.

19

236-60-24930

CLIP

SN: 54001-UP

2шт.

20

01010-50835

BOLT

SN: 54001-UP

2шт.

21

01602-20825

WASHER

SN: 54001-UP

2шт.

22

232-44-52450

ELBOW

SN: 54001-UP

1шт.

23

238-44-11390

ELBOW

SN: 54001-UP

2шт.

24

232-44-54730

ELBOW

SN: 54001-UP

1шт.

25

238-44-12110

VALVE ASS'Y,(SEE FIG 356)

SN: 54001-UP

1шт.

26

01010-51035

BOLT

SN: 54001-UP

3шт.

27

01602-21030

WASHER

SN: 54001-UP

3шт.

28

08034-00834

BAND

SN: 54001-UP

10шт.

29

232-44-52580

ELBOW

SN: 54001-UP

2шт.

30

232-44-52970

ELBOW

SN: 54001-UP

2шт.

31

232-44-54420

TUBE,\

SN: 54001-UP

1шт.

32

232-44-54430

TUBE,\

SN: 54001-UP

1шт.

33

232-44-52970

ELBOW

SN: 54001-UP

4шт.

34

232-44-54440

TUBE,\

SN: 54001-UP

1шт.

35

232-44-54450

TUBE,\

SN: 54001-UP

1шт.

36

232-44-54460

TUBE,\

SN: 54001-UP

1шт.

37

232-44-54470

TUBE,\

SN: 54001-UP

1шт.

38

232-44-54910

JOINT

SN: 54001-UP

2шт.

39

01010-51225

BOLT

SN: 54001-UP

2шт.

40

01602-21236

WASHER

SN: 54001-UP

2шт.

41

07102-20403

HOSE

SN: 54001-UP

4шт.

42

232-44-54970

JOINT

SN: 54001-UP

2шт.

43

01010-51225

BOLT

SN: 54001-UP

4шт.

44

01602-21236

WASHER

SN: 54001-UP

4шт.

45

232-44-54620

CLIP

SN: 54001-UP

4шт.

46

234-04-11420

CLIP

SN: 54001-UP

4шт.

47

01010-50816

BOLT

SN: 54001-UP

8шт.

48

01643-30823

WASHER

SN: 54001-UP

8шт.

49

238-44-11440

ELBOW

SN: 54001-UP

4шт.

50

232-44-54520

TUBE,\

SN: 54001-UP

2шт.

51

232-44-54530

TUBE,\

SN: 54001-UP

2шт.

52

232-44-54990

PROTECTOR

SN: 54001-UP

4шт.

53

232-44-54480

TUBE,\

SN: 54001-UP

1шт.

54

565-44-11201

VALVE ASS'Y,(SEE FIG.358)

SN: 54001-UP

2шт.

55

01010-50825

BOLT

SN: 54001-UP

4шт.

56

01010-50816

BOLT

SN: 54001-UP

4шт.

57

01602-20825

WASHER

SN: 54001-UP

8шт.

58

232-44-62120

PLATE

SN: 54001-UP

2шт.

59

232-44-52620

VALVE ASS'Y

SN: 54001-UP

2шт.

60

07221-20315

NUT

SN: 54001-UP

1шт.

61

07222-00312

PLUG

SN: 54001-UP

1шт.

62

07326-10302

ADAPTER

SN: 54001-UP

2шт.

Выбрано товаров: 63