Запчасти Komatsu GD605A-3ПАНЕЛЬ РАМА И ЧАСТИ КОРПУСА

Схема запчастей Komatsu GD605A-3 -  ПАНЕЛЬ РАМА И ЧАСТИ КОРПУСА
FIT
1:1
100%

Артикул

Название

Примечание

Количество

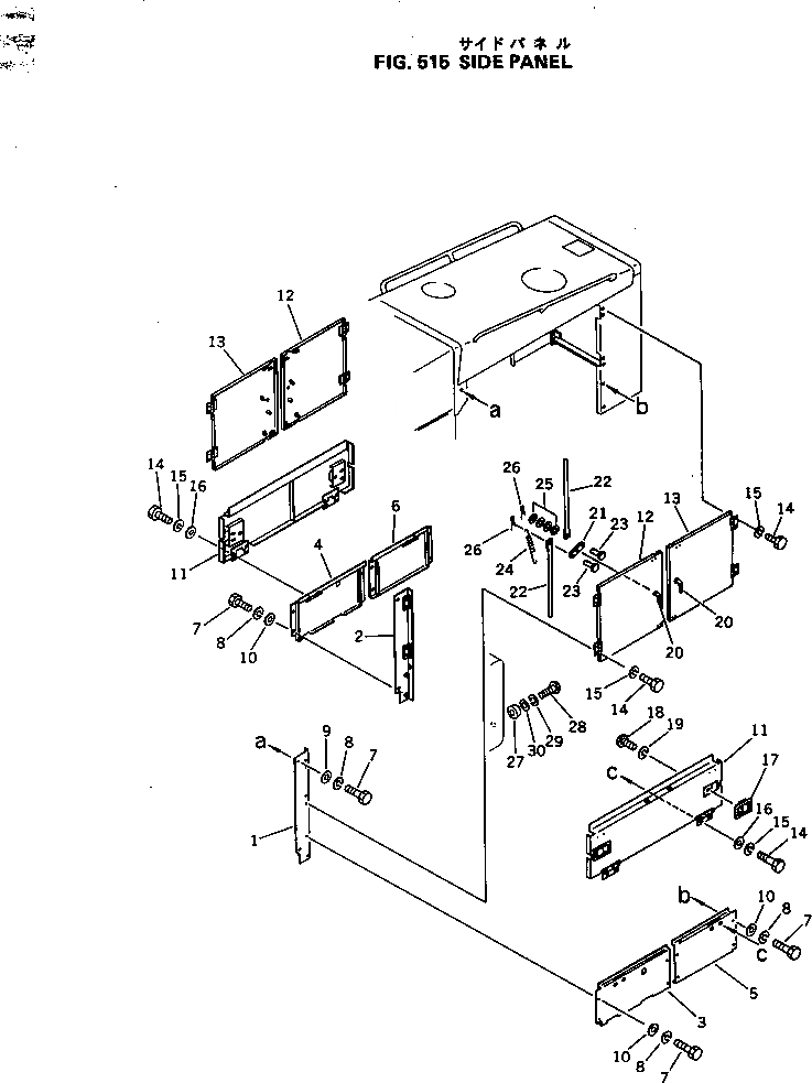
1

232-54-54194

COVER

SN: 54001-UP

1шт.

2

232-54-54184

COVER

SN: 54001-UP

1шт.

3

232-54-54731

PLATE

SN: 54001-UP

1шт.

4

232-54-54751

PLATE

SN: 54001-UP

1шт.

5

232-54-54761

PLATE

SN: 54001-UP

1шт.

6

232-54-54741

PLATE

SN: 54001-UP

1шт.

7

01010-51025

BOLT

SN: 54001-UP

20шт.

8

01602-21030

WASHER

SN: 54001-UP

20шт.

9

234-54-13252

WASHER

SN: 54001-UP

4шт.

10

01643-31032

WASHER

SN: 54001-UP

16шт.

11

232-54-55111

PANEL

SN: 54001-UP

2шт.

12

232-54-54772

PANEL

SN: 54001-UP

2шт.

13

232-54-54782

PANEL

SN: 54001-UP

2шт.

14

01010-51025

BOLT

SN: 54001-UP

8шт.

15

01602-21030

WASHER

SN: 54001-UP

8шт.

16

01643-31032

WASHER

SN: 54001-UP

8шт.

17

234-54-32631

CATCH

SN: 54001-UP

4шт.

18

01220-50512

SCREW

SN: 54001-UP

16шт.

19

01601-20513

WASHER

SN: 54001-UP

16шт.

20

238-54-12620

HANDLE

SN: 54001-UP

4шт.

21

238-54-12610

PLATE

SN: 54001-UP

4шт.

22

232-54-54791

BAR

SN: 54001-UP

8шт.

23

04205-10514

PIN

SN: 54001-UP

8шт.

24

236-54-22460

SPRING

SN: 54001-UP

4шт.

25

01641-20508

WASHER

SN: 54001-UP

32шт.

26

04050-11210

PIN

SN: 54001-UP

8шт.

27

234-54-32710

STOPPER

SN: 54001-UP

2шт.

28

01220-40520

SCREW

SN: 54001-UP

16шт.

29

01601-20513

WASHER

SN: 54001-UP

2шт.

30

01641-20508

WASHER

SN: 54001-UP

2шт.

Выбрано товаров: 30