Запчасти Komatsu GD605A-3 АККУМУЛЯТОР КОМПОНЕНТЫ ДВИГАТЕЛЯ И ЭЛЕКТРИКА

Схема запчастей Komatsu GD605A-3 - АККУМУЛЯТОР КОМПОНЕНТЫ ДВИГАТЕЛЯ И ЭЛЕКТРИКА
FIT
1:1
100%

Артикул

Название

Примечание

Количество

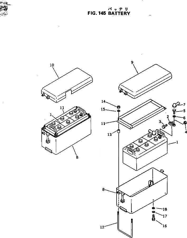
1

08000-02215

BATTERY (145G51),N150

SN: 54001-UP

2шт.

|1

232-06-51670

BATTERY¤ 12V 136AH,NX300 (OP)

SN: 54001-UP

2шт.

2

08000-00000

TERMINAL¤ (+)

SN: 54001-UP

2шт.

|2

08000-00001

TERMINAL¤ (-)

SN: 54001-UP

2шт.

3

01010-30830

BOLT

SN: 54001-UP

1шт.

4

01580-00806

NUT

SN: 54001-UP

1шт.

5

01050-31018

BOLT

SN: 54001-UP

1шт.

6

01640-01016

WASHER

SN: 54001-UP

1шт.

7

232-06-11970

CAP

SN: 54001-UP

4шт.

8

232-06-51681

BATTERY BOX

SN: 54001-UP

2шт.

|8

09450-00000

CATCH

SN: 54001-UP

2шт.

9

232-06-51961

COVER

SN: 54001-UP

1шт.

10

232-06-51971

COVER

SN: 54001-UP

1шт.

11

232-06-53310

HOLDER

SN: 54001-UP

2шт.

12

232-06-51690

BOLT

SN: 54001-UP

4шт.

13

232-43-54270

SPACER

SN: 54001-UP

8шт.

14

01580-10806

NUT

SN: 54001-UP

16шт.

15

01643-30823

WASHER

SN: 54001-UP

8шт.

16

01010-51030

BOLT

SN: 54001-UP

8шт.

17

01602-21030

WASHER

SN: 54001-UP

8шт.

18

01643-31032

WASHER

SN: 54001-UP

8шт.

Выбрано товаров: 21