Запчасти Komatsu GD605A-3 УПРАВЛ-Е ТРАНСМИССИЕЙ (/) СИЛОВАЯ ПЕРЕДАЧА

Схема запчастей Komatsu GD605A-3 - УПРАВЛ-Е ТРАНСМИССИЕЙ (/) СИЛОВАЯ ПЕРЕДАЧА
FIT
1:1
100%

Артикул

Название

Примечание

Количество

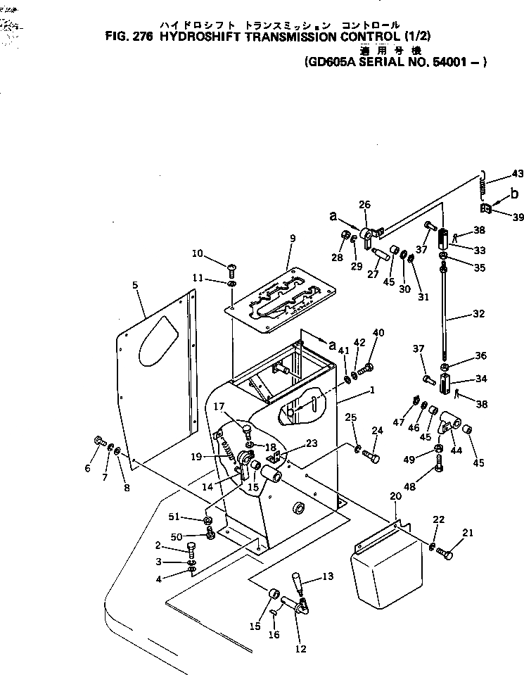
1

232-45-61110

BOX

SN: 54001-UP

1шт.

2

01010-51225

BOLT

SN: 54001-UP

4шт.

3

01602-21236

WASHER

SN: 54001-UP

4шт.

4

01643-31232

WASHER

SN: 54001-UP

4шт.

5

232-45-61120

COVER

SN: 54001-UP

1шт.

6

01010-50612

BOLT

SN: 54001-UP

8шт.

7

01602-20619

WASHER

SN: 54001-UP

8шт.

8

01641-20608

WASHER

SN: 54001-UP

8шт.

9

233-45-11152

GUIDE

SN: 54001-UP

1шт.

10

01220-40840

SCREW

SN: 54001-UP

4шт.

11

01641-20812

WASHER

SN: 54001-UP

4шт.

12

238-45-12210

LEVER

SN: 54001-UP

1шт.

13

09305-00800

KNOB

SN: 54001-UP

1шт.

14

232-45-11620

LEVER

SN: 54018-UP

1шт.

14

238-45-12220

LEVER

SN: 54001-54017

1шт.

15

232-43-52320

BUSHING

SN: 54001-UP

2шт.

16

04010-00519

KEY

SN: 54001-UP

1шт.

17

01010-50830

BOLT

SN: 54001-UP

1шт.

18

01602-20825

WASHER

SN: 54001-UP

1шт.

19

135-43-21480

SPRING

SN: 54001-UP

1шт.

20

233-45-11170

COVER

SN: 54001-UP

1шт.

21

01010-50820

BOLT

SN: 54001-UP

3шт.

22

01602-20825

WASHER

SN: 54001-UP

3шт.

23

233-45-11250

BRACKET

SN: 54001-UP

1шт.

24

01010-50616

BOLT

SN: 54001-UP

1шт.

25

01602-20619

WASHER

SN: 54001-UP

1шт.

26

233-45-11210

LEVER

SN: 54001-UP

1шт.

27

233-45-11220

SHAFT

SN: 54001-UP

1шт.

28

01580-10806

NUT

SN: 54001-UP

1шт.

29

01602-20825

WASHER

SN: 54001-UP

1шт.

30

01643-31645

WASHER

SN: 54001-UP

1шт.

31

04064-01610

RING

SN: 54001-UP

1шт.

32

04248-30843

ROD

SN: 54001-UP

1шт.

33

04211-20844

YOKE

SN: 54001-UP

1шт.

34

04221-20844

YOKE

SN: 54001-UP

1шт.

35

01580-10806

NUT

SN: 54001-UP

1шт.

36

01508-20805

NUT

SN: 54001-UP

1шт.

37

04050-12012

PIN

SN: 54001-UP

2шт.

38

04205-10822

PIN

SN: 54001-UP

2шт.

39

233-45-11230

PLATE

SN: 54001-UP

1шт.

40

01010-51220

BOLT

SN: 54001-UP

1шт.

41

01643-31232

WASHER

SN: 54001-UP

1шт.

42

01602-21236

WASHER

SN: 54001-UP

1шт.

43

232-43-42330

SPRING

SN: 54001-UP

1шт.

44

233-45-11241

LEVER

SN: 54001-UP

1шт.

45

232-43-52320

BUSHING

SN: 54001-UP

3шт.

46

01643-31645

WASHER

SN: 54001-UP

1шт.

47

04064-01610

RING

SN: 54001-UP

1шт.

48

233-45-11260

BOLT

SN: 54001-UP

1шт.

49

01580-10806

NUT

SN: 54001-UP

1шт.

50

232-45-11610

BOLT

SN: 54001-UP

1шт.

51

01580-10806

NUT

SN: 54001-UP

1шт.

Выбрано товаров: 0