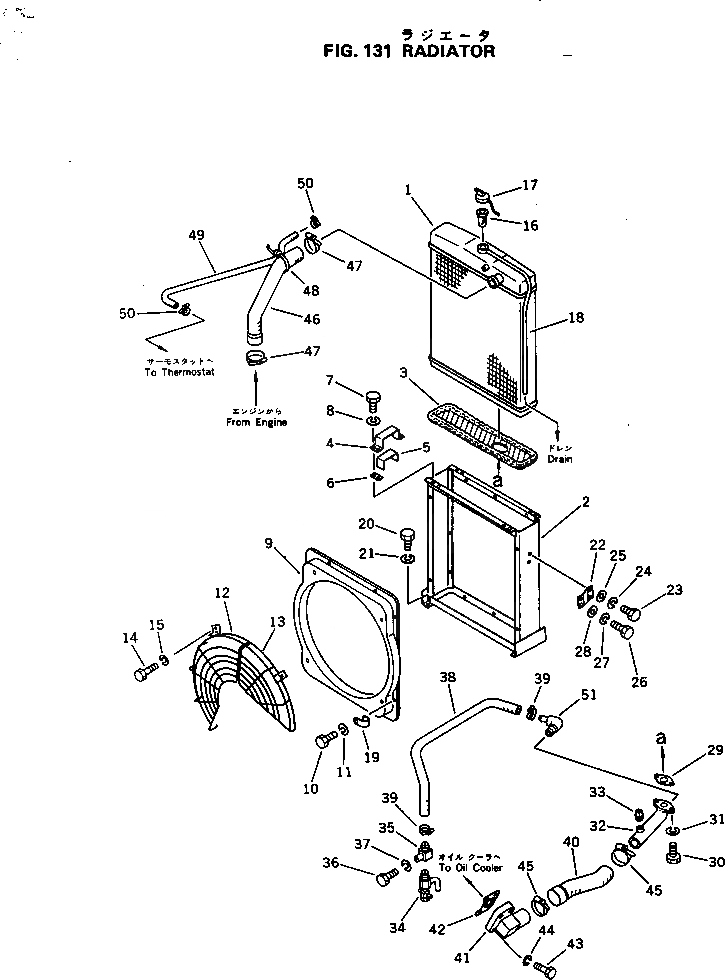
Запчасти Komatsu GD605A-3 РАДИАТОР КОМПОНЕНТЫ ДВИГАТЕЛЯ И ЭЛЕКТРИКА

Схема запчастей Komatsu GD605A-3 - РАДИАТОР КОМПОНЕНТЫ ДВИГАТЕЛЯ И ЭЛЕКТРИКА
FIT
1:1
100%

Артикул

Название

Примечание

Количество

|$0

232-03-61100

RADIATOR ASS'Y

SN: 54001-UP

1шт.

1

232-03-51110

CORE

SN: 54001-UP

1шт.

2

232-03-51120

FRAME

SN: 54001-UP

1шт.

3

232-03-51130

SEAT

SN: 54001-UP

1шт.

4

232-03-51140

CLAMP

SN: 54001-UP

2шт.

5

232-03-51150

CUSHION

SN: 54001-UP

2шт.

6

232-03-51160

SHIM

SN: 54001-UP

12шт.

7

01010-50820

BOLT

SN: 54001-UP

8шт.

8

01602-20825

WASHER

SN: 54001-UP

8шт.

9

232-03-61110

SHROUD

SN: 54001-UP

1шт.

10

01010-50812

BOLT

SN: 54001-UP

8шт.

11

01602-20825

WASHER

SN: 54001-UP

8шт.

12

234-03-11250

GUARD

SN: 54001-UP

1шт.

13

234-03-61120

GUARD

SN: 54001-UP

1шт.

14

01010-50816

BOLT

SN: 54001-UP

5шт.

15

01602-20825

WASHER

SN: 54001-UP

5шт.

16

230-30-11470

STRAINER

SN: 54001-UP

1шт.

17

101-03-13141

CAP

SN: 54001-UP

1шт.

18

145-03-32160

PIPE

SN: 54001-UP

1шт.

19

232-03-11210

CLIP

SN: 54001-UP

2шт.

20

01010-51635

BOLT

SN: 54001-UP

4шт.

21

01602-21648

WASHER

SN: 54001-UP

4шт.

22

232-03-51320

SUPPORT

SN: 54001-UP

2шт.

23

01010-51020

BOLT

SN: 54001-UP

4шт.

24

01602-21030

WASHER

SN: 54001-UP

4шт.

25

01643-31032

WASHER

SN: 54001-UP

4шт.

26

01010-51245

BOLT

SN: 54001-UP

4шт.

27

01602-21236

WASHER

SN: 54001-UP

4шт.

28

01643-31232

WASHER

SN: 54001-UP

4шт.

29

232-03-12130

GASKET

SN: 54001-UP

1шт.

30

01010-51235

BOLT

SN: 54001-UP

2шт.

31

01602-21236

WASHER

SN: 54001-UP

2шт.

32

232-03-52141

TUBE

SN: 54001-UP

1шт.

33

07042-20415

PLUG

SN: 54001-UP

1шт.

34

07730-20004

VALVE

SN: 54001-UP

1шт.

35

232-03-56110

NIPPLE

SN: 54001-UP

1шт.

36

01010-51020

BOLT

SN: 54001-UP

1шт.

37

01602-21030

WASHER

SN: 54001-UP

1шт.

38

07260-21490

HOSE

SN: 54001-UP

1шт.

39

07281-00289

CLAMP

SN: 54001-UP

2шт.

40

232-03-61220

HOSE

SN: 54001-UP

1шт.

41

232-03-61230

TUBE

SN: 54001-UP

1шт.

42

234-991-1420

GASKET

SN: 54001-UP

1шт.

43

01010-51050

BOLT

SN: 54001-UP

4шт.

44

01602-21030

WASHER

SN: 54001-UP

4шт.

45

07281-00809

CLAMP

SN: 54001-UP

2шт.

46

232-03-61210

HOSE

SN: 54001-UP

1шт.

47

07281-00809

CLAMP

SN: 54001-UP

2шт.

48

08034-00536

BAND

SN: 54001-UP

1шт.

49

07260-20990

HOSE

SN: 54001-UP

1шт.

50

07281-00197

CLAMP

SN: 54001-UP

2шт.

51

232-43-54460

ELBOW

SN: 54001-UP

1шт.

Выбрано товаров: 0