Запчасти Komatsu GD605A-3 КАБИНА ОПЕРАТОРА (/) РАМА И ЧАСТИ КОРПУСА

Схема запчастей Komatsu GD605A-3 - КАБИНА ОПЕРАТОРА (/) РАМА И ЧАСТИ КОРПУСА
FIT
1:1
100%

Артикул

Название

Примечание

Количество

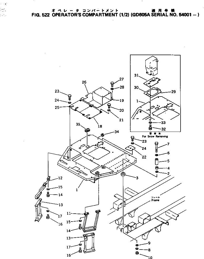
1

232-54-51211

FRAME

SN: 54001-UP

1шт.

1

232-54-00410

FRAME,(FOR SNOW REMOVING)

SN: 54001-UP

1шт.

2

238-54-11150

WASHER

SN: 54001-UP

4шт.

3

565-54-12820

CUSHION

SN: 54001-UP

4шт.

4

565-54-12810

CUSHION

SN: 54001-UP

4шт.

5

234-54-11470

COLLAR

SN: 54001-UP

4шт.

6

234-54-11480

PLATE

SN: 54001-UP

4шт.

7

01011-51600

BOLT

SN: 54001-UP

4шт.

8

01602-21648

WASHER

SN: 54001-UP

4шт.

9

01643-31645

WASHER

SN: 54001-UP

4шт.

10

01580-11613

NUT

SN: 54001-UP

4шт.

11

233-54-21330

STEP

SN: 54001-UP

1шт.

12

233-54-21320

STEP

SN: 54001-UP

1шт.

13

233-54-21310

STEP

SN: 54001-UP

2шт.

14

01010-51025

BOLT

SN: 54001-UP

8шт.

15

01602-21030

WASHER

SN: 54001-UP

8шт.

16

01010-51030

BOLT

SN: 54001-UP

4шт.

17

01602-21030

WASHER

SN: 54001-UP

4шт.

18

238-54-11310

FLOOR

SN: 54001-UP

1шт.

19

232-54-53330

PLATE

SN: 54001-UP

1шт.

20

01010-51225

BOLT

SN: 54001-UP

4шт.

21

01602-21236

WASHER

SN: 54001-UP

4шт.

22

238-54-11340

COVER

SN: 54001-UP

1шт.

23

01010-51225

BOLT

SN: 54001-UP

6шт.

24

01602-21236

WASHER

SN: 54001-UP

6шт.

25

238-54-17130

FLOOR

SN: 54001-UP

1шт.

26

232-54-53340

PLATE

SN: 54001-UP

1шт.

27

01010-51230

BOLT

SN: 54001-UP

4шт.

28

01602-21236

WASHER

SN: 54001-UP

4шт.

29

232-54-55720

PLATE,(FOR SNOW REMOVING)

SN: 54001-UP

1шт.

30

232-54-55730

PLATE,(FOR SNOW REMOVING)

SN: 54001-UP

1шт.

31

232-54-55710

SPONGE,(FOR SNOW REMOVING)

SN: 54001-UP

1шт.

32

01010-51016

BOLT,(FOR SNOW REMOVING)

SN: 54001-UP

4шт.

33

01602-21030

WASHER,(FOR SNOW REMOVING)

SN: 54001-UP

4шт.

34

08037-02512

GROMMET

SN: 54001-UP

1шт.

35

08037-03614

GROMMET

SN: 54001-UP

1шт.

Выбрано товаров: 36