Запчасти Komatsu GD605A-3 ПАНЕЛЬ ПРИБОРОВ (/)(№-) КОМПОНЕНТЫ ДВИГАТЕЛЯ И ЭЛЕКТРИКА

Схема запчастей Komatsu GD605A-3 - ПАНЕЛЬ ПРИБОРОВ (/)(№-) КОМПОНЕНТЫ ДВИГАТЕЛЯ И ЭЛЕКТРИКА
FIT
1:1
100%

Артикул

Название

Примечание

Количество

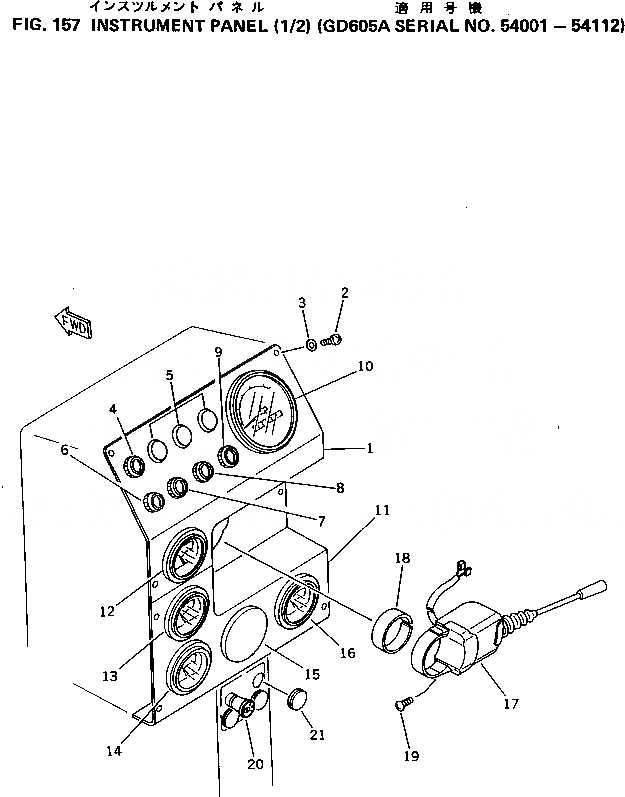
1

234-06-42110

PANEL

SN: 54001-54112

1шт.

2

01220-40612

SCREW

SN: 54001-54112

8шт.

3

01643-30623

WASHER

SN: 54001-54112

8шт.

4

08147-32402

LAMP,ARTICULATE

SN: 54001-54112

1шт.

5

09415-01610

CAP

SN: 54001-54112

3шт.

6

08147-32401

LAMP,HIGH-BEAM

SN: 54001-54112

1шт.

7

08147-32400

LAMP,PARKING BRAKE

SN: 54001-54112

1шт.

8

08147-22400

LAMP,CHARGE

SN: 54001-54112

1шт.

9

08147-22400

LAMP,OIL TEMPERATURE

SN: 54001-54112

1шт.

10

232-06-52311

SPEEDOMETER

SN: 54001-@

1шт.

11

238-06-14190

PANEL

SN: 54001-54112

1шт.

12

232-06-52340

GAUGE,WATER TEMPERATURE

SN: 54001-@

1шт.

13

232-06-52321

GAUGE,OIL PRESSURE

SN: 54018-@

1шт.

13

237-06-52320

GAUGE,OIL PRESSURE

SN: 54001-54017

1шт.

14

238-06-15140

GAUGE,PRESSURE

SN: 54001-54112

1шт.

15

232-06-57190

CAP

SN: 54001-54112

1шт.

16

232-06-52360

GAUGE,FUEL

SN: 54001-@

1шт.

17

237-06-15210

SWITCH,TURN SIGNAL

SN: 54001-54112

1шт.

18

237-06-15220

SEAT

SN: 54001-54112

1шт.

19

01220-40420

SCREW

SN: 54001-54112

1шт.

20

237-06-15230

SWITCH,HEAD LAMP

SN: 54001-54112

1шт.

21

130-911-1640

PLUG

SN: 54001-54112

3шт.

Выбрано товаров: 22