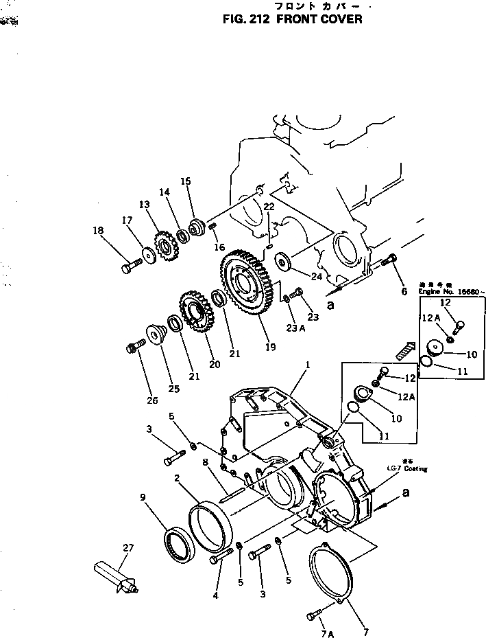
Запчасти Komatsu 6D125-1Q ПЕРЕДН. COVER БЛОК ЦИЛИНДРОВ

Схема запчастей Komatsu 6D125-1Q - ПЕРЕДН. COVER БЛОК ЦИЛИНДРОВ
FIT
1:1
100%

Артикул

Название

Примечание

Количество

|$0

6150-21-3101

COVER ASS'Y

SN: 10001-UP

1шт.

1

0

COVER,FRONT

SN: 10001-UP

1шт.

2

6150-21-3151

BUSHING

SN: 10001-UP

1шт.

3

01010-51070

BOLT

SN: 10001-UP

12шт.

4

01010-51075

BOLT

SN: 10001-UP

6шт.

5

01640-21016

WASHER

SN: 10001-UP

18шт.

6

6150-81-9130

BOLT

SN: 10001-UP

4шт.

7

6150-21-3510

COVER

SN: 10001-UP

1шт.

7A

01010-51020

BOLT

SN: 10001-UP

2шт.

8

6150-21-3380

POINTER

SN: 10001-UP

1шт.

9

6150-21-3230

SEAL, FRONT (K2)

SN: 10001-UP

1шт.

10

6150-81-5241

COVER

SN: 16680-UP

1шт.

10

6150-81-5240

COVER

SN: 10001-16679

1шт.

11

07000-03030

O-RING (K2)

SN: 10001-UP

1шт.

12

01010-51025

BOLT

SN: 10001-UP

1шт.

12A

6110-23-6490

SPACER

SN: 10051-UP

1шт.

13

6150-31-6110

GEAR

SN: 10001-UP

1шт.

14

6150-31-6120

BUSHING

SN: 10001-UP

1шт.

15

6150-21-2510

SHAFT

SN: 10001-UP

1шт.

16

04025-00512

PIN,SPRING

SN: 10001-UP

1шт.

17

6150-21-2520

PLATE

SN: 10001-UP

1шт.

18

01010-31460

BOLT

SN: 10001-UP

1шт.

19

6150-31-6310

GEAR

SN: 10001-UP

1шт.

|$23

6150-31-6200

GEAR ASS'Y

SN: 10001-UP

1шт.

20

0

GEAR

SN: 10001-UP

1шт.

21

6150-31-6220

BUSHING

SN: 10001-UP

2шт.

22

6127-21-1260

PIN

SN: 10001-UP

1шт.

23

01010-30825

BOLT

SN: 10001-UP

6шт.

23A

01643-50823

WASHER

SN: 21257-UP

6шт.

24

6150-21-2421

PLATE

SN: 21257-UP

1шт.

24

6150-21-2420

PLATE

SN: 10001-21256

1шт.

25

6150-21-2411

SHAFT

SN: 21257-UP

1шт.

25

6150-21-2410

SHAFT

SN: 10001-21256

1шт.

26

6150-21-2431

BOLT

SN: 21257-UP

1шт.

26

6150-21-2430

BOLT

SN: 10001-21256

1шт.

27

09920-00150

LIQUID GASKET,LG-7, 150G

SN: 10001-UP

-2шт.

|$0

6150-21-3101

COVER ASS'Y

SN: 10001-UP

1шт.

1

0

COVER,FRONT

SN: 10001-UP

1шт.

2

6150-21-3151

BUSHING

SN: 10001-UP

1шт.

3

01010-51070

BOLT

SN: 10001-UP

12шт.

4

01010-51075

BOLT

SN: 10001-UP

6шт.

5

01640-21016

WASHER

SN: 10001-UP

18шт.

6

6150-81-9130

BOLT

SN: 10001-UP

4шт.

7

6150-21-3510

COVER

SN: 10001-UP

1шт.

7A

01010-51020

BOLT

SN: 10001-UP

2шт.

8

6150-21-3380

POINTER

SN: 10001-UP

1шт.

9

6150-21-3230

SEAL, FRONT (K2)

SN: 10001-UP

1шт.

10

6150-81-5241

COVER

SN: 16680-UP

1шт.

10

6150-81-5240

COVER

SN: 10001-16679

1шт.

11

07000-03030

O-RING (K2)

SN: 10001-UP

1шт.

12

01010-51025

BOLT

SN: 10001-UP

1шт.

12A

6110-23-6490

SPACER

SN: 10051-UP

1шт.

13

6150-31-6110

GEAR

SN: 10001-UP

1шт.

14

6150-31-6120

BUSHING

SN: 10001-UP

1шт.

15

6150-21-2510

SHAFT

SN: 10001-UP

1шт.

16

04025-00512

PIN,SPRING

SN: 10001-UP

1шт.

17

6150-21-2520

PLATE

SN: 10001-UP

1шт.

18

01010-31460

BOLT

SN: 10001-UP

1шт.

19

6150-31-6310

GEAR

SN: 10001-UP

1шт.

|$23

6150-31-6200

GEAR ASS'Y

SN: 10001-UP

1шт.

20

0

GEAR

SN: 10001-UP

1шт.

21

6150-31-6220

BUSHING

SN: 10001-UP

2шт.

22

6127-21-1260

PIN

SN: 10001-UP

1шт.

23

01010-30825

BOLT

SN: 10001-UP

6шт.

23A

01643-50823

WASHER

SN: 21257-UP

6шт.

24

6150-21-2421

PLATE

SN: 21257-UP

1шт.

24

6150-21-2420

PLATE

SN: 10001-21256

1шт.

25

6150-21-2411

SHAFT

SN: 21257-UP

1шт.

25

6150-21-2410

SHAFT

SN: 10001-21256

1шт.

26

6150-21-2431

BOLT

SN: 21257-UP

1шт.

26

6150-21-2430

BOLT

SN: 10001-21256

1шт.

27

09920-00150

LIQUID GASKET,LG-7, 150G

SN: 10001-UP

-2шт.

Выбрано товаров: 72