Запчасти Komatsu GD605A-3 ЭЛЕКТРИКА КОМПОНЕНТЫ ДВИГАТЕЛЯ И ЭЛЕКТРИКА

Схема запчастей Komatsu GD605A-3 - ЭЛЕКТРИКА КОМПОНЕНТЫ ДВИГАТЕЛЯ И ЭЛЕКТРИКА
FIT
1:1
100%

Артикул

Название

Примечание

Количество

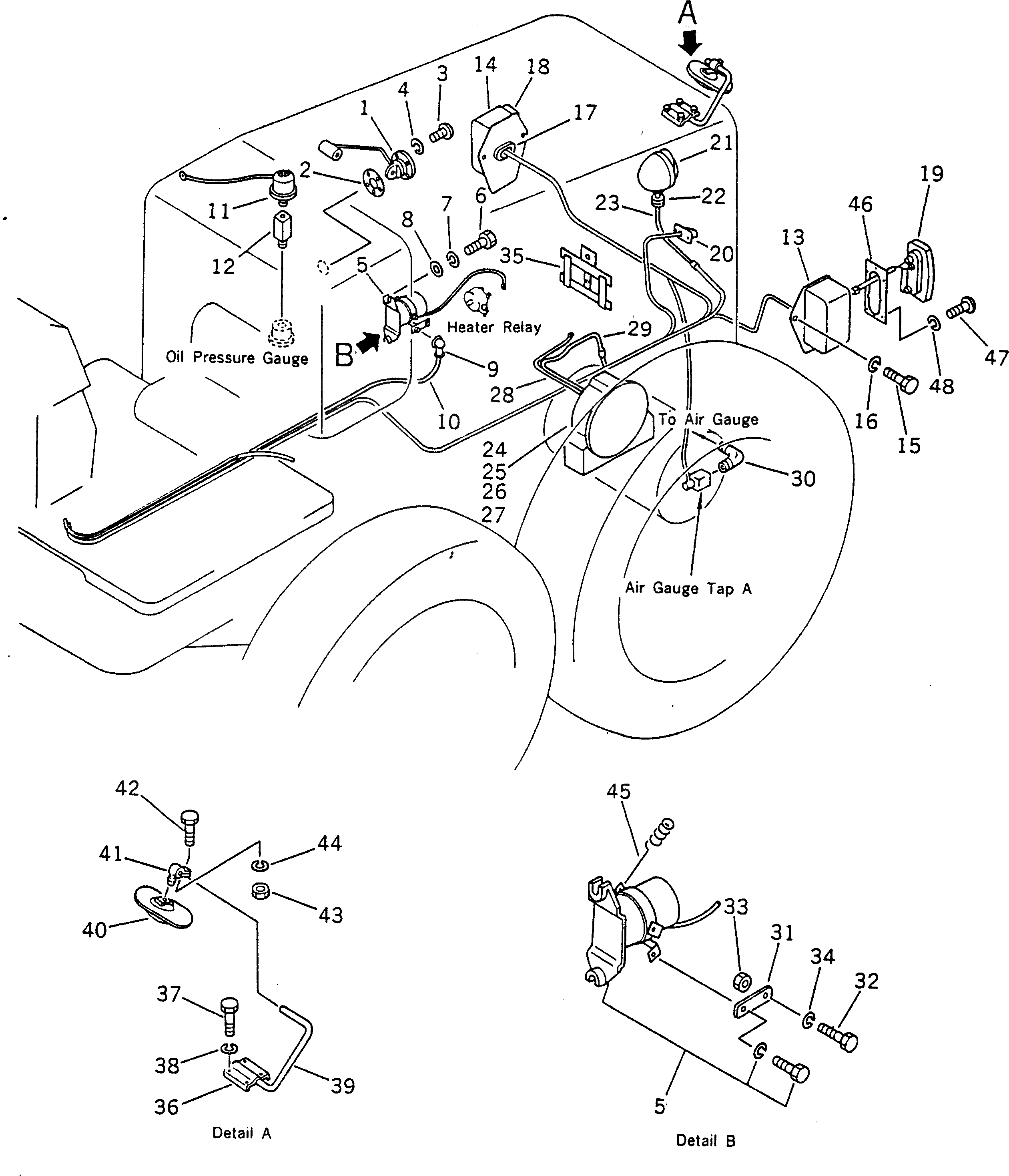
1

232-06-52430

SENSOR

SN: 57001-UP

1шт.

2

237-06-15190

PACKING

SN: 57001-UP

1шт.

3

01220-40412

SCREW

SN: 57001-UP

5шт.

4

01601-20410

WASHER

SN: 57001-UP

5шт.

5

237-06-15250

RELAY

SN: 57001-UP

1шт.

6

0

BOLT

SN: 57001-UP

2шт.

7

01602-20825

WASHER

SN: 57001-UP

2шт.

8

01641-20812

WASHER

SN: 57001-UP

2шт.

9

232-06-11960

CAP

SN: 57001-UP

3шт.

10

237-06-11510

WIRE

SN: 57001-UP

1шт.

11

0

SENSOR

SN: 57001-57012

1шт.

11

232-06-52461

SENSOR

SN: 57001-UP

1шт.

12

232-06-61470

NIPPLE

SN: 57001-UP

1шт.

13

238-06-18220

BRACKET L.H.

SN: 57001-UP

1шт.

14

238-06-18210

BRACKET R.H.

SN: 57001-UP

1шт.

15

01010-50810

BOLT

SN: 57001-UP

6шт.

16

01602-20825

WASHER

SN: 57001-UP

6шт.

17

08037-03614

GROMMET

SN: 57001-UP

2шт.

18

237-06-13340

LAMP ASS'Y

SN: 57001-UP

1шт.

18

237-06-13360

LENS

SN: 57001-UP

1шт.

18

0

BULB, 25/10W

SN: 57001-UP

1шт.

18

0

BULB, 25W

SN: 57001-UP

1шт.

18

08111-02430

BULB, 3W

SN: 57001-UP

1шт.

19

237-06-13350

LAMP ASS'Y

SN: 57001-UP

1шт.

19

237-06-13360

LENS

SN: 57001-UP

1шт.

19

0

BULB, 25/10W

SN: 57001-UP

1шт.

19

0

BULB, 25W

SN: 57001-UP

1шт.

19

08111-02430

BULB, 3W

SN: 57001-UP

1шт.

20

08137-12400

LAMP (OP)

SN: 57001-UP

1шт.

20

08110-12410

BULB, 12W

SN: 57001-UP

1шт.

21

08138-02400

LAMP ASS'Y (OP)

SN: 57001-UP

1шт.

21

0

BULB, 25W

SN: 57001-UP

1шт.

21

08138-00006

LENS

SN: 57001-UP

1шт.

21

08138-00008

HOLDER

SN: 57001-UP

1шт.

22

233-06-11180

GROMMET (OP)

SN: 57001-UP

1шт.

23

238-06-11360

CABLE

SN: 57001-UP

1шт.

24

0

ALARM

SN: 57001-UP

1шт.

25

01010-50612

BOLT

SN: 57001-UP

4шт.

26

01602-20619

WASHER

SN: 57001-UP

4шт.

27

01643-30623

WASHER

SN: 57001-UP

4шт.

28

234-06-31130

CABLE

SN: 57001-UP

1шт.

29

234-06-31140

CABLE

SN: 57001-UP

1шт.

30

07834-00413

ELBOW

SN: 57001-UP

1шт.

31

234-06-32240

PLATE

SN: 57001-UP

1шт.

32

01010-50820

BOLT

SN: 57001-UP

1шт.

33

01580-10806

NUT

SN: 57001-UP

1шт.

34

01602-20825

WASHER

SN: 57001-UP

1шт.

35

232-06-15240

BRACKET

SN: 57001-UP

1шт.

36

232-06-15131

BRACKET (OP)

SN: 57001-UP

1шт.

37

0

BOLT (OP)

SN: 57001-UP

4шт.

38

01602-21236

WASHER (OP)

SN: 57001-UP

4шт.

39

234-06-15230

TUBE (OP)

SN: 57001-UP

1шт.

40

08174-10001

MIRROR (OP)

SN: 57001-UP

1шт.

41

232-06-15151

PIVOT (OP)

SN: 57001-UP

1шт.

42

01010-50825

BOLT (OP)

SN: 57001-UP

1шт.

43

01580-10806

NUT (OP)

SN: 57001-UP

1шт.

44

01602-20825

WASHER (OP)

SN: 57001-UP

1шт.

45

234-06-22160

HANGER

SN: 57001-UP

1шт.

46

238-06-18230

BRACKET

SN: 57001-UP

2шт.

47

01220-40612

SCREW

SN: 57001-UP

8шт.

48

01602-20619

WASHER

SN: 57001-UP

8шт.

Выбрано товаров: 61