Запчасти Komatsu GD605A-3 КОНДИЦ. ВОЗДУХА ОПЦИОННЫЕ КОМПОНЕНТЫ

Схема запчастей Komatsu GD605A-3 - КОНДИЦ. ВОЗДУХА ОПЦИОННЫЕ КОМПОНЕНТЫ
FIT
1:1
100%

Артикул

Название

Примечание

Количество

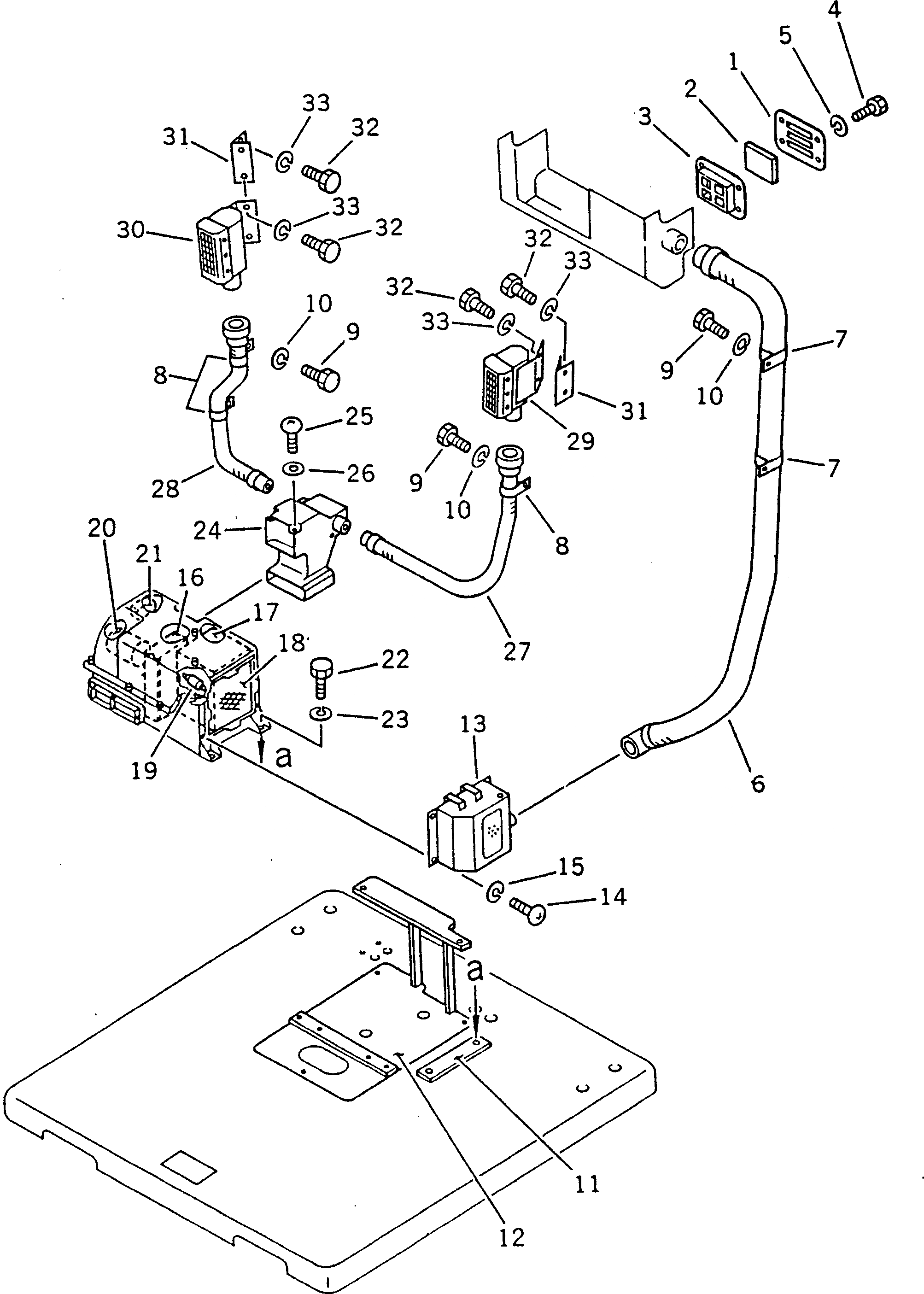
1

232-809-7810

COVER

SN: 57001-UP

1шт.

2

232-809-7830

FILTER

SN: 57001-UP

1шт.

3

232-809-7820

COVER

SN: 57001-UP

1шт.

4

0

BOLT

SN: 57001-UP

4шт.

5

01602-21030

WASHER

SN: 57001-UP

4шт.

6

232-809-7660

HOSE

SN: 57001-UP

1шт.

6

232-809-7670

HOSE

SN: 57001-UP

1шт.

7

232-809-4850

CLIP

SN: 57001-UP

2шт.

8

0

CLIP

SN: 57001-UP

3шт.

9

0

BOLT

SN: 57001-UP

5шт.

10

01602-21030

WASHER

SN: 57001-UP

5шт.

11

232-809-7540

PLATE

SN: 57001-UP

1шт.

12

232-809-7910

BRACKET

SN: 57001-UP

1шт.

13

232-809-7570

BOX

SN: 57001-UP

1шт.

14

01370-00510

SCREW

SN: 57001-UP

4шт.

15

01601-20513

WASHER

SN: 57001-UP

4шт.

15

0

COOLING UNIT ASS'Y

SN: 57001-UP

1шт.

16

232-809-7340

UNIT SUB ASS'Y

SN: 57001-UP

1шт.

17

232-809-7350

EVAPORATOR SUB A.

SN: 57001-UP

1шт.

18

232-809-7360

FILTER

SN: 57001-UP

1шт.

19

232-809-7370

THERMOSTAT

SN: 57001-UP

1шт.

20

232-809-7380

MOTOR ASS'Y

SN: 57001-UP

1шт.

21

232-809-7390

RESISTOR

SN: 57001-UP

1шт.

22

0

BOLT

SN: 57001-UP

4шт.

23

01602-21030

WASHER

SN: 57001-UP

4шт.

24

232-809-7530

BOX

SN: 57001-UP

1шт.

25

01370-00415

SCREW

SN: 57001-UP

3шт.

26

01641-20405

WASHER

SN: 57001-UP

3шт.

27

232-809-7710

HOSE,L.H.

SN: 57001-UP

1шт.

28

232-809-7720

HOSE

SN: 57001-UP

1шт.

29

232-809-4640

GRILLE

SN: 57001-UP

1шт.

30

232-809-4630

GRILLE

SN: 57001-UP

1шт.

31

232-807-4820

BRACKET

SN: 57001-UP

2шт.

32

01010-50816

BOLT

SN: 57001-UP

8шт.

33

01602-20825

WASHER

SN: 57001-UP

8шт.

Выбрано товаров: 35