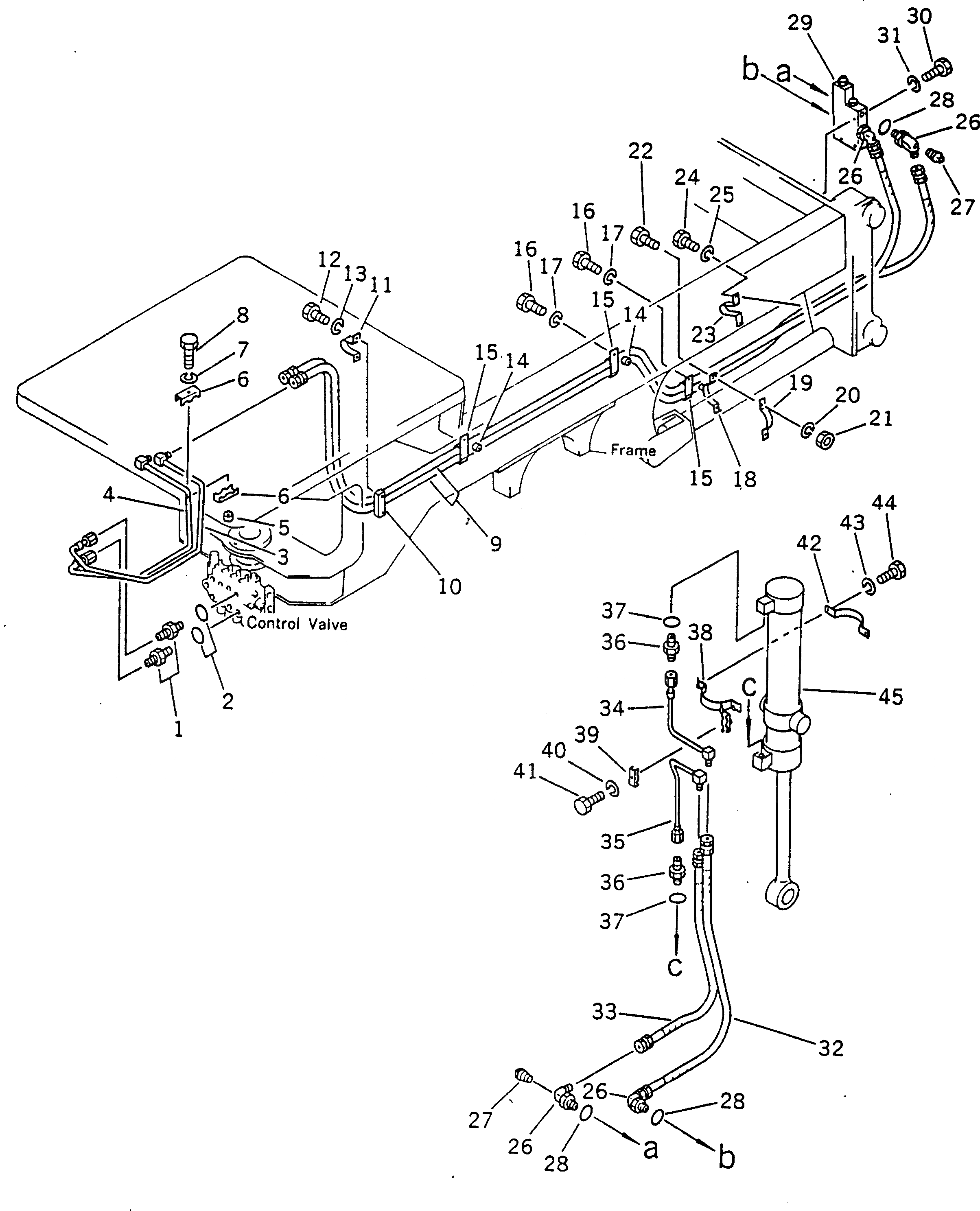
Запчасти Komatsu GD605A-3 ГИДРОЛИНИЯ РЫХЛИТЕЛЯ ОПЦИОННЫЕ КОМПОНЕНТЫ

Схема запчастей Komatsu GD605A-3 - ГИДРОЛИНИЯ РЫХЛИТЕЛЯ ОПЦИОННЫЕ КОМПОНЕНТЫ
FIT
1:1
100%

Артикул

Название

Примечание

Количество

1

232-60-54110

NIPPLE

SN: 57001-UP

2шт.

2

07002-12034

O-RING

SN: 57001-UP

2шт.

3

232-60-69133

TUBE

SN: 57001-UP

1шт.

4

232-60-69143

TUBE

SN: 57001-UP

1шт.

5

01571-00814

SEAT

SN: 57001-UP

1шт.

6

233-60-24370

CLIP

SN: 57001-UP

2шт.

7

01602-21030

WASHER

SN: 57001-UP

1шт.

8

0

BOLT

SN: 57001-UP

1шт.

9

07123-00445

HOSE

SN: 57001-UP

2шт.

10

01573-22311

SEAT

SN: 57001-UP

1шт.

11

232-745-2130

CLIP

SN: 57001-UP

1шт.

12

01010-51220

BOLT

SN: 57001-UP

2шт.

13

01602-21236

WASHER

SN: 57001-UP

2шт.

14

01571-01016

SEAT

SN: 57001-UP

3шт.

15

232-870-9520

CLIP

SN: 57001-UP

3шт.

16

0

BOLT

SN: 57001-UP

3шт.

17

01602-21030

WASHER

SN: 57001-UP

3шт.

18

232-60-64840

BAND

SN: 57001-UP

1шт.

19

232-60-64850

BAND

SN: 57001-UP

1шт.

20

01602-20825

WASHER

SN: 57001-UP

2шт.

21

01580-10806

NUT

SN: 57001-UP

2шт.

22

0

BOLT

SN: 57001-UP

2шт.

23

232-745-2130

CLIP

SN: 57001-UP

1шт.

24

01010-51220

BOLT

SN: 57001-UP

2шт.

25

01602-21236

WASHER

SN: 57001-UP

2шт.

26

07235-50422

ELBOW

SN: 57001-UP

4шт.

27

07042-20108

PLUG

SN: 57001-UP

4шт.

28

07002-12034

O-RING

SN: 57001-UP

4шт.

29

232-60-56400

VALVE ASS'Y

SN: 57001-UP

1шт.

30

01010-50875

BOLT

SN: 57001-UP

3шт.

31

01602-20825

WASHER

SN: 57001-UP

3шт.

32

07123-00411

HOSE

SN: 57001-UP

1шт.

33

07123-00410

HOSE

SN: 57001-UP

1шт.

34

232-785-2120

TUBE

SN: 57001-UP

1шт.

35

232-785-2110

TUBE

SN: 57001-UP

1шт.

36

232-60-14271

NIPPLE

SN: 57001-UP

2шт.

37

07002-12034

O-RING

SN: 57001-UP

2шт.

38

232-785-2130

BAND

SN: 57001-UP

1шт.

39

237-60-14130

CLIP

SN: 57001-UP

1шт.

40

01602-21030

WASHER

SN: 57001-UP

1шт.

41

0

BOLT

SN: 57001-UP

1шт.

42

232-785-2140

BAND

SN: 57001-UP

1шт.

43

01602-21030

WASHER

SN: 57001-UP

2шт.

44

01010-51030

BOLT

SN: 57001-UP

2шт.

45

232-63-25101

CYLINDER ASS'Y

SN: 57001-UP

1шт.

Выбрано товаров: 45