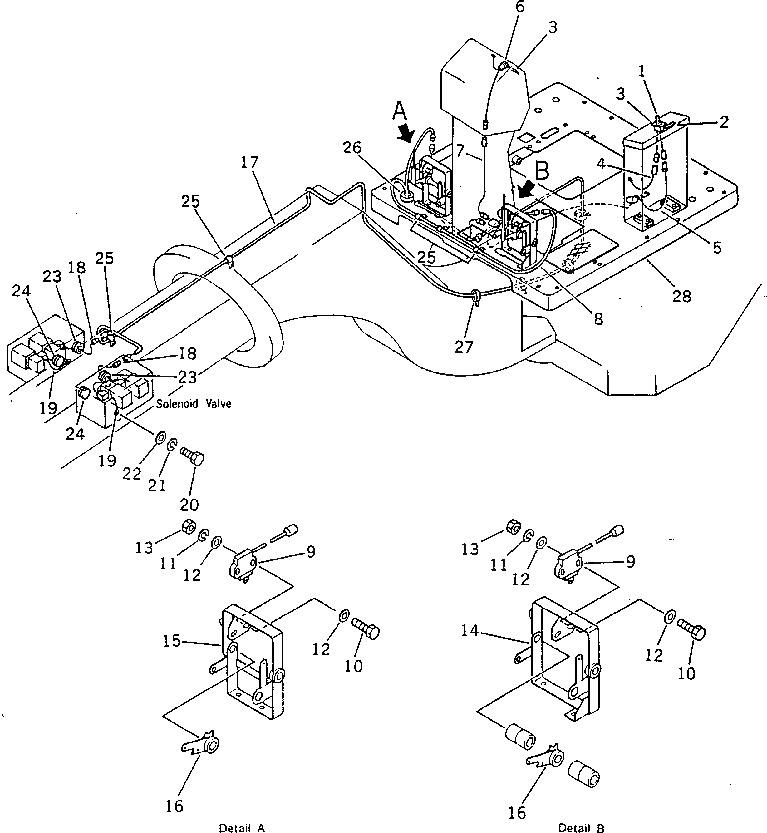
Запчасти Komatsu GD605A-3 ОТВАЛ ПЛАВАЮЩ ЭЛЕКТРОПРОВОДКА ОПЦИОННЫЕ КОМПОНЕНТЫ

Схема запчастей Komatsu GD605A-3 - ОТВАЛ ПЛАВАЮЩ ЭЛЕКТРОПРОВОДКА ОПЦИОННЫЕ КОМПОНЕНТЫ
FIT
1:1
100%

Артикул

Название

Примечание

Количество

1

20N-06-11120

SWITCH

SN: 57001-UP

1шт.

2

232-833-5120

PLATE

SN: 57001-UP

1шт.

3

232-53-62910

PLATE

SN: 57001-UP

2шт.

4

232-06-57660

CABLE

SN: 57001-UP

1шт.

5

232-06-57640

CABLE

SN: 57001-UP

1шт.

6

08147-32402

LAMP

SN: 57001-UP

1шт.

7

232-06-57610

CABLE

SN: 57001-UP

1шт.

8

232-06-57690

HARNESS

SN: 57001-UP

1шт.

9

0

SWITCH

SN: 57001-UP

2шт.

10

0

BOLT

SN: 57001-UP

4шт.

11

01602-21030

WASHER

SN: 57001-UP

4шт.

12

01640-21016

WASHER

SN: 57001-UP

8шт.

13

01580-11008

NUT

SN: 57001-UP

4шт.

14

232-06-57740

BRACKET

SN: 57001-UP

1шт.

15

232-06-57750

BRACKET

SN: 57001-UP

1шт.

16

232-06-57730

LEVER

SN: 57001-UP

2шт.

17

232-06-57630

HARNESS

SN: 57001-UP

1шт.

18

232-06-57620

HARNESS

SN: 57001-UP

2шт.

19

232-06-57720

HARNESS

SN: 57001-UP

2шт.

20

0

BOLT

SN: 57001-UP

2шт.

21

01602-20825

WASHER

SN: 57001-UP

2шт.

22

01640-20816

WASHER

SN: 57001-UP

2шт.

23

08037-02512

GROMMET

SN: 57001-UP

2шт.

24

09415-02512

CAP

SN: 57001-UP

2шт.

25

08036-01414

CLIP

SN: 57001-UP

5шт.

26

08037-03614

GROMMET

SN: 57001-UP

1шт.

27

08034-00519

BAND

SN: 57001-UP

6шт.

28

232-06-57710

FRAME

SN: 57001-UP

1шт.

Выбрано товаров: 28