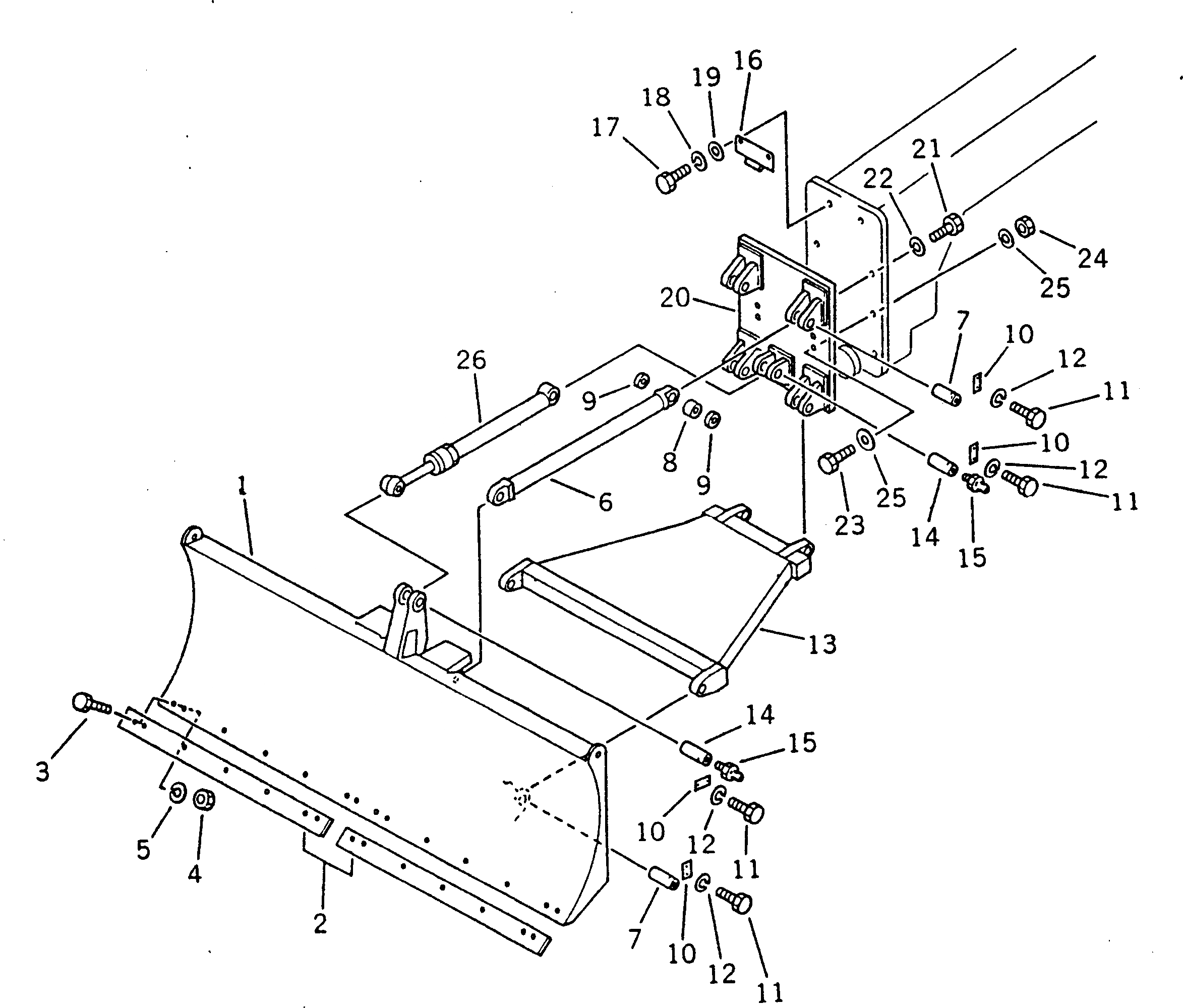
Запчасти Komatsu GD605A-3 ПЕРЕДН. ОТВАЛ ОПЦИОННЫЕ КОМПОНЕНТЫ

Схема запчастей Komatsu GD605A-3 - ПЕРЕДН. ОТВАЛ ОПЦИОННЫЕ КОМПОНЕНТЫ
FIT
1:1
100%

Артикул

Название

Примечание

Количество

1

232-725-1210

BLADE

SN: 57001-UP

1шт.

2

233-971-5120

EDGE

SN: 57001-UP

2шт.

3

232-70-12450

BOLT

SN: 57001-UP

14шт.

4

232-70-12480

NUT

SN: 57001-UP

14шт.

5

01643-31645

WASHER

SN: 57001-UP

14шт.

6

238-725-1150

ROD

SN: 57001-UP

2шт.

7

238-725-1120

PIN

SN: 57001-UP

8шт.

8

238-725-1130

BUSHING

SN: 57001-UP

8шт.

9

238-725-1140

SEAL

SN: 57001-UP

16шт.

10

04082-00212

LOCK

SN: 57001-UP

10шт.

11

01010-51230

BOLT

SN: 57001-UP

20шт.

12

01602-21236

WASHER

SN: 57001-UP

20шт.

13

232-725-1220

FRAME

SN: 57001-UP

1шт.

14

234-870-8130

PIN

SN: 57001-UP

2шт.

15

07020-00000

FITTING

SN: 57001-UP

2шт.

16

232-725-1240

COVER

SN: 57001-UP

1шт.

17

0

BOLT

SN: 57001-UP

2шт.

18

01602-21236

WASHER

SN: 57001-UP

2шт.

19

0

WASHER

SN: 57001-UP

2шт.

20

232-725-1230

BRACKET

SN: 57001-UP

1шт.

21

0

BOLT

SN: 57001-UP

4шт.

22

01643-32460

WASHER

SN: 57001-UP

4шт.

23

01010-52485

BOLT

SN: 57001-UP

2шт.

24

01580-12419

NUT

SN: 57001-UP

2шт.

25

01643-32460

WASHER

SN: 57001-UP

4шт.

26

232-63-33300

CYLINDER ASS'Y

SN: 57001-UP

1шт.

Выбрано товаров: 26