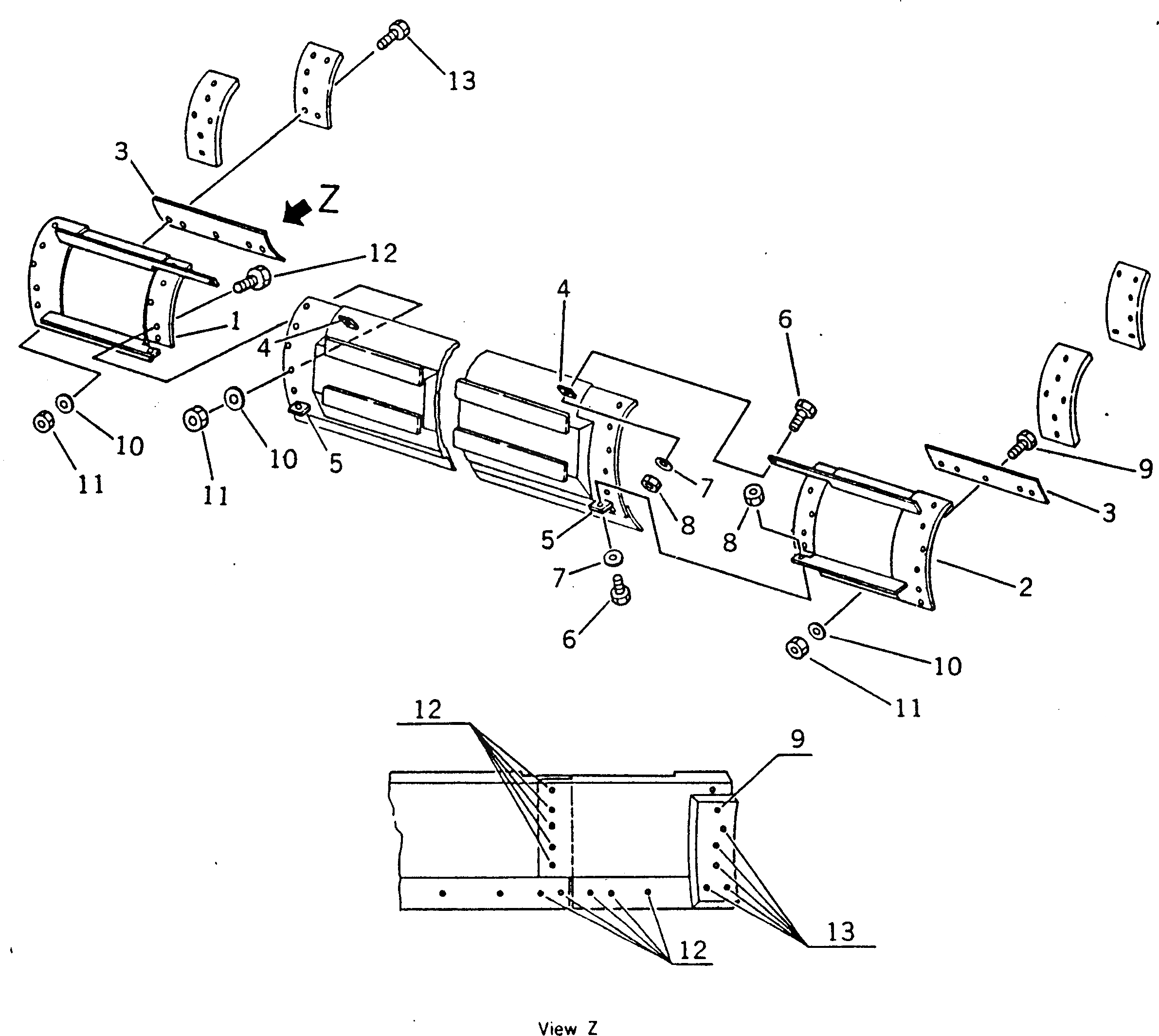
Запчасти Komatsu GD605A-3 EXTENSION ОТВАЛ(№7-7) ОПЦИОННЫЕ КОМПОНЕНТЫ

Схема запчастей Komatsu GD605A-3 - EXTENSION ОТВАЛ(№7-7) ОПЦИОННЫЕ КОМПОНЕНТЫ
FIT
1:1
100%

Артикул

Название

Примечание

Количество

|$0

232-755-0010

EXTENTION BLADE

SN: 57001-57026

1шт.

|$1

232-755-0020

EXTENTION BLADE

SN: 57027-UP

1шт.

1

232-755-1120

BLADE

SN: 57001-UP

1шт.

2

232-755-1130

BLADE

SN: 57001-UP

1шт.

3

232-70-52930

EDGE

SN: 57001-UP

2шт.

4

238-755-1140

PLATE

SN: 57001-57026

2шт.

4

238-755-1141

PLATE

SN: 57027-UP

2шт.

5

238-755-1150

PLATE

SN: 57001-UP

2шт.

6

0

BOLT

SN: 57001-UP

4шт.

7

01643-31645

WASHER

SN: 57001-UP

4шт.

8

01580-11613

NUT

SN: 57001-UP

4шт.

9

232-70-12470

BOLT

SN: 57001-UP

2шт.

10

01643-31645

WASHER

SN: 57001-UP

32шт.

11

232-70-12480

NUT

SN: 57001-UP

32шт.

12

232-70-12450

BOLT

SN: 57001-UP

20шт.

13

232-70-12460

BOLT

SN: 57001-UP

10шт.

Выбрано товаров: 16