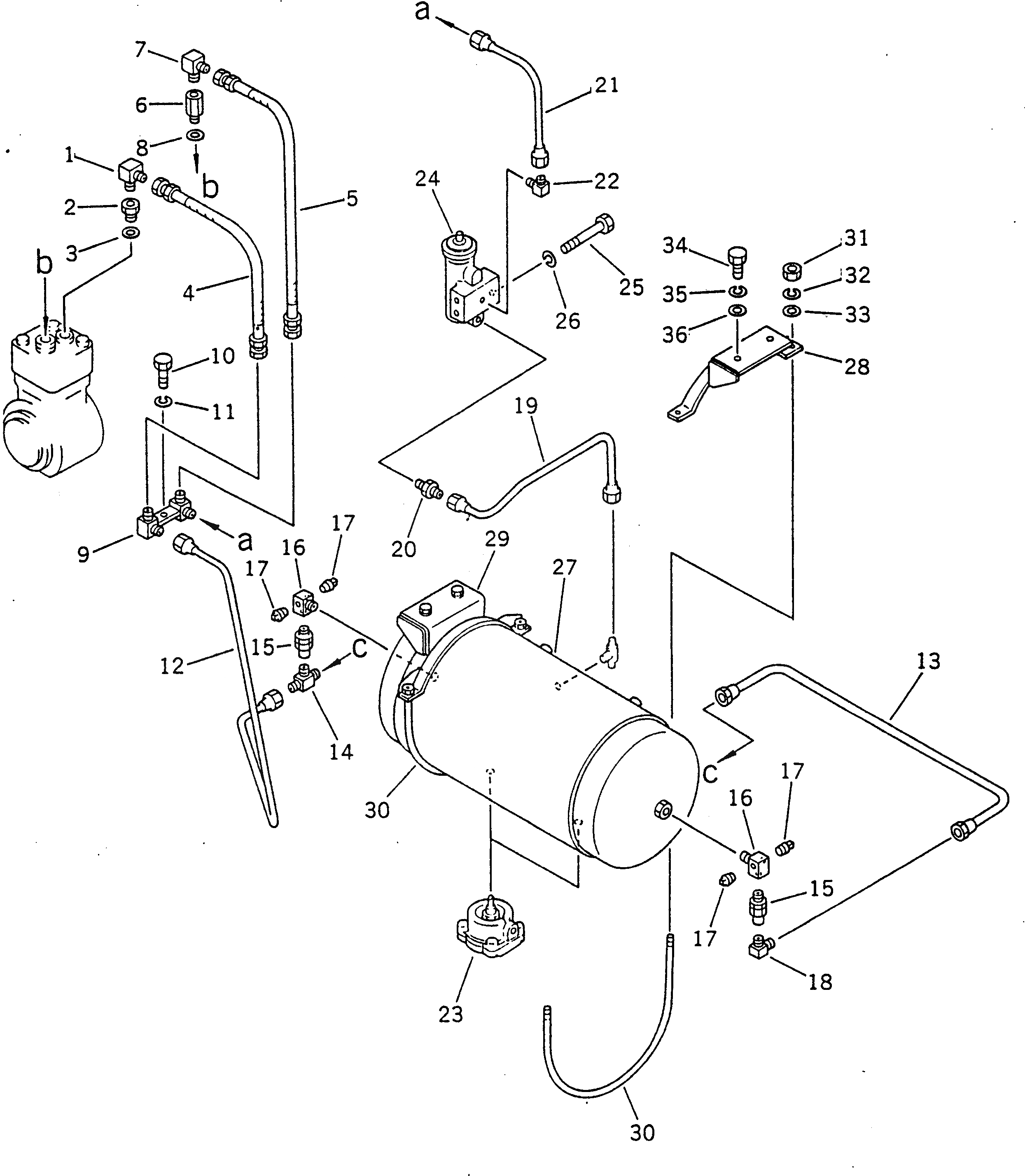
Запчасти Komatsu GD605A-3 ТОРМОЗНАЯ ГИДРОЛИНИЯ КОЛЕСА

Схема запчастей Komatsu GD605A-3 - ТОРМОЗНАЯ ГИДРОЛИНИЯ КОЛЕСА
FIT
1:1
100%

Артикул

Название

Примечание

Количество

1

232-44-52450

ELBOW

SN: 57001-UP

1шт.

2

113-899-6820

NIPPLE

SN: 57001-UP

1шт.

3

07005-02416

GASKET

SN: 57001-UP

1шт.

4

07102-20405

HOSE

SN: 57001-UP

1шт.

5

07102-20406

HOSE

SN: 57001-UP

1шт.

6

232-44-62110

NIPPLE

SN: 57001-UP

1шт.

7

232-44-52450

ELBOW

SN: 57001-UP

1шт.

8

07005-01412

GASKET

SN: 57001-UP

1шт.

9

0

JOINT

SN: 57001-UP

1шт.

10

0

BOLT

SN: 57001-UP

1шт.

11

01602-21236

WASHER

SN: 57001-UP

1шт.

12

232-44-54490

TUBE

SN: 57001-.

1шт.

12

232-44-54491

TUBE

SN: .-UP

1шт.

13

232-44-54480

TUBE

SN: 57001-UP

1шт.

14

238-44-11460

TEE

SN: 57001-UP

1шт.

15

234-44-11242

VALVE ASS'Y

SN: 57001-UP

2шт.

16

232-44-54720

ELBOW

SN: 57001-UP

2шт.

17

07042-20211

PLUG

SN: 57001-UP

4шт.

18

232-44-52270

ELBOW

SN: 57001-UP

1шт.

19

232-44-54350

TUBE

SN: 57001-UP

1шт.

20

232-44-52320

NIPPLE

SN: 57001-UP

1шт.

21

232-44-54360

TUBE

SN: 57001-UP

1шт.

22

238-44-11350

ELBOW

SN: 57001-UP

1шт.

23

232-44-53510

VALVE

SN: 57001-UP

2шт.

24

232-44-52610

GOVERNOR ASS'Y,AIR

SN: 57001-UP

1шт.

25

0

BOLT

SN: 57001-UP

1шт.

26

01602-20825

WASHER

SN: 57001-UP

2шт.

27

234-44-11114

TANK

SN: 57001-UP

1шт.

28

232-44-54830

SUPPORT

SN: 57001-UP

1шт.

29

232-44-54820

SUPPORT

SN: 57001-UP

1шт.

30

232-44-54810

U-BOLT

SN: 57001-UP

2шт.

31

01580-11008

NUT

SN: 57001-UP

4шт.

32

01602-21030

WASHER

SN: 57001-UP

4шт.

33

0

WASHER

SN: 57001-UP

4шт.

34

01010-51030

BOLT

SN: 57001-UP

4шт.

35

01602-21030

WASHER

SN: 57001-UP

4шт.

36

0

WASHER

SN: 57001-UP

4шт.

Выбрано товаров: 37