Запчасти Komatsu GD605A-3 ТОПЛИВН. БАК. AND ТОПЛИВОПРОВОД. КОМПОНЕНТЫ ДВИГАТЕЛЯ И ЭЛЕКТРИКА

Схема запчастей Komatsu GD605A-3 - ТОПЛИВН. БАК. AND ТОПЛИВОПРОВОД. КОМПОНЕНТЫ ДВИГАТЕЛЯ И ЭЛЕКТРИКА
FIT
1:1
100%

Артикул

Название

Примечание

Количество

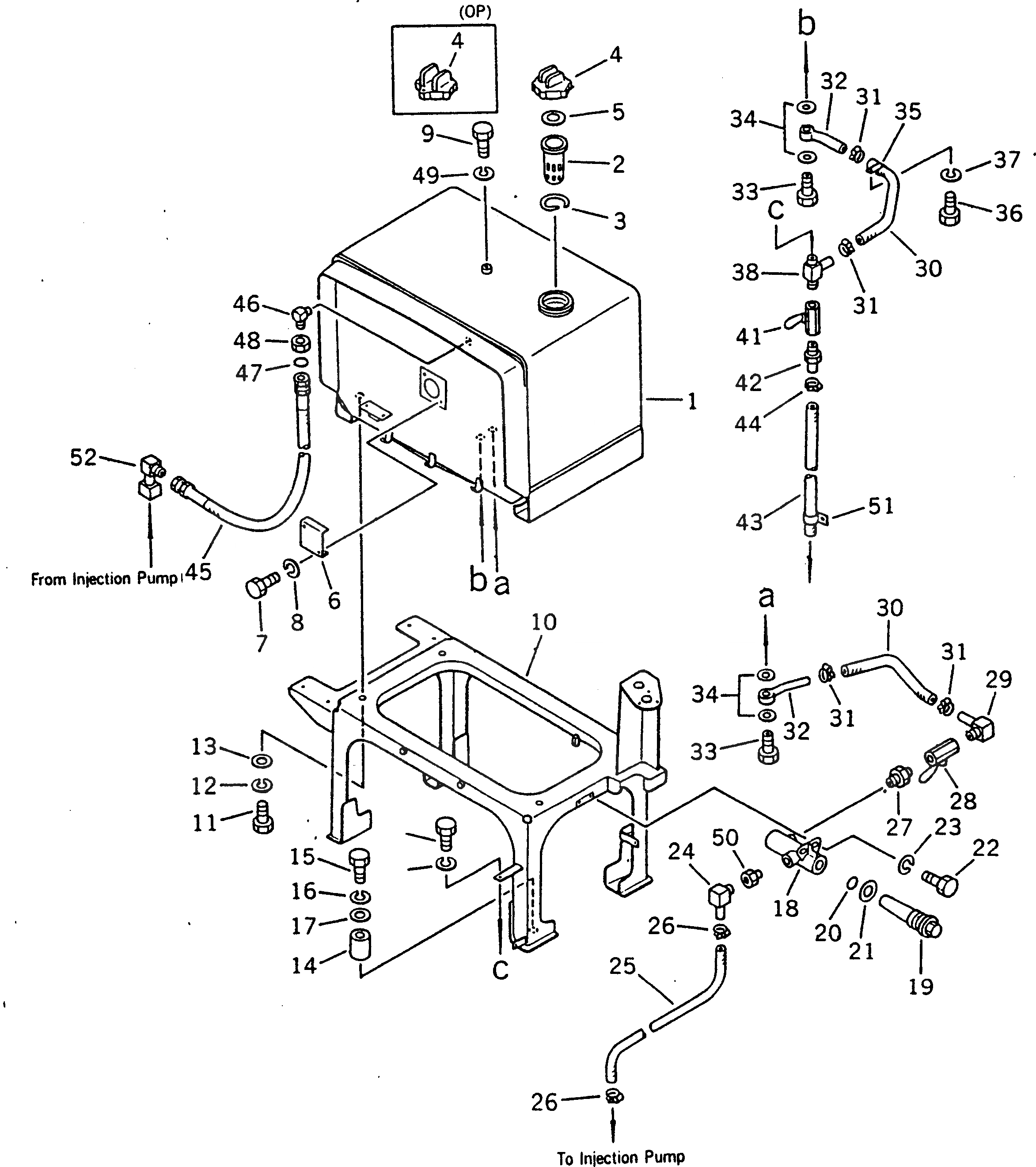
1

232-04-61111

TANK

SN: 57001-UP

1шт.

2

238-04-12130

STRAINER

SN: 57001-UP

1шт.

3

07057-04087

RING

SN: 57001-UP

1шт.

4

07050-21200

CAP

SN: 57001-UP

1шт.

4

0

CAP (OP)

SN: 57001-UP

1шт.

5

07050-30002

GASKET

SN: 57001-UP

1шт.

6

237-04-11210

COVER

SN: 57001-UP

1шт.

7

0

BOLT

SN: 57001-UP

2шт.

8

01602-20619

WASHER

SN: 57001-UP

2шт.

9

01010-51220

BOLT

SN: 57001-UP

1шт.

10

0

BRACKET

SN: 57001-UP

1шт.

11

0

BOLT

SN: 57001-UP

4шт.

12

01602-21648

WASHER

SN: 57001-UP

4шт.

13

01643-31645

WASHER

SN: 57001-UP

4шт.

14

238-04-11140

SPACER

SN: 57001-UP

4шт.

15

0

BOLT

SN: 57001-57015

4шт.

15

0

BOLT

SN: 57016-UP

4шт.

16

01602-21648

WASHER

SN: 57001-UP

4шт.

17

0

WASHER

SN: 57001-UP

4шт.

17

0

STRAINER ASS'Y

SN: 57001-UP

1шт.

18

154-04-12510

CASE

SN: 57001-UP

1шт.

19

0

STRAINER

SN: 57001-UP

1шт.

20

07000-13038

O-RING

SN: 57001-UP

2шт.

21

01640-20816

WASHER

SN: 57001-UP

1шт.

22

01010-50816

BOLT

SN: 57001-UP

2шт.

23

01602-20825

WASHER

SN: 57001-UP

2шт.

24

232-04-52320

NIPPLE

SN: 57001-UP

1шт.

25

07261-20911

HOSE

SN: 57001-UP

1шт.

26

07280-01010

CLAMP

SN: 57001-UP

2шт.

27

232-04-52350

NIPPLE

SN: 57001-UP

1шт.

28

07700-40460

VALVE

SN: 57001-UP

1шт.

29

232-04-52320

NIPPLE

SN: 57001-57012

2шт.

29

232-04-52320

NIPPLE

SN: 57013-UP

1шт.

30

07260-20956

HOSE

SN: 57001-UP

2шт.

31

07281-00197

CLAMP

SN: 57001-UP

4шт.

32

238-04-12110

TUBE

SN: 57001-UP

2шт.

33

07206-31014

BOLT

SN: 57001-UP

2шт.

34

07005-01412

GASKET

SN: 57001-UP

4шт.

35

08036-01814

CLIP

SN: 57001-UP

1шт.

36

0

BOLT

SN: 57001-UP

1шт.

37

01602-01030

WASHER

SN: 57001-UP

1шт.

38

232-04-61190

NIPPLE

SN: 57001-UP

1шт.

39

01010-50816

BOLT

SN: 57001-UP

1шт.

40

01602-20825

WASHER

SN: 57001-UP

1шт.

41

07700-40460

VALVE

SN: 57001-UP

1шт.

42

232-04-52340

NIPPLE

SN: 57001-UP

1шт.

43

236-04-21190

CLIP

SN: 57001-UP

1шт.

44

0

TUBE

SN: (57001-)

1шт.

45

07102-20312

HOSE

SN: 57001-UP

1шт.

46

07231-20315

ELBOW

SN: 57001-UP

1шт.

47

07002-12034

O-RING

SN: 57001-UP

1шт.

48

07239-12009

NUT

SN: 57001-UP

1шт.

49

01602-21236

WASHER

SN: 57001-UP

1шт.

50

232-04-61120

BRACKET

SN: 57001-UP

1шт.

51

08036-01814

CLIP

SN: 57001-UP

1шт.

52

232-04-61170

ELBOW

SN: 57001-UP

1шт.

Выбрано товаров: 56