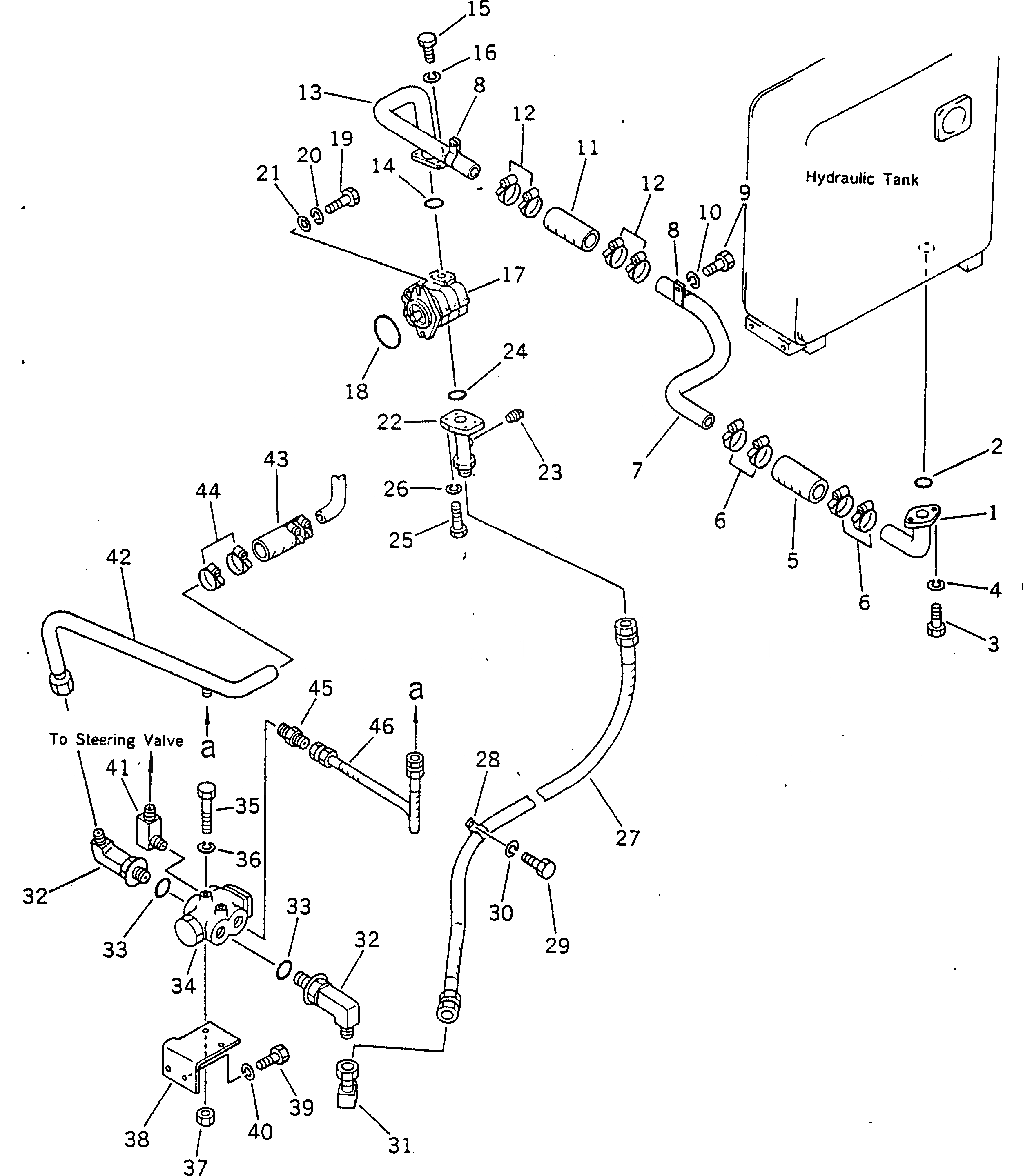
Запчасти Komatsu GD605A-3 ГИДРАВЛИКА РУЛ. УПРАВЛЕНИЯ СИСТЕМА УПРАВЛЕНИЯ

Схема запчастей Komatsu GD605A-3 - ГИДРАВЛИКА РУЛ. УПРАВЛЕНИЯ СИСТЕМА УПРАВЛЕНИЯ
FIT
1:1
100%

Артикул

Название

Примечание

Количество

1

232-40-58110

TUBE

SN: 57001-UP

1шт.

2

07000-13035

O-RING (KIT)

SN: 57001-UP

1шт.

3

01010-51025

BOLT

SN: 57001-UP

2шт.

4

01602-21030

WASHER

SN: 57001-UP

2шт.

5

07260-23214

HOSE

SN: 57001-UP

1шт.

6

07281-00489

CLAMP

SN: 57001-UP

4шт.

7

232-40-68111

TUBE

SN: 57001-UP

1шт.

8

232-40-58130

CLIP

SN: 57001-UP

2шт.

9

01010-50816

BOLT

SN: 57001-UP

2шт.

10

01602-20825

WASHER

SN: 57001-UP

2шт.

11

07260-23214

HOSE

SN: 57001-UP

1шт.

12

07281-00489

CLAMP

SN: 57001-UP

4шт.

13

232-40-68121

TUBE

SN: 57001-UP

1шт.

14

07000-13032

O-RING (KIT)

SN: 57001-UP

1шт.

15

01010-51030

BOLT

SN: 57001-UP

4шт.

16

01602-21030

WASHER

SN: 57001-UP

4шт.

17

705-12-28010

PUMP ASS'Y

SN: 57001-UP

4шт.

18

07000-12085

O-RING (KIT)

SN: 57001-UP

1шт.

19

01010-51030

BOLT

SN: 57001-UP

2шт.

20

01602-21030

WASHER

SN: 57001-UP

2шт.

21

01643-31032

WASHER

SN: 57001-UP

2шт.

22

232-40-58390

TUBE

SN: 57001-UP

1шт.

23

07042-20108

PLUG

SN: 57001-UP

1шт.

24

07000-13025

O-RING (KIT)

SN: 57001-UP

1шт.

25

0

BOLT

SN: 57001-UP

4шт.

26

01602-20825

WASHER

SN: 57001-UP

4шт.

27

07108-20616

HOSE

SN: 57001-UP

1шт.

28

238-16-11250

CLIP (KIT)

SN: 57001-UP

1шт.

29

0

BOLT

SN: 57001-UP

1шт.

30

01602-21030

WASHER

SN: 57001-UP

1шт.

31

232-40-58740

ELBOW

SN: 57001-UP

1шт.

32

232-40-58270

ELBOW

SN: 57001-UP

2шт.

33

238-40-16140

O-RING (KIT)

SN: 57001-UP

2шт.

34

232-40-57500

VALVE ASS'Y

SN: 57001-UP

1шт.

35

0

BOLT

SN: 57001-UP

2шт.

36

01602-20619

WASHER

SN: 57001-UP

2шт.

37

01580-10605

NUT

SN: 57001-UP

2шт.

38

232-40-58690

PLATE

SN: 57001-UP

1шт.

39

01010-51025

BOLT

SN: 57001-UP

2шт.

40

01602-21030

WASHER

SN: 57001-UP

2шт.

41

238-40-16160

ELBOW

SN: 57001-UP

2шт.

42

232-40-58350

TUBE

SN: 57001-UP

1шт.

43

07260-22616

HOSE

SN: 57001-UP

1шт.

44

07281-00419

CLAMP

SN: 57001-UP

4шт.

45

07238-00315

CONNECTOR

SN: 57001-UP

1шт.

46

07102-20306

HOSE

SN: 57001-UP

1шт.

Выбрано товаров: 46