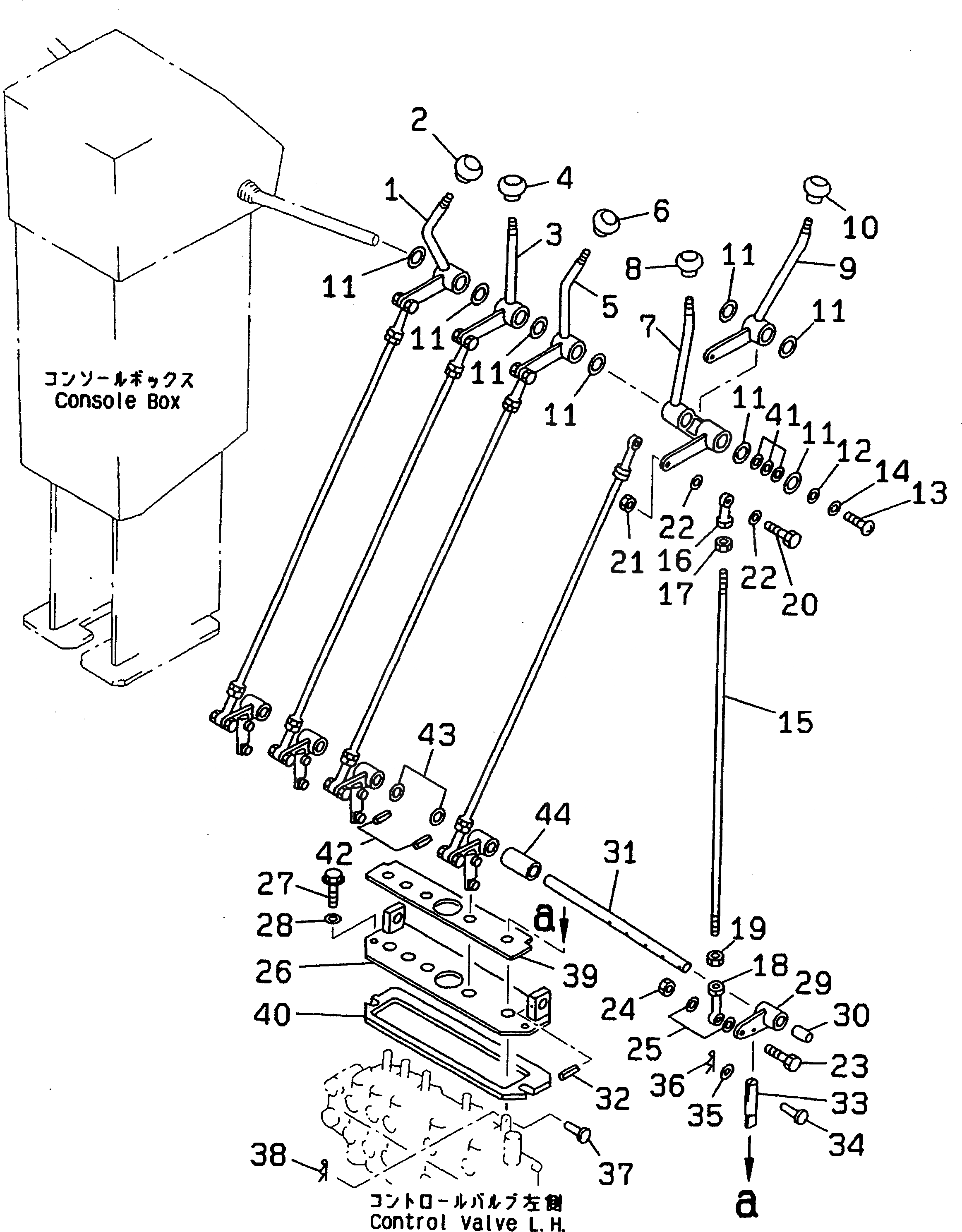
Запчасти Komatsu GD605A-5 ГИДРАВЛ РЫЧАГ УПРАВЛ-Я¤ ЛЕВ.(№-) СИСТЕМА УПРАВЛЕНИЯ

Схема запчастей Komatsu GD605A-5 - ГИДРАВЛ РЫЧАГ УПРАВЛ-Я¤ ЛЕВ.(№-) СИСТЕМА УПРАВЛЕНИЯ
FIT
1:1
100%

Артикул

Название

Примечание

Количество

1

23B-43-18980

LEVER,ARTICULATE

SN: 1501-1600

1шт.

2

237-43-00100

KNOB ASS'Y,ARTICULATE

SN: 1001-@

1шт.

|2

237-43-17490

KNOB

SN: 1001-@

1шт.

|2

237-54-13260

PLATE¤ OPERATING

SN: 1001-@

1шт.

3

23B-43-18970

LEVER,DRAWBAR SHIFT

SN: 1501-1600

1шт.

4

237-43-00120

KNOB ASS'Y,DRAWBAR SHIFT

SN: 1501-1600

1шт.

|4

237-43-17480

KNOB

SN: 1001-@

1шт.

|4

237-54-13230

PLATE¤ OPERATING

SN: 1501-1600

1шт.

5

23B-43-18921

LEVER,SCARIFIER

SN: 1501-1600

1шт.

6

237-43-00090

KNOB ASS'Y,SCARIFIER

SN: 1001-1600

1шт.

|6

237-43-17480

KNOB

SN: 1001-@

1шт.

|6

237-43-13270

PLATE¤ OPERATING

SN: 1001-1600

1шт.

7

23B-43-18931

LEVER,CIRCLE REVERSE

SN: 1501-1600

1шт.

8

237-43-00070

KNOB ASS'Y,CIRCLE REVERSE

SN: 1001-1600

1шт.

|8

237-43-17480

KNOB

SN: 1001-@

1шт.

|8

237-54-13250

PLATE¤ OPERATING

SN: 1001-1600

1шт.

9

23B-43-18911

LEVER,BLADE LIFT

SN: 1501-1600

1шт.

10

237-43-00080

KNOB ASS'Y,BLADE LIFT

SN: 1001-1600

1шт.

|10

237-43-17480

KNOB

SN: 1001-@

1шт.

|10

237-43-13210

PLATE

SN: 1001-1600

1шт.

11

237-43-17420

WASHER

SN: 1501-@

8шт.

12

23A-43-18190

WASHER

SN: 1002-@

1шт.

13

01220-40816

SCREW

SN: 1001-@

1шт.

14

01643-30823

WASHER

SN: 1001-@

1шт.

15

23A-43-18710

ROD

SN: 1501-1600

5шт.

16

04250-40847

END,ROD

SN: 1501-@

5шт.

17

01580-10806

NUT

SN: 1001-@

5шт.

18

04250-60847

END,ROD¤ L.H. THREAD

SN: 1501-@

5шт.

19

01508-20805

NUT,L.H. THREAD

SN: 1001-@

5шт.

20

235-43-18380

BOLT

SN: 1001-@

5шт.

21

01580-10806

NUT

SN: 1501-@

5шт.

22

04254-10823

SPACER

SN: 1501-@

10шт.

23

235-43-18380

BOLT

SN: 1501-@

5шт.

24

01580-10806

NUT

SN: 1501-@

5шт.

25

04254-10823

SPACER

SN: 1501-@

10шт.

26

23D-43-21180

BRACKET

SN: 1501-1600

1шт.

27

01435-01040

BOLT

SN: 1501-1600

2шт.

28

01643-31232

WASHER

SN: 1501-@

2шт.

29

23D-43-21390

LEVER

SN: 1501-1600

5шт.

30

234-43-38440

BUSHING

SN: 1501-1600

5шт.

31

23D-43-21531

SHAFT

SN: 1501-@

1шт.

32

04025-00532

PIN,SPRING

SN: 1501-@

1шт.

33

23D-43-21370

ROD

SN: 1501-1600

5шт.

34

04205-10618

PIN

SN: 1501-@

5шт.

35

01641-20608

WASHER

SN: 1001-@

5шт.

36

04052-10530

PIN,SNAP

SN: 1501-@

5шт.

37

235-43-18440

PIN

SN: 1501-1600

5шт.

38

233-43-27750

PIN,SNAP

SN: 1501-@

5шт.

39

23D-43-21670

COVER

SN: 1501-1600

1шт.

40

23A-43-18720

PLATE

SN: 1501-1600

1шт.

41

232-43-00320

SHIM ASS'Y

SN: 1002-@

1шт.

|41

0

SHIM¤ 0.2MM

SN: 1002-@

6шт.

|41

0

SHIM¤ 0.5MM

SN: 1002-@

4шт.

42

04025-00524

PIN,SPRING

SN: 1501-@

2шт.

43

01643-51645

WASHER

SN: 1501-@

2шт.

44

23D-43-21430

COLLAR

SN: 1501-@

1шт.

Выбрано товаров: 56