Запчасти Komatsu GD605A-5 ТОПЛИВН. И ГИДР. БАК. (С ЗАДН. КРЫЛО)(№-) КОМПОНЕНТЫ ДВИГАТЕЛЯ И ЭЛЕКТРИКА

Схема запчастей Komatsu GD605A-5 - ТОПЛИВН. И ГИДР. БАК. (С ЗАДН. КРЫЛО)(№-) КОМПОНЕНТЫ ДВИГАТЕЛЯ И ЭЛЕКТРИКА
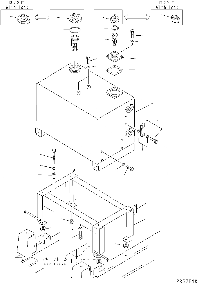
1
2
3
4
5
5
6
7
8
9
10
11
12
12
13
14
15
16
17
18
19
19
20
20
21
22
23
24
25
26
FIT
1:1
100%

Артикул

Название

Примечание

Количество

1

23B-04-11193

TANK ASS'Y

SN: 1601-UP

1шт.

2

01010-51625

BOLT

SN: 1601-UP

2шт.

3

01640-21626

WASHER

SN: 1601-UP

2шт.

4

238-04-12130

STRAINER

SN: 1601-UP

1шт.

5

07050-21200

CAP

SN: 1601-UP

1шт.

|5

07091-21200

CAP,(WITH LOCK)

SN: 1601-UP

1шт.

6

07050-21202

GASKET

SN: 1601-UP

1шт.

7

23A-04-11340

FILLER

SN: 1601-UP

1шт.

8

232-60-68141

PACKING

SN: 1601-UP

1шт.

9

01010-51020

BOLT

SN: 1601-UP

4шт.

10

01643-31032

WASHER

SN: 1601-UP

4шт.

11

07056-10045

STRAINER

SN: 1601-UP

1шт.

12

07051-20000

CAP

SN: 1601-UP

1шт.

|12

07092-00000

CAP,(WITH LOCK)

SN: 1601-UP

1шт.

13

07051-00003

GASKET

SN: 1601-UP

1шт.

14

23A-60-13500

GAUGE

SN: 1601-UP

1шт.

15

07005-01012

GASKET

SN: 1601-UP

4шт.

|16

23B-54-00090

BRACKET ASS'Y

SN: 1601-UP

1шт.

16

23B-04-11210

BRACKET

SN: 1601-UP

1шт.

17

23B-54-25320

BRACKET,L.H. (WELDED)

SN: 1601-UP

1шт.

|17

23B-54-25310

BRACKET,R.H. (WELDED)

SN: 1601-UP

1шт.

18

238-04-11140

SPACER

SN: 1601-UP

4шт.

19

23B-04-11440

SPACER

SN: 1601-UP

2шт.

20

23B-04-12210

SPACER

SN: 1601-UP

2шт.

21

01011-51630

BOLT

SN: 1601-UP

4шт.

22

01643-31645

WASHER

SN: 1601-UP

4шт.

23

01010-51650

BOLT

SN: 1601-UP

4шт.

24

01643-31645

WASHER

SN: 1601-UP

4шт.

25

01010-50610

BOLT

SN: 1601-UP

8шт.

26

01643-30623

WASHER

SN: 1601-UP

8шт.

Выбрано товаров: 30