Запчасти Komatsu GD605A-5 ЗАДН. КРЫЛО(№-) РАМА И ЧАСТИ КОРПУСА

Схема запчастей Komatsu GD605A-5 - ЗАДН. КРЫЛО(№-) РАМА И ЧАСТИ КОРПУСА
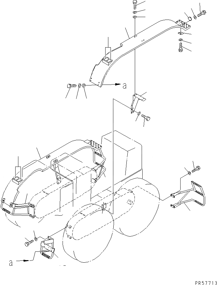
1
2
3
4
5
6
7
8
9
10
11
12
13
14
14
15
15
16
16
17
17
18
18
19
20
21
22
22
FIT
1:1
100%

Артикул

Название

Примечание

Количество

1

23B-25-11521

FENDER,L.H.

SN: .-UP

1шт.

|1

0

FENDER,L.H.

SN: 1601-.

1шт.

2

23B-25-11531

FENDER,R.H.

SN: .-UP

1шт.

|2

0

FENDER,R.H.

SN: 1601-.

1шт.

3

08170-10001

REFLECTOR

SN: 1601-UP

2шт.

4

01010-80612

BOLT

SN: 1601-UP

4шт.

5

01643-30623

WASHER

SN: 1601-UP

4шт.

6

23D-23-11890

LOCK

SN: 1601-UP

2шт.

7

01010-81020

BOLT

SN: 1601-UP

4шт.

8

01643-31032

WASHER

SN: 1601-UP

4шт.

9

23B-972-1321

BRACKET

SN: 1601-UP

2шт.

10

01010-81435

BOLT

SN: 1601-UP

8шт.

11

01643-31445

WASHER

SN: 1601-UP

8шт.

12

23B-972-1370

BRACKET,L.H.

SN: 1601-UP

1шт.

13

23B-972-1380

BRACKET,R.H.

SN: 1601-UP

1шт.

14

01010-81240

BOLT

SN: 1601-UP

16шт.

15

01643-31232

WASHER

SN: 1601-UP

16шт.

16

01010-81230

BOLT

SN: 1601-UP

16шт.

17

01643-31232

WASHER

SN: 1601-UP

16шт.

18

01640-21223

WASHER

SN: 1601-UP

16шт.

19

23B-25-21343

GUARD

SN: 1611-UP

1шт.

|19

23B-25-21342

GUARD

SN: 1601-1610

1шт.

20

23B-25-21333

GUARD

SN: 1611-UP

1шт.

|20

23B-25-21332

GUARD

SN: 1601-1610

1шт.

21

234-25-31890

PLATE

SN: 1601-UP

2шт.

22

23F-53-11210

SEAT

SN: 1601-UP

4шт.

Выбрано товаров: 26