Запчасти Komatsu GD605A-5 КАБИНА ОПЕРАТОРА (/) (ОСНОВН. КОНСТРУКЦИЯ И WIRE СТУПЕНИ)(№-) РАМА И ЧАСТИ КОРПУСА

Схема запчастей Komatsu GD605A-5 - КАБИНА ОПЕРАТОРА (/) (ОСНОВН. КОНСТРУКЦИЯ И WIRE СТУПЕНИ)(№-) РАМА И ЧАСТИ КОРПУСА
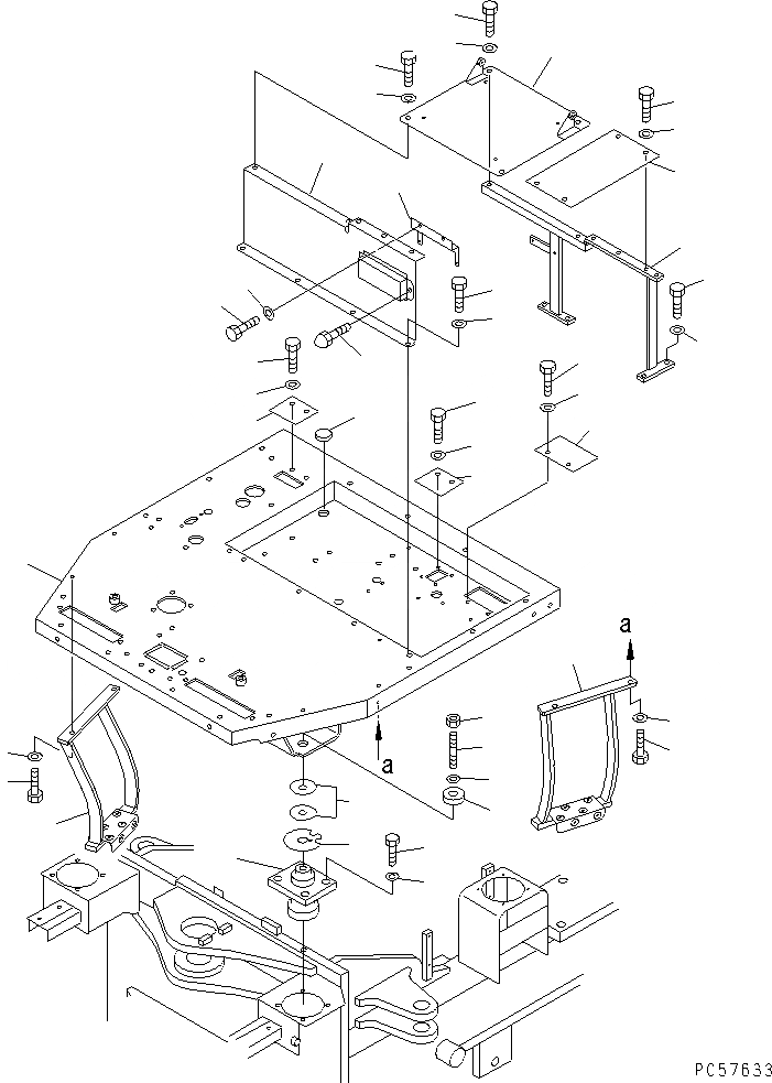
1
2
3
4
5
6
7
8
9
10
11
12
13
13
14
14
14
15
15
15
16
17
18
19
20
21
22
23
24
25
26
27
28
28
28
29
29
29
30
30
31
31
32
32
FIT
1:1
100%

Артикул

Название

Примечание

Количество

1

23A-54-26111

FRAME,FLOOR

SN: 1601-UP

1шт.

2

09415-02520

CAP

SN: 1601-UP

1шт.

3

14X-54-17550

VISCOUS MOUNT

SN: 1601-UP

4шт.

4

01010-51030

BOLT

SN: 1601-UP

16шт.

5

01643-31032

WASHER

SN: 1601-UP

16шт.

6

237-01-00020

SHIM ASS'Y

SN: 1001-UP

1шт.

|6

0

SHIM¤ 0.2MM

SN: 1001-UP

3шт.

|6

0

SHIM¤ 0.5MM

SN: 1001-UP

3шт.

7

234-54-51430

PLATE

SN: 1601-UP

4шт.

8

234-54-51470

COLLAR

SN: 1001-UP

4шт.

9

234-54-11480

PLATE

SN: 1001-UP

4шт.

10

01124-51645

STUD

SN: 1601-UP

4шт.

11

01580-11613

NUT

SN: 1601-UP

4шт.

12

23B-54-12180

PLATE

SN: 1001-UP

1шт.

13

23B-54-12170

PLATE

SN: 1601-UP

2шт.

14

01010-51225

BOLT

SN: 1601-UP

6шт.

15

01643-31232

WASHER

SN: 1601-UP

6шт.

16

23D-54-13541

BRACKET

SN: 1601-UP

1шт.

17

01010-51225

BOLT

SN: 1601-UP

4шт.

18

01643-31232

WASHER

SN: 1601-UP

4шт.

19

23D-54-13511

BRACKET

SN: 1601-UP

1шт.

20

01010-51225

BOLT

SN: 1601-UP

4шт.

21

01643-31232

WASHER

SN: 1601-UP

4шт.

22

01232-10620

SCREW

SN: 1601-UP

1шт.

23

23D-06-12540

BRACKET

SN: 1601-UP

1шт.

24

01010-50820

BOLT

SN: 1601-UP

2шт.

25

01643-30823

WASHER

SN: 1601-UP

2шт.

26

23D-54-13531

PLATE

SN: 1601-UP

1шт.

27

23D-54-13561

PLATE

SN: 1601-UP

1шт.

28

01010-51220

BOLT

SN: 1601-UP

8шт.

29

01643-31232

WASHER

SN: 1601-UP

8шт.

30

23B-54-16780

STEP,L.H.

SN: 1609-UP

1шт.

|30

234-46-41810

STEP,L.H.

SN: 1601-1608

1шт.

|30

23B-54-16790

STEP,R.H.

SN: 1609-UP

1шт.

|30

234-46-41820

STEP,R.H.

SN: 1601-1608

1шт.

31

01010-51230

BOLT

SN: 1001-UP

4шт.

32

01643-31232

WASHER

SN: 1001-UP

4шт.

Выбрано товаров: 37