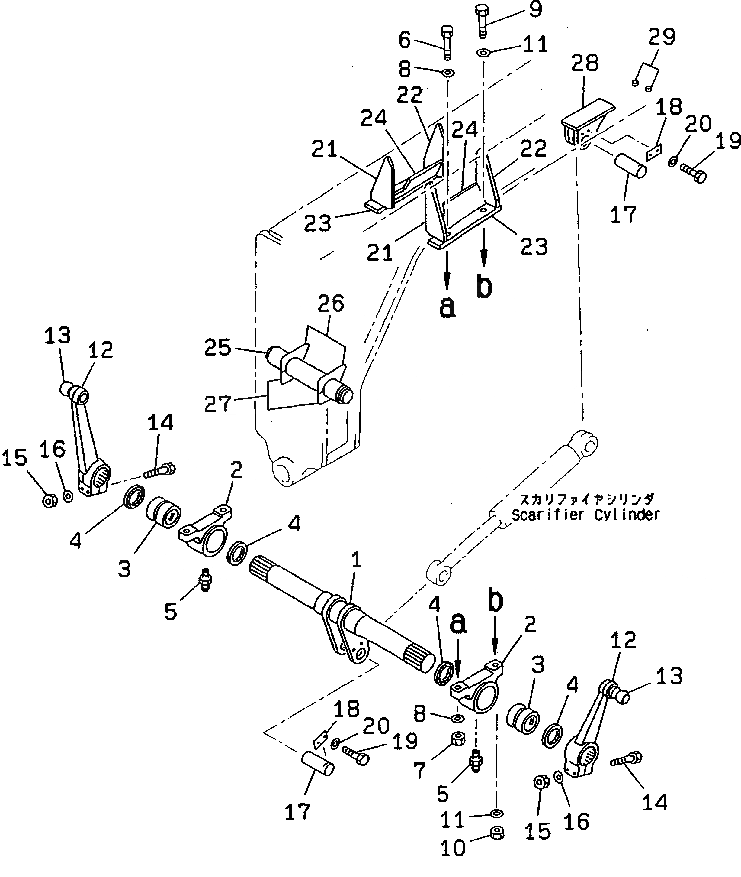
Запчасти Komatsu GD605A-5 SCARIFIER ПОДЪЕМ РАБОЧЕЕ ОБОРУДОВАНИЕ

Схема запчастей Komatsu GD605A-5 - SCARIFIER ПОДЪЕМ РАБОЧЕЕ ОБОРУДОВАНИЕ
FIT
1:1
100%

Артикул

Название

Примечание

Количество

1

23B-71-11210

SHAFT

SN: 1001-UP

1шт.

2

23B-71-11190

SUPPORT

SN: 1001-UP

2шт.

3

23B-71-11280

BUSHING

SN: 1001-UP

2шт.

4

07145-00090

SEAL,DUST

SN: 1001-UP

4шт.

5

07020-00000

FITTING,GREASE

SN: 1001-UP

2шт.

6

01019-32000

BOLT

SN: 1001-UP

2шт.

7

01580-12016

NUT

SN: 1001-UP

2шт.

8

01643-32060

WASHER

SN: 1001-UP

4шт.

9

01091-52000

BOLT

SN: 1001-UP

2шт.

10

01582-12016

NUT

SN: 1001-UP

2шт.

11

01643-32060

WASHER

SN: 1001-UP

4шт.

12

232-71-52210

ARM

SN: 1001-UP

2шт.

13

232-70-13120

STUD,BALL (WELDED)

SN: 1001-UP

1шт.

14

01011-51610

BOLT

SN: 1001-UP

4шт.

15

01580-11613

NUT

SN: 1001-UP

4шт.

16

01643-51645

WASHER

SN: 1024-UP

4шт.

|16

0

WASHER

SN: 1001-1023

4шт.

17

236-46-13460

PIN

SN: 1001-UP

2шт.

18

04082-00212

LOCK

SN: 1001-UP

2шт.

19

01010-51225

BOLT

SN: 1001-UP

4шт.

20

01643-31232

WASHER

SN: 1001-UP

4шт.

|21

23B-46-00030

FRAME ASS'Y

SN: 1001-UP

1шт.

21

23B-71-11350

PLATE (WELDED)

SN: 1001-UP

2шт.

22

23B-71-11420

PLATE (WELDED)

SN: 1001-UP

2шт.

23

23B-71-11430

PLATE,L.H. (WELDED)

SN: 1001-UP

1шт.

|23

23B-71-11410

PLATE,R.H. (WELDED)

SN: 1001-UP

1шт.

24

23B-71-11380

PLATE (WELDED)

SN: 1001-UP

2шт.

25

23B-71-11260

BOSS (WELDED)

SN: 1001-UP

1шт.

26

23B-71-11360

PLATE (WELDED)

SN: 1001-UP

2шт.

27

23B-71-11370

PLATE (WELDED)

SN: 1001-UP

2шт.

28

23B-71-11130

BRACKET (WELDED)

SN: 1001-UP

1шт.

29

01571-00814

SEAT (WELDED)

SN: 1001-UP

2шт.

Выбрано товаров: 32