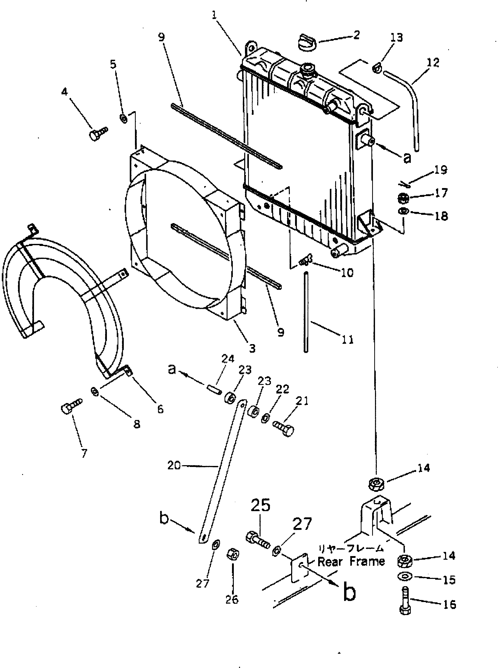
Запчасти Komatsu GD605A-5 РАДИАТОР(№-) КОМПОНЕНТЫ ДВИГАТЕЛЯ И ЭЛЕКТРИКА

Схема запчастей Komatsu GD605A-5 - РАДИАТОР(№-) КОМПОНЕНТЫ ДВИГАТЕЛЯ И ЭЛЕКТРИКА
FIT
1:1
100%

Артикул

Название

Примечание

Количество

|1

23B-03-14101

RADIATOR ASS'Y

SN: 1501-1600

1шт.

1

23B-03-14211

CORE

SN: 1501-1600

1шт.

2

205-03-71280

CAP ASS'Y

SN: 1045-@

1шт.

3

23B-03-14220

SHROUD

SN: 1045-@

1шт.

4

01010-50820

BOLT

SN: 1045-@

6шт.

5

01643-30823

WASHER

SN: 1045-@

6шт.

6

23B-03-14230

NET,WIRE

SN: 1045-1600

1шт.

7

01010-50820

BOLT

SN: 1045-@

4шт.

8

01643-30823

WASHER

SN: 1045-@

4шт.

9

23A-03-21440

PACKING

SN: 1501-@

2шт.

10

205-03-62660

PLUG

SN: 1501-@

1шт.

11

23B-03-14430

PIPE,DRAIN

SN: 1501-@

1шт.

12

23B-03-14350

HOSE

SN: 1045-@

1шт.

13

07281-00137

CLAMP

SN: 1045-@

1шт.

14

23A-03-21160

CUSHION

SN: 1045-@

4шт.

15

236-03-21190

WASHER

SN: 1045-@

2шт.

16

01012-51480

BOLT

SN: 1045-@

2шт.

17

01590-11416

NUT

SN: 1045-@

2шт.

18

01643-31445

WASHER

SN: 1045-@

2шт.

19

04050-13028

PIN,COTTER

SN: 1045-@

2шт.

20

23A-03-21150

PLATE

SN: 1045-@

2шт.

21

01010-51250

BOLT

SN: 1045-@

2шт.

22

232-43-58360

WASHER

SN: 1045-@

2шт.

23

23A-03-21170

CUSHION

SN: 1045-@

4шт.

24

273-956-2190

COLLAR

SN: 1045-@

2шт.

25

01010-51645

BOLT

SN: 1045-@

2шт.

26

01580-11613

NUT

SN: 1045-@

2шт.

27

01643-31645

WASHER

SN: 1045-@

4шт.

Выбрано товаров: 28