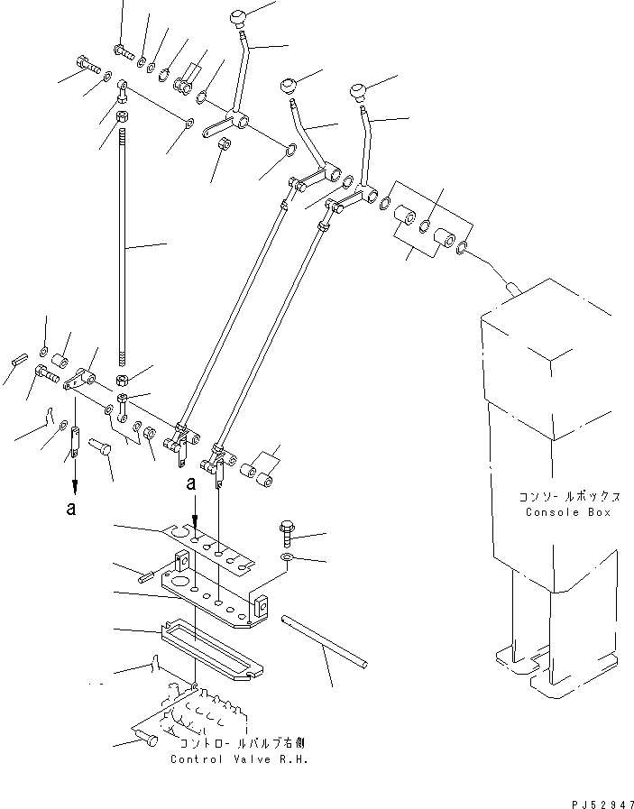
Запчасти Komatsu GD605A-5S ГИДРАВЛ РЫЧАГ УПРАВЛ-Я¤ ПРАВ.(№-9) СИСТЕМА УПРАВЛЕНИЯ

Схема запчастей Komatsu GD605A-5S - ГИДРАВЛ РЫЧАГ УПРАВЛ-Я¤ ПРАВ.(№-9) СИСТЕМА УПРАВЛЕНИЯ
1
2
3
4
5
6
7
8
8
8
8
8
9
10
11
12
13
14
15
16
17
18
19
20
20
21
22
23
24
25
26
27
28
29
30
31
32
33
34
35
36
37
38
39
40
41
FIT
1:1
100%

Артикул

Название

Примечание

Количество

1

23B-43-18951

LEVER,BLADE SIDE SHIFT

SN: 4501-4629

1шт.

2

237-43-00060

KNOB ASS'Y,BLADE SIDE SHIFT

SN: 4001-4629

1шт.

|2

237-43-17480

KNOB

SN: 4001-@

1шт.

|2

237-43-13230

PLATE¤ OPERATING

SN: 4001-4629

1шт.

3

23B-43-18941

LEVER,LEANING

SN: 4501-4629

1шт.

4

237-43-00120

KNOB ASS'Y,LEANING

SN: 4001-4629

1шт.

|4

237-43-17490

KNOB

SN: 4001-@

1шт.

|4

237-54-13220

PLATE¤ OPERATING

SN: 4001-4629

1шт.

5

23B-43-18961

LEVER,BLADE LIFT

SN: 4501-4629

1шт.

6

237-43-00080

KNOB ASS'Y,BLADE LIFT

SN: 4001-4629

1шт.

|6

237-43-17480

KNOB

SN: 4001-@

1шт.

|6

237-54-13210

PLATE¤ OPERATING

SN: 4001-4629

1шт.

7

237-43-17440

COLLAR

SN: 4001-4629

2шт.

8

237-43-17420

WASHER

SN: 4501-4629

7шт.

9

232-43-00320

SHIM ASS'Y

SN: 4003-@

1шт.

|9

0

SHIM¤ 0.2MM

SN: 4003-@

6шт.

|9

0

SHIM¤ 0.5MM

SN: 4003-@

4шт.

10

23A-43-18190

WASHER

SN: 4003-@

1шт.

11

01220-40816

SCREW

SN: 4001-@

1шт.

12

01643-30823

WASHER

SN: 4001-@

1шт.

13

23A-43-18710

ROD

SN: 4501-4629

3шт.

14

04250-40847

END,ROD

SN: 4501-@

3шт.

15

01580-10806

NUT

SN: 4001-@

3шт.

16

04250-60847

END,ROD¤ L.H. THREAD

SN: 4501-@

3шт.

17

01508-20805

NUT,L.H. THREAD

SN: 4001-4629

3шт.

18

235-43-18380

BOLT

SN: 4501-@

3шт.

19

01580-10806

NUT

SN: 4501-@

3шт.

20

04254-10823

SPACER

SN: 4501-@

6шт.

21

235-43-18380

BOLT

SN: 4501-@

3шт.

22

01580-10806

NUT

SN: 4501-4629

3шт.

23

04254-10823

SPACER

SN: 4501-@

6шт.

24

23D-43-21190

BRACKET

SN: 4501-4629

1шт.

25

23D-43-21720

COVER

SN: 4525-4629

1шт.

|25

23D-43-21680

COVER

SN: 4501-4524

1шт.

26

23A-43-18730

PLATE

SN: 4501-4629

1шт.

27

01435-01040

BOLT

SN: 4501-4629

2шт.

28

01643-31232

WASHER

SN: 4501-@

2шт.

29

23D-43-21390

LEVER

SN: 4501-4629

3шт.

30

234-43-38440

BUSHING

SN: 4501-4629

3шт.

31

23D-43-21430

COLLAR

SN: 4501-@

2шт.

32

04025-00524

PIN,SPRING

SN: 4501-@

1шт.

33

23D-43-21541

SHAFT

SN: 4501-@

1шт.

34

04025-00524

PIN,SPRING

SN: 4501-@

1шт.

35

23D-43-21370

ROD

SN: 4501-4629

3шт.

36

04205-10618

PIN

SN: 4501-@

3шт.

37

01641-20608

WASHER

SN: 4001-@

3шт.

38

04052-10530

PIN,SNAP

SN: 4501-@

3шт.

39

235-43-18440

PIN

SN: 4501-4629

3шт.

40

233-43-27750

PIN,SNAP

SN: 4501-@

3шт.

41

01643-31645

WASHER

SN: 4501-@

1шт.

Выбрано товаров: 50