Запчасти Komatsu GD605A-5S ПОДОГРЕВ WIRE СТЕКЛА ЭЛЕКТРОПРОВОДКА(№-7) РАМА И ЧАСТИ КОРПУСА

Схема запчастей Komatsu GD605A-5S - ПОДОГРЕВ WIRE СТЕКЛА ЭЛЕКТРОПРОВОДКА(№-7) РАМА И ЧАСТИ КОРПУСА
1
2
3
4
4
4
4
4
4
5
5
5
6
6
6
7
8
8
8
9
9
9
10
FIT
1:1
100%

Артикул

Название

Примечание

Количество

1

23D-950-2340

HARNESS

SN: 4501-4700

1шт.

2

23D-950-2230

CABLE

SN: 4501-4700

1шт.

3

23D-950-2350

CABLE

SN: 4501-4700

1шт.

4

08501-22504

SWITCH,FRONT LOWER

SN: 4501-4700

1шт.

5

08501-22505

SWITCH,DOOR

SN: 4501-4700

1шт.

6

08504-10000

CAP

SN: 4501-4700

2шт.

7

23D-53-11550

PLATE¤ NAME

SN: 4501-4650

1шт.

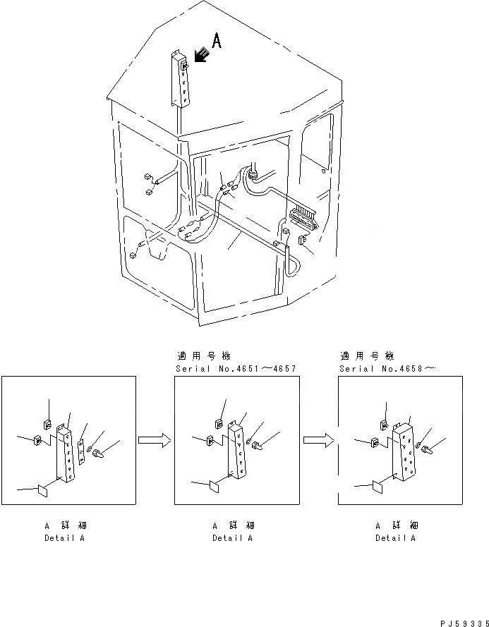
8

23D-950-1782

BOX

SN: 4658-4700

1шт.

|8

23D-950-1761

BOX

SN: 4651-4657

1шт.

|8

23D-950-1780

BOX

SN: 4501-4650

1шт.

9

23D-53-11540

PLATE¤ CAUTION

SN: 4501-4700

1шт.

10

23B-06-12520

FUSE¤ 20A

SN: 4501-4700

2шт.

Выбрано товаров: 12