Запчасти Komatsu GD605A-5S КОНДИЦ. ВОЗДУХА (/) (КОНДЕНСАТОР И ЭЛЕМЕНТЫ КРЕПЛЕНИЯ)(№-) РАМА И ЧАСТИ КОРПУСА

Схема запчастей Komatsu GD605A-5S - КОНДИЦ. ВОЗДУХА (/) (КОНДЕНСАТОР И ЭЛЕМЕНТЫ КРЕПЛЕНИЯ)(№-) РАМА И ЧАСТИ КОРПУСА
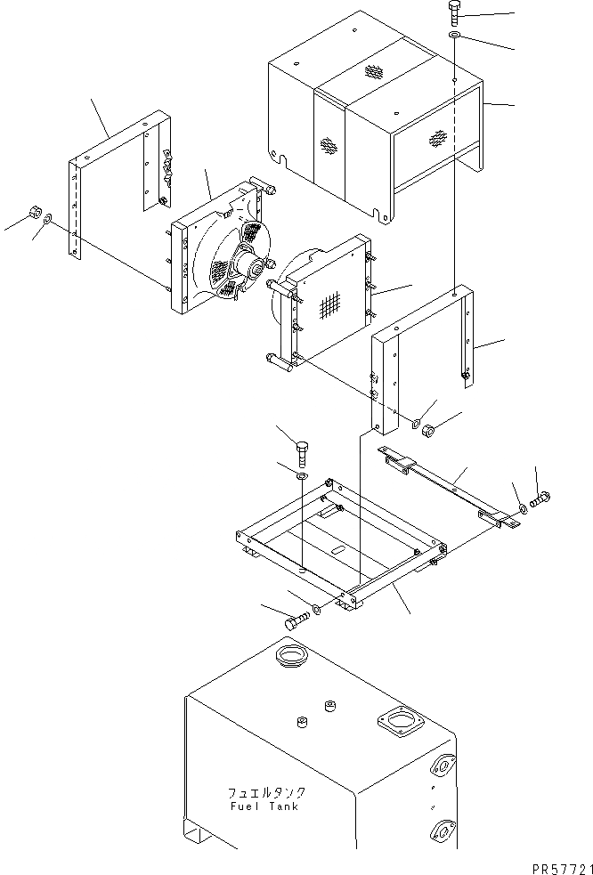
1
1
2
2
3
3
4
4
5
6
7
8
9
10
11
12
13
14
15
FIT
1:1
100%

Артикул

Название

Примечание

Количество

1

421-07-21530

CONDENSER ASS'Y

SN: 4630-UP

2шт.

2

01580-10806

NUT

SN: 4630-UP

8шт.

3

01643-30823

WASHER

SN: 4630-UP

8шт.

4

23D-809-3630

BRACKET

SN: 4630-UP

2шт.

5

01010-51020

BOLT

SN: 4630-UP

4шт.

6

01643-31032

WASHER

SN: 4630-UP

4шт.

7

23D-809-3471

COVER

SN: 4630-UP

1шт.

8

01010-51018

BOLT

SN: 4630-UP

8шт.

9

01643-31032

WASHER

SN: 4630-UP

8шт.

10

23D-809-3482

BRACKET

SN: 4630-UP

1шт.

11

01010-51625

BOLT

SN: 4630-UP

2шт.

12

01643-31645

WASHER

SN: 4630-UP

2шт.

13

23B-809-3360

BRACKET

SN: 4630-UP

1шт.

14

01220-40816

SCREW

SN: 4630-UP

4шт.

15

01643-30823

WASHER

SN: 4630-UP

4шт.

Выбрано товаров: 15