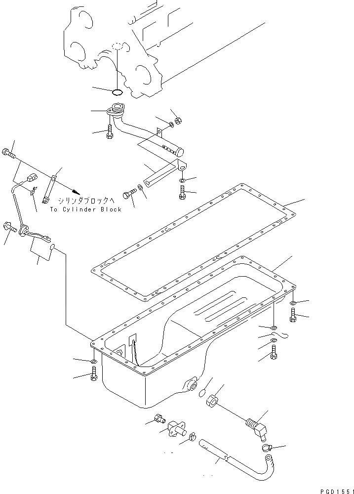
Запчасти Komatsu 6D125E-2J-S5 МАСЛЯНЫЙ ПОДДОН И ВСАСЫВАЮЩИЙ ПАТРУБОК(№8-) ДВИГАТЕЛЬ

Схема запчастей Komatsu 6D125E-2J-S5 - МАСЛЯНЫЙ ПОДДОН И ВСАСЫВАЮЩИЙ ПАТРУБОК(№8-) ДВИГАТЕЛЬ
1
2
3
4
5
5
6
7
8
9
10
11
12
13
14
15
15
16
17
18
19
20
21
22
23
24
25
25
26
27
28
29
30
1
2
3
4
5
5
6
7
8
9
10
11
12
13
14
15
15
16
17
18
19
20
21
22
23
24
25
25
26
27
28
29
30
FIT
1:1
100%

Артикул

Название

Примечание

Количество

1

6150-21-5141

PAN,OIL

SN: 64850-UP

1шт.

2

6150-21-5812

GASKET (K2)

SN: 64850-UP

1шт.

3

01010-81025

BOLT

SN: 64850-UP

29шт.

4

01010-81030

BOLT

SN: 64850-UP

6шт.

5

01640-21016

WASHER

SN: 64850-UP

35шт.

6

6130-22-5290

CLIP

SN: 64850-UP

1шт.

7

01010-81030

BOLT

SN: 64850-UP

1шт.

8

01643-31032

WASHER

SN: 64850-UP

1шт.

9

01640-21016

WASHER

SN: 64850-UP

1шт.

|10

6151-51-6610

HOSE ASS'Y

SN: 64850-UP

1шт.

10

421-01-11180

ELBOW

SN: 64850-UP

1шт.

11

01583-13621

NUT

SN: 64850-UP

1шт.

12

421-01-11263

TUBE

SN: 64850-UP

1шт.

13

424-01-11110

PLUG

SN: 64850-UP

1шт.

14

07260-22060

HOSE

SN: 64850-UP

1шт.

15

07281-00359

CLAMP

SN: 64850-UP

2шт.

16

07002-23634

O-RING (K2)

SN: 64850-UP

1шт.

17

6150-51-6210

STRAINER,OIL

SN: 64850-UP

1шт.

18

07000-73045

O-RING (K2)

SN: 81514-UP

1шт.

|18

0

O-RING (K2)

SN: 64850-81513

1шт.

19

01010-81025

BOLT

SN: 64850-UP

2шт.

20

6150-51-6220

BRACKET

SN: 64850-UP

1шт.

21

01010-81020

BOLT

SN: 64850-UP

1шт.

22

01640-01016

WASHER

SN: 64850-UP

1шт.

23

01010-81020

BOLT

SN: 64850-UP

1шт.

24

01580-01008

NUT

SN: 64850-UP

1шт.

25

01640-01016

WASHER

SN: 64850-UP

2шт.

26

7861-92-4210

SENSOR,OIL LEVEL

SN: 64850-UP

1шт.

|26

7861-91-4220

O-RING (K2)

SN: 64850-UP

1шт.

27

01435-00612

BOLT

SN: 81514-UP

3шт.

|27

0

BOLT

SN: 64850-81513

3шт.

28

08053-01510

CLIP

SN: 64850-UP

1шт.

29

01010-81020

BOLT

SN: 64850-UP

2шт.

30

421-62-11940

PLATE

SN: 64850-UP

1шт.

1

6150-21-5141

PAN,OIL

SN: 64850-UP

1шт.

2

6150-21-5812

GASKET (K2)

SN: 64850-UP

1шт.

3

01010-81025

BOLT

SN: 64850-UP

29шт.

4

01010-81030

BOLT

SN: 64850-UP

6шт.

5

01640-21016

WASHER

SN: 64850-UP

35шт.

6

6130-22-5290

CLIP

SN: 64850-UP

1шт.

7

01010-81030

BOLT

SN: 64850-UP

1шт.

8

01643-31032

WASHER

SN: 64850-UP

1шт.

9

01640-21016

WASHER

SN: 64850-UP

1шт.

|10

6151-51-6610

HOSE ASS'Y

SN: 64850-UP

1шт.

10

421-01-11180

ELBOW

SN: 64850-UP

1шт.

11

01583-13621

NUT

SN: 64850-UP

1шт.

12

421-01-11263

TUBE

SN: 64850-UP

1шт.

13

424-01-11110

PLUG

SN: 64850-UP

1шт.

14

07260-22060

HOSE

SN: 64850-UP

1шт.

15

07281-00359

CLAMP

SN: 64850-UP

2шт.

16

07002-23634

O-RING (K2)

SN: 64850-UP

1шт.

17

6150-51-6210

STRAINER,OIL

SN: 64850-UP

1шт.

18

07000-73045

O-RING (K2)

SN: 81514-UP

1шт.

|18

0

O-RING (K2)

SN: 64850-81513

1шт.

19

01010-81025

BOLT

SN: 64850-UP

2шт.

20

6150-51-6220

BRACKET

SN: 64850-UP

1шт.

21

01010-81020

BOLT

SN: 64850-UP

1шт.

22

01640-01016

WASHER

SN: 64850-UP

1шт.

23

01010-81020

BOLT

SN: 64850-UP

1шт.

24

01580-01008

NUT

SN: 64850-UP

1шт.

25

01640-01016

WASHER

SN: 64850-UP

2шт.

26

7861-92-4210

SENSOR,OIL LEVEL

SN: 64850-UP

1шт.

|26

7861-91-4220

O-RING (K2)

SN: 64850-UP

1шт.

27

01435-00612

BOLT

SN: 81514-UP

3шт.

|27

0

BOLT

SN: 64850-81513

3шт.

28

08053-01510

CLIP

SN: 64850-UP

1шт.

29

01010-81020

BOLT

SN: 64850-UP

2шт.

30

421-62-11940

PLATE

SN: 64850-UP

1шт.

Выбрано товаров: 68