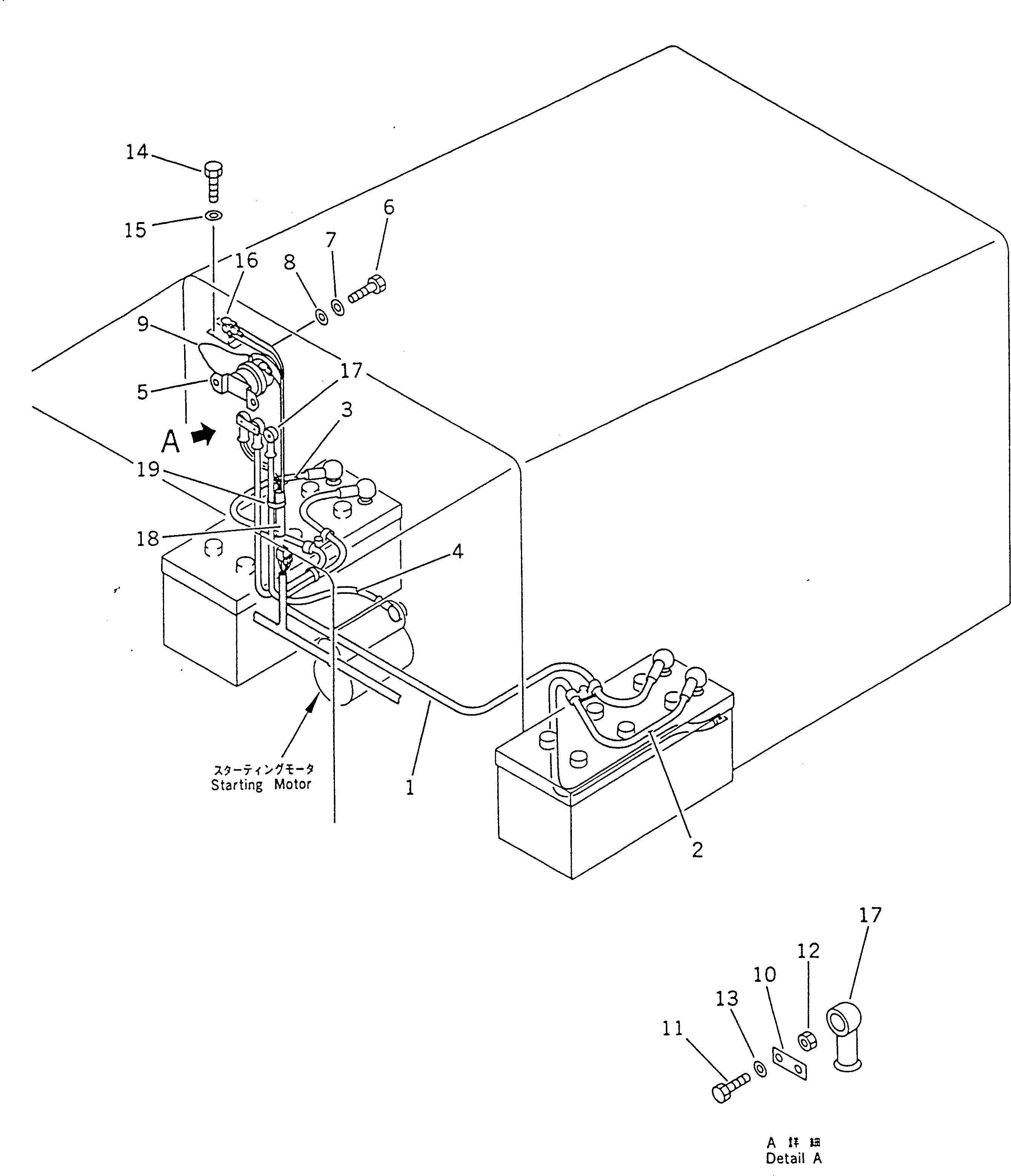
Запчасти Komatsu GD611A-1 ЭЛЕКТРИКА (ЛИНИЯ АККУМУЛЯТОРА) КОМПОНЕНТЫ ДВИГАТЕЛЯ И ЭЛЕКТРИКА

Схема запчастей Komatsu GD611A-1 - ЭЛЕКТРИКА (ЛИНИЯ АККУМУЛЯТОРА) КОМПОНЕНТЫ ДВИГАТЕЛЯ И ЭЛЕКТРИКА
FIT
1:1
100%

Артикул

Название

Примечание

Количество

1

23A-06-11290

WIRE

SN: 10001-UP

1шт.

2

23A-06-11360

WIRE

SN: 10001-UP

1шт.

3

23A-06-11310

HARNESS

SN: 10001-UP

1шт.

4

23A-06-11280

WIRE

SN: 10001-UP

1шт.

5

22W-06-13220

SWITCH,BATTERY

SN: 10001-UP

1шт.

6

01010-50830

BOLT

SN: 10001-UP

2шт.

7

01643-30823

WASHER

SN: 10001-UP

2шт.

8

01641-20812

WASHER

SN: 10001-UP

3шт.

9

237-06-11510

WIRE

SN: 10001-UP

1шт.

10

234-06-32240

PLATE

SN: 10001-UP

1шт.

11

01010-50820

BOLT

SN: 10001-UP

1шт.

12

01580-10806

NUT

SN: 10001-UP

1шт.

13

01643-30823

WASHER

SN: 10001-UP

1шт.

14

01010-50614

BOLT

SN: 10001-UP

2шт.

15

01643-30623

WASHER

SN: 10001-UP

2шт.

16

08038-00519

CAP

SN: 10001-UP

4шт.

17

232-06-11960

CAP

SN: 10001-UP

4шт.

18

23B-06-13420

WIRE ASS'Y

SN: 10018-UP

1шт.

18

23B-06-11450

WIRE ASS'Y

SN: 10001-10017

1шт.

19

08034-00519

BAND

SN: 10001-UP

2шт.

Выбрано товаров: 20