Запчасти Komatsu GD621A-1 ГИДРАВЛ. ФИЛЬТР(№-) ГИДРАВЛИКА

Схема запчастей Komatsu GD621A-1 - ГИДРАВЛ. ФИЛЬТР(№-) ГИДРАВЛИКА
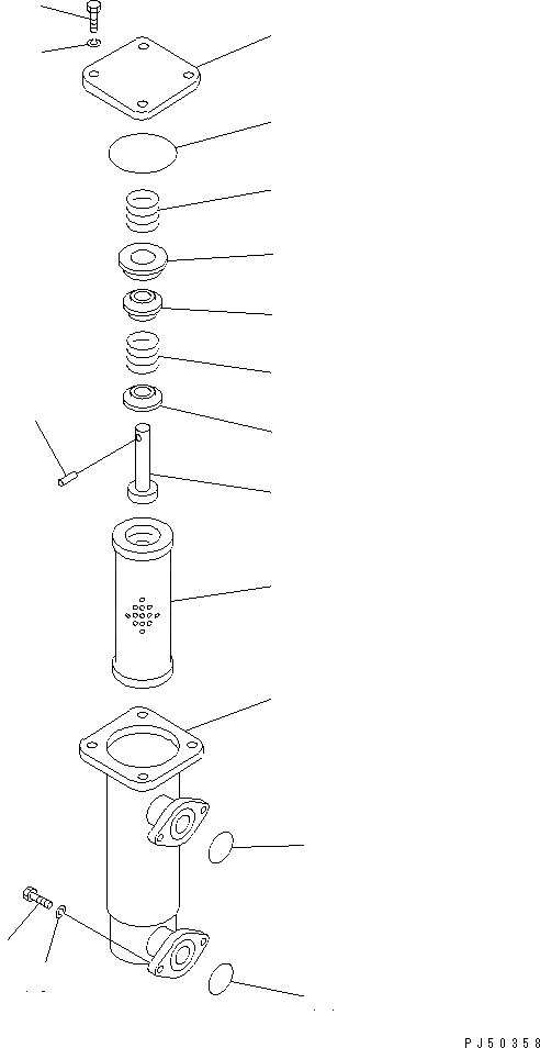
1
2
3
4
5
6
7
8
9
10
11
12
13
14
14
15
16
FIT
1:1
100%

Артикул

Название

Примечание

Количество

|$0

23A-60-13600

FILTER ASS'Y

SN: 10001-10025

1шт.

1

23A-60-13610

HOUSING

SN: 10001-@

1шт.

2

07063-01054

ELEMENT

SN: 10001-@

1шт.

3

102-60-15180

SHAFT

SN: 10001-10025

1шт.

4

102-60-15240

SEAT

SN: 10001-10025

1шт.

5

102-60-15230

SPRING

SN: 10001-10025

1шт.

6

102-60-15220

VALVE

SN: 10001-10025

1шт.

7

23A-60-13630

SEAT

SN: 10001-10025

1шт.

8

102-60-15190

PIN

SN: 10001-10025

1шт.

9

102-60-15170

SPRING

SN: 10001-10025

1шт.

10

23A-60-13620

PLATE

SN: 10001-@

1шт.

11

07000-12100

O-RING

SN: 10001-@

1шт.

12

01010-51025

BOLT

SN: 10001-@

4шт.

13

01643-31032

WASHER

SN: 10001-@

4шт.

14

07000-12065

O-RING

SN: 10001-@

2шт.

15

01010-51025

BOLT

SN: 10001-@

4шт.

16

01643-31032

WASHER

SN: 10001-@

4шт.

Выбрано товаров: 17