Запчасти Komatsu GD621A-1 РАДИАТОР(№-8) КОМПОНЕНТЫ ДВИГАТЕЛЯ И ЭЛЕКТРИКА

Схема запчастей Komatsu GD621A-1 - РАДИАТОР(№-8) КОМПОНЕНТЫ ДВИГАТЕЛЯ И ЭЛЕКТРИКА
FIT
1:1
100%

Артикул

Название

Примечание

Количество

|$0

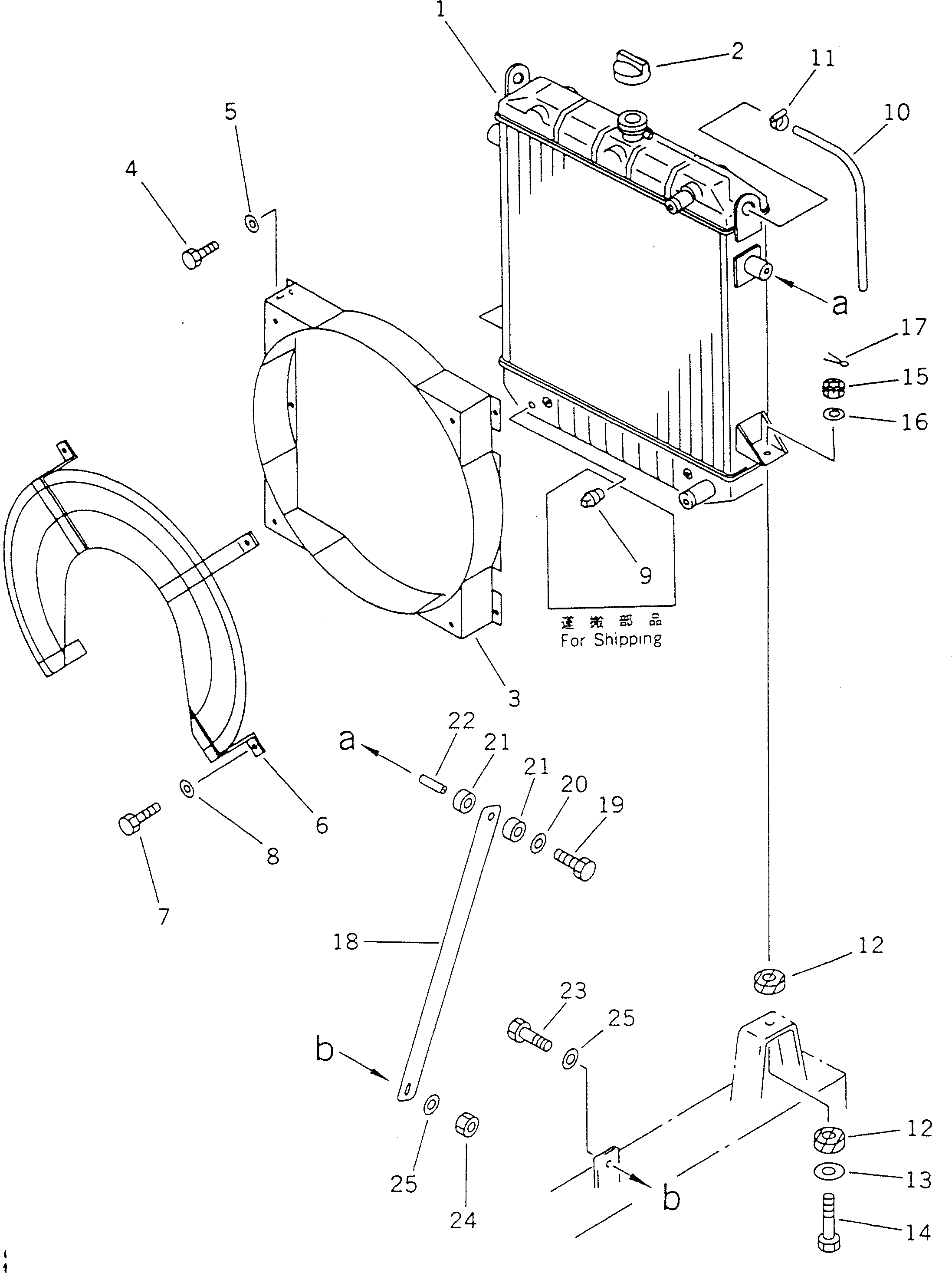
23B-03-14100

RADIATOR ASS'Y

SN: 10022-10028

1шт.

1

23B-03-14210

CORE

SN: 10022-10028

1шт.

2

205-03-71280

CAP ASS'Y

SN: 10022-@

1шт.

3

23B-03-14220

SHROUD

SN: 10022-@

1шт.

4

01010-50820

BOLT

SN: 10022-@

6шт.

5

01643-30823

WASHER

SN: 10022-@

6шт.

6

23B-03-14230

NET,WIRE

SN: 10022-@

1шт.

7

01010-50820

BOLT

SN: 10022-@

4шт.

8

01643-30823

WASHER

SN: 10022-@

4шт.

9

07042-20211

PLUG,(FOR SHIPPING)

SN: 10022-10028

1шт.

10

23B-03-14130

HOSE

SN: 10022-@

1шт.

11

07281-00167

CLAMP

SN: 10022-@

1шт.

12

23A-03-21160

CUSHION

SN: 10022-@

4шт.

13

236-03-21190

WASHER

SN: 10001-@

2шт.

14

01012-51480

BOLT

SN: 10001-@

2шт.

15

01590-11416

NUT

SN: 10001-@

2шт.

16

01643-31445

WASHER

SN: 10022-@

2шт.

17

04050-13028

PIN,COTTER

SN: 10001-@

2шт.

18

23A-03-21150

PLATE

SN: 10022-@

2шт.

19

01010-51250

BOLT

SN: 10022-@

2шт.

20

23A-03-21190

WASHER

SN: 10022-@

2шт.

21

23A-03-21170

CUSHION

SN: 10022-@

4шт.

22

273-956-2190

COLLAR

SN: 10022-@

2шт.

23

01010-51645

BOLT

SN: 10022-@

2шт.

24

01580-11613

NUT

SN: 10022-@

2шт.

25

01643-31645

WASHER

SN: 10022-@

4шт.

Выбрано товаров: 26