Запчасти Komatsu GD621A-1 РЫЧАГ УПРАВЛ-Я ТРАНСМИССИЕЙ (/) СИСТЕМА УПРАВЛЕНИЯ

Схема запчастей Komatsu GD621A-1 - РЫЧАГ УПРАВЛ-Я ТРАНСМИССИЕЙ (/) СИСТЕМА УПРАВЛЕНИЯ
FIT
1:1
100%

Артикул

Название

Примечание

Количество

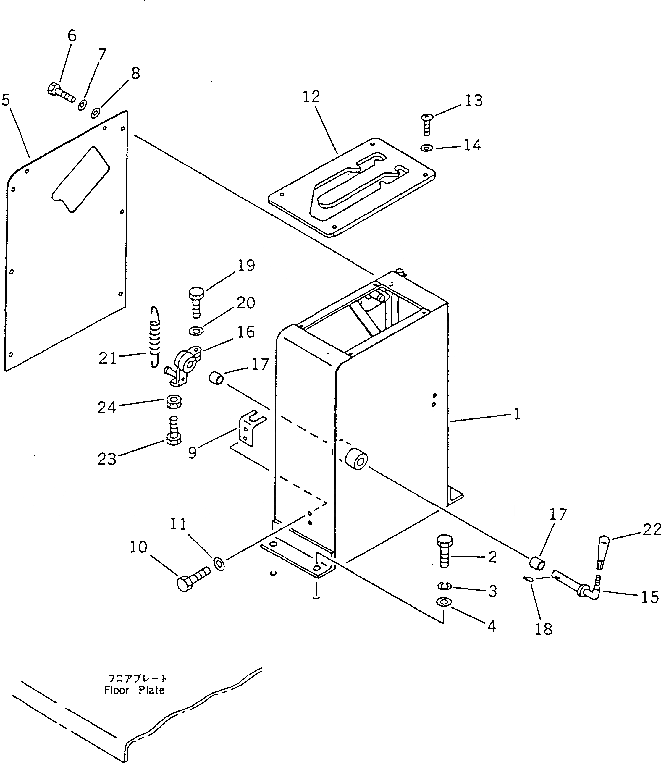
1

23A-45-11112

BOX

SN: 10022-UP

1шт.

1

23A-45-11110

BOX

SN: 10001-10021

1шт.

2

01010-51230

BOLT

SN: 10001-UP

4шт.

3

01602-21236

WASHER,SPRING

SN: 10001-10021

4шт.

4

01643-31232

WASHER

SN: 10001-UP

4шт.

5

23A-45-11180

PLATE

SN: 10001-UP

1шт.

6

01010-50612

BOLT

SN: 10001-UP

8шт.

7

01643-30623

WASHER

SN: 10001-UP

8шт.

8

01643-30623

WASHER

SN: 10001-UP

8шт.

9

23A-45-11170

PLATE

SN: 10001-UP

1шт.

10

01010-50616

BOLT

SN: 10001-UP

2шт.

11

01643-30623

WASHER

SN: 10001-UP

2шт.

12

233-45-11153

GUIDE

SN: 10001-UP

1шт.

13

01220-40840

SCREW

SN: 10001-UP

4шт.

14

01641-20812

WASHER

SN: 10001-UP

4шт.

15

23B-45-11121

LEVER

SN: 10022-UP

1шт.

15

23B-45-11120

LEVER

SN: 10001-10021

1шт.

16

232-45-11620

LEVER

SN: 10001-UP

1шт.

17

232-43-52320

BUSHING

SN: 10001-UP

2шт.

18

04010-00519

KEY

SN: 10001-UP

1шт.

19

01010-50830

BOLT

SN: 10001-UP

1шт.

20

01643-30823

WASHER

SN: 10001-UP

1шт.

21

135-43-21480

SPRING

SN: 10001-UP

1шт.

22

09305-00800

KNOB

SN: 10001-UP

1шт.

23

232-45-11610

BOLT

SN: 10001-UP

1шт.

24

01580-10806

NUT

SN: 10001-UP

1шт.

Выбрано товаров: 26