Запчасти Komatsu GD621R-1 СИСТЕМА ТРУБ РАДИАТОРА(№-8) КОМПОНЕНТЫ ДВИГАТЕЛЯ И ЭЛЕКТРИКА

Схема запчастей Komatsu GD621R-1 - СИСТЕМА ТРУБ РАДИАТОРА(№-8) КОМПОНЕНТЫ ДВИГАТЕЛЯ И ЭЛЕКТРИКА
FIT
1:1
100%

Артикул

Название

Примечание

Количество

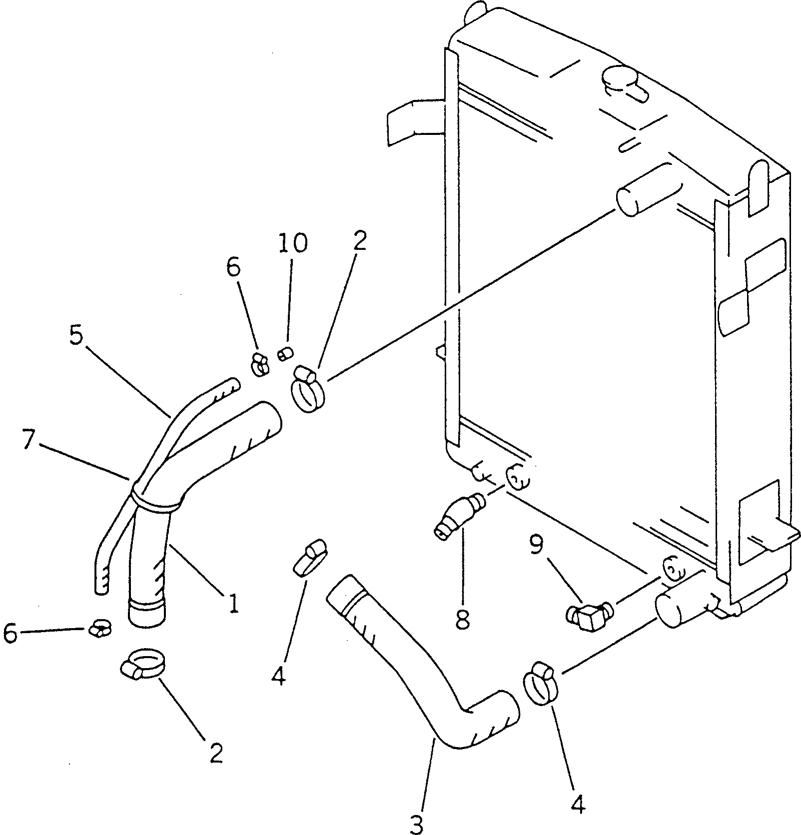
1

23A-03-11380

HOSE

SN: 10001-10028

1шт.

2

07281-00809

CLAMP

SN: 10001-@

2шт.

3

23A-03-11390

HOSE

SN: 10001-10028

1шт.

4

07281-00809

CLAMP

SN: 10001-10028

2шт.

5

07260-20963

HOSE

SN: 10001-10028

1шт.

6

07281-00197

CLAMP

SN: 10001-10028

2шт.

7

08034-00834

BAND

SN: 10001-10028

1шт.

8

238-03-11240

ELBOW

SN: 10001-@

1шт.

9

238-03-11170

ELBOW

SN: 10001-@

1шт.

10

23A-03-11350

CHOKE

SN: 10001-10028

1шт.

Выбрано товаров: 10