Запчасти Komatsu GD621R-1 ТОРМОЗНАЯ ГИДРОЛИНИЯ (/) СИСТЕМА УПРАВЛЕНИЯ

Схема запчастей Komatsu GD621R-1 - ТОРМОЗНАЯ ГИДРОЛИНИЯ (/) СИСТЕМА УПРАВЛЕНИЯ
FIT
1:1
100%

Артикул

Название

Примечание

Количество

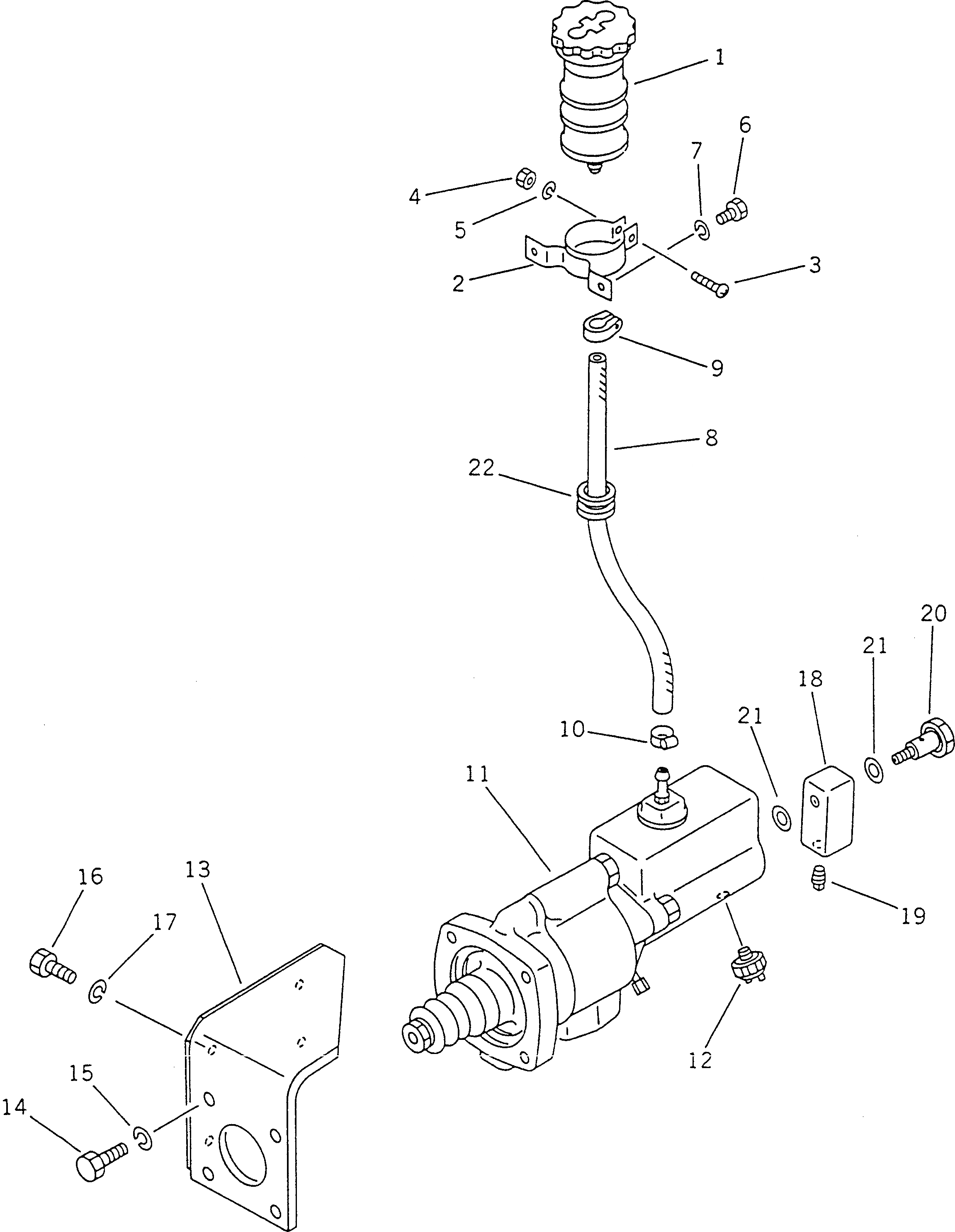
1

23E-43-13500

RESERVOIR ASS'Y

SN: 10119-UP

1шт.

1

0

RESERVOIR ASS'Y

SN: 10001-10118

1шт.

1

23E-43-13510

RESERVOIR

SN: 10119-UP

1шт.

1

232-43-13610

RESERVOIR

SN: 10001-10118

1шт.

1

232-43-13640

FLOAT

SN: 10001-UP

1шт.

1

23E-43-13520

CAP

SN: 10119-UP

1шт.

1

232-43-13620

BAFFLE

SN: 10001-10118

1шт.

1

232-43-13630

CAP

SN: 10001-UP

1шт.

2

232-43-13440

BRACKET

SN: 10001-UP

1шт.

3

01220-40530

SCREW

SN: 10001-UP

1шт.

4

01580-10504

NUT

SN: 10001-UP

1шт.

5

01601-20513

WASHER,SPRING

SN: 10001-UP

1шт.

6

01010-50812

BOLT

SN: 10001-UP

2шт.

7

01643-30823

WASHER

SN: 10001-UP

2шт.

8

23A-43-13190

TUBE

SN: 10001-UP

1шт.

9

236-04-21190

CLIP

SN: 10001-UP

1шт.

10

232-43-13450

CLAMP

SN: 10001-UP

1шт.

11

23A-43-13111

CYLINDER ASS'Y,BRAKE BOOSTER

SN: 10108-UP

1шт.

11

23A-43-13110

CYLINDER ASS'Y,BRAKE BOOSTER

SN: 10001-10107

1шт.

12

08071-10000

SWITCH,STOP LAMP

SN: 10001-UP

1шт.

13

23A-43-13150

BRACKET

SN: 10001-UP

1шт.

14

01010-51235

BOLT

SN: 10001-UP

4шт.

15

01643-31232

WASHER

SN: 10001-UP

4шт.

16

01010-51225

BOLT

SN: 10001-UP

4шт.

17

01643-31232

WASHER

SN: 10001-UP

4шт.

18

23A-43-14160

JOINT

SN: 10001-UP

1шт.

19

07042-70108

PLUG

SN: 10001-UP

1шт.

20

23A-43-14220

BOLT

SN: 10001-UP

1шт.

21

232-43-54240

GASKET

SN: 10001-UP

2шт.

22

08037-01610

GROMMET

SN: 10001-UP

1шт.

Выбрано товаров: 0