Запчасти Komatsu GD621R-1 ОТВАЛ(№-) РАБОЧЕЕ ОБОРУДОВАНИЕ

Схема запчастей Komatsu GD621R-1 - ОТВАЛ(№-) РАБОЧЕЕ ОБОРУДОВАНИЕ
FIT
1:1
100%

Артикул

Название

Примечание

Количество

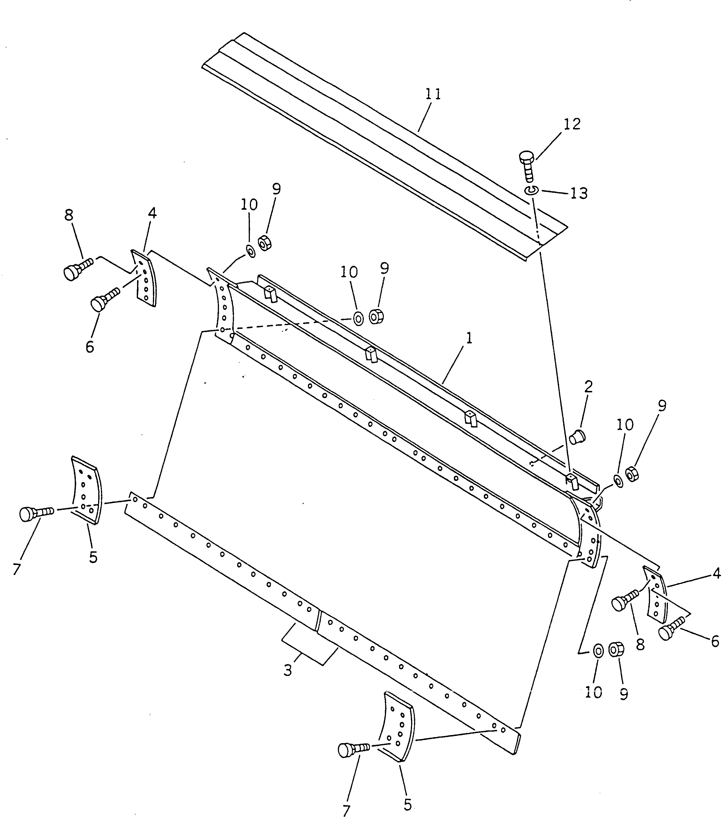
1

23B-70-12110

BLADE

SN: 10001-10002

1шт.

1

23B-70-12520

RAIL,UPPER (WELDED)

SN: 10001-@

1шт.

1

23B-70-12530

RAIL,LOWER (WELDED)

SN: 10001-@

1шт.

2

07048-01510

PLUG

SN: 10001-@

4шт.

3

232-70-12143

EDGE

SN: 10001-@

2шт.

4

232-70-52180

EDGE,SIDE

SN: 10001-@

2шт.

5

232-70-52190

BIT,END

SN: 10001-10002

2шт.

6

232-70-12470

BOLT

SN: 10001-10002

2шт.

7

232-70-12460

BOLT

SN: 10001-10002

10шт.

8

232-70-12450

BOLT

SN: 10001-10002

24шт.

9

232-70-12480

NUT

SN: 10001-@

36шт.

10

01643-31645

WASHER

SN: 10001-@

36шт.

11

23B-70-12150

COVER

SN: 10001-10002

1шт.

12

01010-51230

BOLT

SN: 10001-10002

4шт.

13

01602-21236

WASHER,SPRING

SN: 10001-10002

4шт.

Выбрано товаров: 15