Запчасти Komatsu GD621R-1 ОТВАЛ(№-) РАБОЧЕЕ ОБОРУДОВАНИЕ

Схема запчастей Komatsu GD621R-1 - ОТВАЛ(№-) РАБОЧЕЕ ОБОРУДОВАНИЕ
FIT
1:1
100%

Артикул

Название

Примечание

Количество

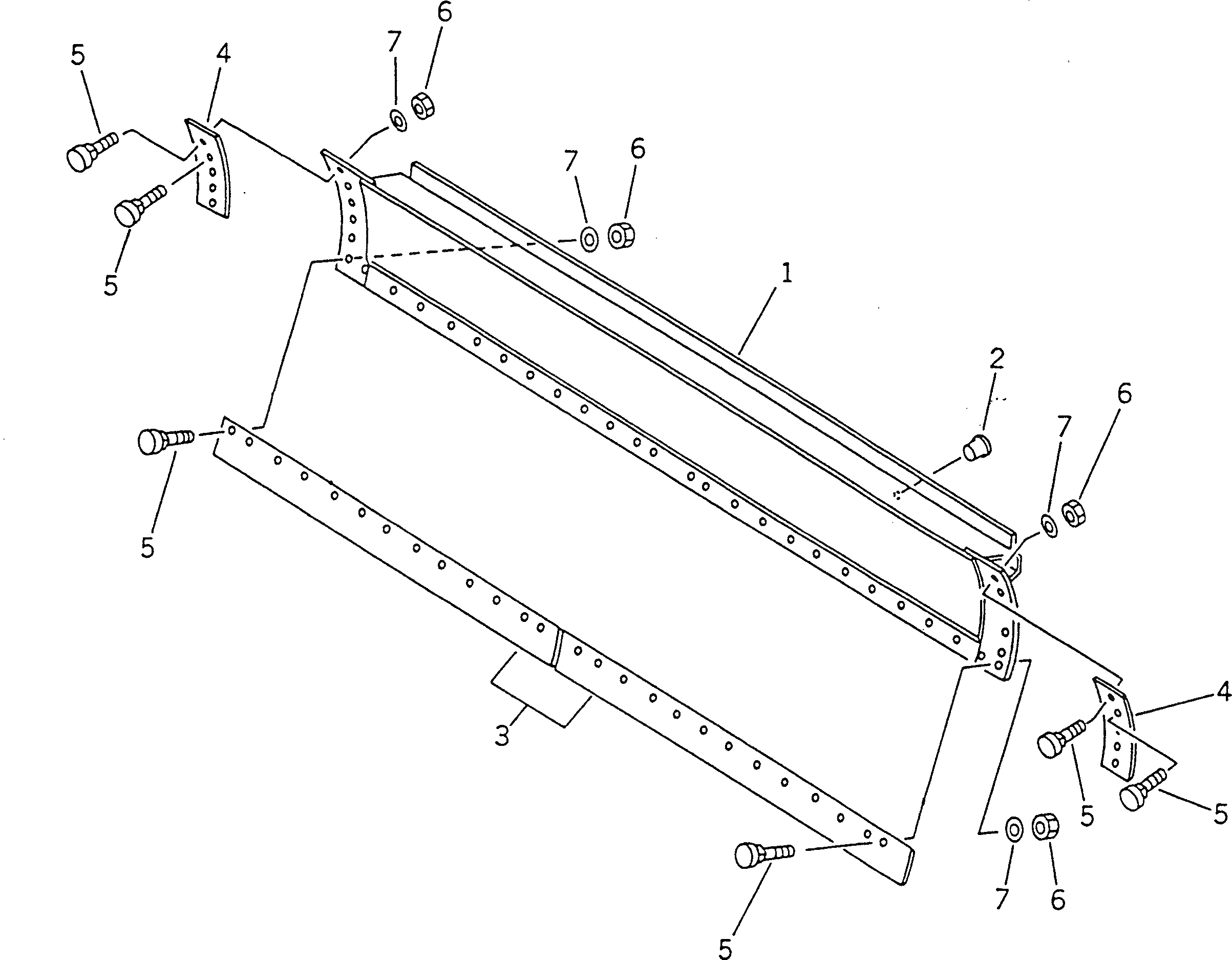
1

23B-70-12120

BLADE

SN: 10003-UP

1шт.

1

23B-70-12520

RAIL,UPPER (WELDED)

SN: 10001-UP

1шт.

1

23B-70-12530

RAIL,LOWER (WELDED)

SN: 10001-UP

1шт.

2

07048-01510

PLUG

SN: 10001-UP

4шт.

3

232-70-12143

EDGE

SN: 10001-UP

2шт.

4

232-70-52180

EDGE,SIDE

SN: 10001-UP

2шт.

5

232-70-12450

BOLT

SN: 10003-UP

36шт.

6

232-70-12480

NUT

SN: 10001-UP

36шт.

7

01643-31645

WASHER

SN: 10001-UP

36шт.

Выбрано товаров: 9