Запчасти Komatsu GD621R-1 SCARIFIER ПОДЪЕМ РАБОЧЕЕ ОБОРУДОВАНИЕ

Схема запчастей Komatsu GD621R-1 - SCARIFIER ПОДЪЕМ РАБОЧЕЕ ОБОРУДОВАНИЕ
FIT
1:1
100%

Артикул

Название

Примечание

Количество

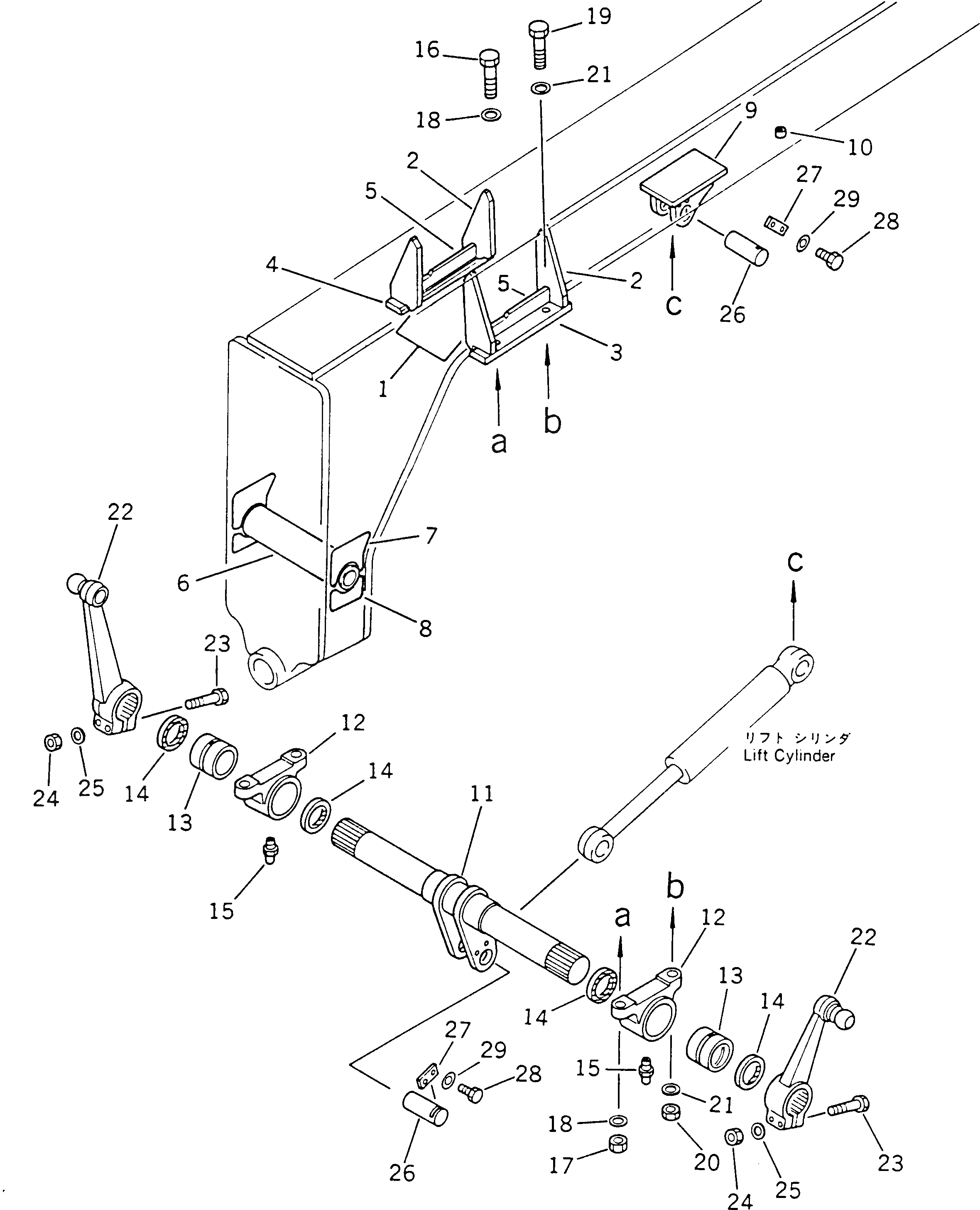
1

23B-71-11350

PLATE (WELDED)

SN: 10001-UP

2шт.

2

23B-71-11420

PLATE (WELDED)

SN: 10001-UP

2шт.

3

23B-71-11430

PLATE (WELDED)

SN: 10001-UP

1шт.

4

23B-71-11410

PLATE (WELDED)

SN: 10001-UP

1шт.

5

23B-71-11380

PLATE (WELDED)

SN: 10001-UP

2шт.

6

23B-71-11260

BOSS (WELDED)

SN: 10001-UP

1шт.

7

23B-71-11360

PLATE (WELDED)

SN: 10001-UP

2шт.

8

23B-71-11370

PLATE (WELDED)

SN: 10001-UP

2шт.

9

23B-71-11130

BRACKET (WELDED)

SN: 10001-UP

1шт.

10

01571-00814

SEAT (WELDED)

SN: 10001-UP

2шт.

11

23B-71-11210

SHAFT

SN: 10001-UP

1шт.

12

23B-71-11190

SUPPORT

SN: 10001-UP

2шт.

13

23B-71-11280

BUSHING

SN: 10001-UP

2шт.

14

07145-00090

SEAL,DUST

SN: 10001-UP

4шт.

15

07020-00000

FITTING,GREASE

SN: 10001-UP

2шт.

16

01019-32000

BOLT

SN: 10001-UP

2шт.

17

01580-12016

NUT

SN: 10001-UP

2шт.

18

01643-32060

WASHER

SN: 10001-UP

4шт.

19

01091-52000

BOLT

SN: 10001-UP

2шт.

20

01582-12016

NUT

SN: 10001-UP

2шт.

20

0

NUT

SN: 10001-UP

2шт.

21

01643-32060

WASHER

SN: 10001-UP

4шт.

22

232-71-52210

ARM

SN: 10001-UP

2шт.

23

01011-51610

BOLT

SN: 10001-UP

4шт.

24

01580-11613

NUT

SN: 10001-UP

4шт.

25

01643-31645

WASHER

SN: 10001-UP

4шт.

26

236-46-13460

PIN

SN: 10001-UP

2шт.

27

04082-00212

LOCK

SN: 10001-UP

2шт.

28

01010-51225

BOLT

SN: 10001-UP

4шт.

29

01643-31232

WASHER

SN: 10001-UP

4шт.

Выбрано товаров: 30