Запчасти Komatsu GD623A-1 ГИДРАВЛ РЫЧАГ УПРАВЛ-Я ПРАВ. СИСТЕМА УПРАВЛЕНИЯ

Схема запчастей Komatsu GD623A-1 - ГИДРАВЛ РЫЧАГ УПРАВЛ-Я ПРАВ. СИСТЕМА УПРАВЛЕНИЯ
FIT
1:1
100%

Артикул

Название

Примечание

Количество

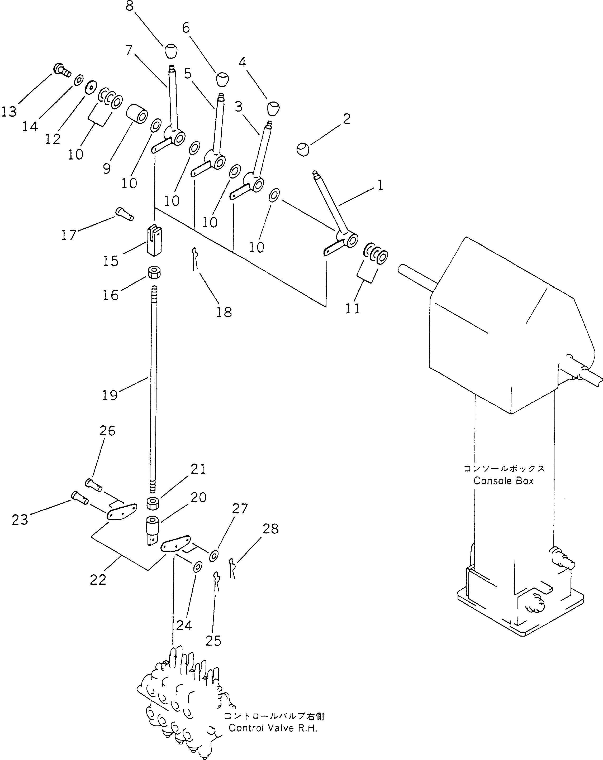
1

23A-43-18250

LEVER,ARTICULATE

SN: 30001-UP

1шт.

2

234-43-00310

KNOB ASS'Y,ARTICULATE

SN: 30001-UP

1шт.

2

237-43-17490

KNOB

SN: 30001-UP

1шт.

2

234-53-32330

PLATE, OPERATING

SN: 30001-UP

1шт.

3

23A-43-18210

LEVER,DRAWBAR SHIFT

SN: 30001-UP

1шт.

4

234-43-00330

KNOB ASS'Y,DRAWBAR SHIFT

SN: 30001-UP

1шт.

4

237-43-17480

KNOB

SN: 30001-UP

1шт.

4

232-43-18280

PLATE, OPERATING

SN: 30001-UP

1шт.

5

23A-43-18220

LEVER,LEANING

SN: 30001-UP

1шт.

6

237-43-00120

KNOB ASS'Y,LEANING

SN: 30001-UP

1шт.

6

237-43-17490

KNOB

SN: 30001-UP

1шт.

6

237-54-13220

PLATE, OPERATING

SN: 30001-UP

1шт.

7

23A-43-18230

LEVER,BLADE LIFT, R.H.

SN: 30001-UP

1шт.

8

237-43-00080

KNOB ASS'Y,BLADE LIFT, R.H.

SN: 30001-UP

1шт.

8

237-43-17480

KNOB

SN: 30001-UP

1шт.

8

237-54-13210

PLATE, OPERATING

SN: 30001-UP

1шт.

9

237-43-17440

COLLAR

SN: 30001-UP

1шт.

10

237-43-17420

WASHER

SN: 30001-UP

7шт.

11

23D-43-18540

COLLAR

SN: 30001-UP

3шт.

12

23A-43-18190

WASHER

SN: 30001-UP

1шт.

13

01220-40816

SCREW

SN: 30001-UP

1шт.

14

01643-30823

WASHER

SN: 30001-UP

1шт.

15

04221-20844

YOKE,L.H. THREAD

SN: 30001-UP

4шт.

16

01508-20805

NUT,L.H. THREAD

SN: 30001-UP

4шт.

17

04205-10822

PIN

SN: 30001-UP

4шт.

18

234-43-18710

PIN,SNAP

SN: 30001-UP

4шт.

19

23A-43-18460

ROD

SN: 30001-UP

4шт.

20

23A-43-18290

JOINT

SN: 30001-UP

4шт.

21

01580-10806

NUT

SN: 30001-UP

4шт.

22

23A-43-18320

PLATE

SN: 30001-UP

8шт.

23

04205-10616

PIN

SN: 30001-UP

4шт.

24

01641-20608

WASHER

SN: 30001-UP

4шт.

25

233-43-27750

PIN,SNAP

SN: 30001-UP

4шт.

26

23A-43-18360

PIN

SN: 30001-UP

8шт.

27

01641-20508

WASHER

SN: 30001-UP

8шт.

28

04052-00530

PIN,SNAP

SN: 30001-UP

8шт.

Выбрано товаров: 36