Запчасти Komatsu GD623A-1 ЗАДН. РАМА (МОРОЗОУСТОЙЧИВ. СПЕЦИФИКАЦИЯ) РАМА И ЧАСТИ КОРПУСА

Схема запчастей Komatsu GD623A-1 - ЗАДН. РАМА (МОРОЗОУСТОЙЧИВ. СПЕЦИФИКАЦИЯ) РАМА И ЧАСТИ КОРПУСА
FIT
1:1
100%

Артикул

Название

Примечание

Количество

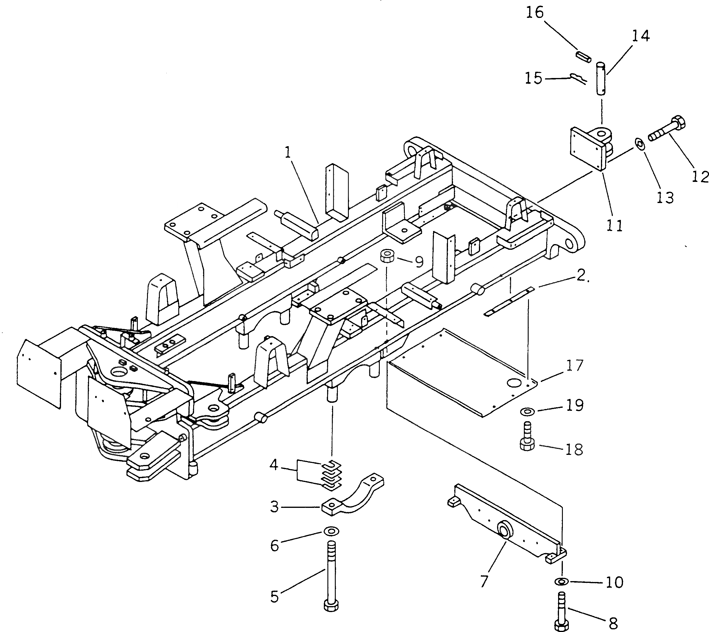
1

23B-46-19351

FRAME,REAR (MODIFIED PARTS)

SN: 30369-UP

1шт.

1

23B-46-19350

FRAME,REAR (MODIFIED PARTS)

SN: 30001-30368

1шт.

2

237-872-1410

SEAT (WELDED)

SN: 30001-UP

2шт.

3

23B-46-12320

CAP

SN: 30001-UP

2шт.

4

23A-46-00120

SHIM ASS'Y

SN: 30001-UP

1шт.

4

0

SHIM, 0.1MM

SN: 30001-UP

2шт.

4

0

SHIM, 0.2MM

SN: 30001-UP

4шт.

4

0

SHIM, 0.5MM

SN: 30001-UP

2шт.

5

01011-63080

BOLT

SN: 30001-UP

4шт.

6

01643-33080

WASHER

SN: 30001-UP

4шт.

7

23B-22-21270

HANGER

SN: 30001-UP

1шт.

8

01010-51675

BOLT

SN: 30001-UP

4шт.

9

01580-11613

NUT

SN: 30001-UP

4шт.

10

01643-31645

WASHER

SN: 30001-UP

8шт.

11

238-46-11810

DRAWBAR

SN: 30001-UP

1шт.

12

01010-52060

BOLT

SN: 30001-UP

4шт.

13

01643-32060

WASHER

SN: 30001-UP

4шт.

14

232-46-11711

PIN

SN: 30001-UP

1шт.

15

232-46-11920

PIN,SNAP

SN: 30001-UP

1шт.

16

04025-01065

PIN,SNAP

SN: 30001-UP

1шт.

17

23B-46-19361

COVER

SN: 30369-UP

1шт.

17

23B-46-19360

COVER

SN: 30001-30368

1шт.

18

01010-51015

BOLT

SN: 30001-UP

6шт.

19

01643-31032

WASHER

SN: 30001-UP

6шт.

Выбрано товаров: 24