Запчасти Komatsu GD623A-1 ЭЛЕКТРИКА (ДЛЯ бЛОК. ДИФФЕРЕНЦИАЛА) КОМПОНЕНТЫ ДВИГАТЕЛЯ И ЭЛЕКТРИКА

Схема запчастей Komatsu GD623A-1 - ЭЛЕКТРИКА (ДЛЯ бЛОК. ДИФФЕРЕНЦИАЛА) КОМПОНЕНТЫ ДВИГАТЕЛЯ И ЭЛЕКТРИКА
FIT
1:1
100%

Артикул

Название

Примечание

Количество

G1

0

CONTROL B GROUP,DIFFERENTIAL LOCK

SN: 30001-UP

1шт.

|$$2

====================

-1шт.

1

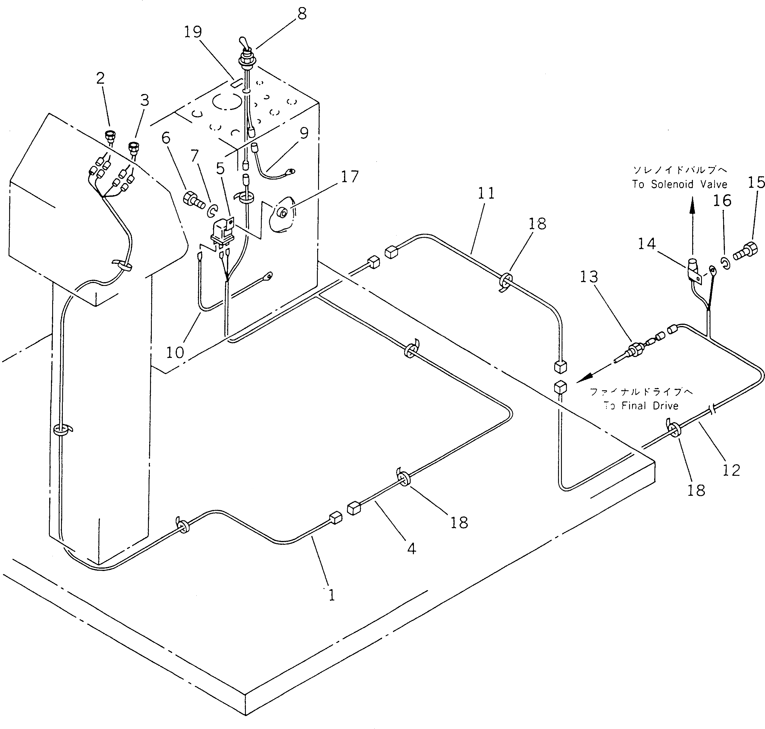
23B-806-1730

WIRE ASS'Y

SN: 30001-UP

1шт.

2

23B-806-1710

LAMP,DIFFERENTIAL LOCK

SN: 30001-UP

1шт.

3

23B-806-1720

LAMP,OIL TEMPERATURE

SN: 30001-UP

1шт.

4

23B-806-1740

WIRE ASS'Y

SN: 30001-UP

1шт.

5

233-06-13260

RELAY

SN: 30001-UP

1шт.

6

01010-50612

BOLT

SN: 30001-UP

1шт.

7

01643-30623

WASHER

SN: 30001-UP

1шт.

8

20N-06-11120

SWITCH,DIFFERENTIAL LOCK

SN: 30001-UP

1шт.

9

232-06-57660

CABLE

SN: 30001-UP

1шт.

10

235-06-11160

WIRE

SN: 30001-UP

1шт.

11

23B-806-1750

WIRE ASS'Y

SN: 30001-UP

1шт.

12

23B-806-1760

WIRE ASS'Y

SN: 30001-UP

1шт.

13

281-06-13913

SENSOR,OIL TEMPERATURE

SN: 30001-UP

1шт.

14

08036-01814

CLIP

SN: 30001-UP

1шт.

15

01010-51016

BOLT

SN: 30001-UP

1шт.

16

01643-31032

WASHER

SN: 30001-UP

1шт.

17

01571-00609

SEAT (WELDED)

SN: 30001-UP

1шт.

18

08034-00414

BAND

SN: 30001-UP

8шт.

|$$21

====================

-1шт.

G2

0

MARK B GROUP,DIFFERENTIAL LOCK

SN: 30001-UP

1шт.

|$$23

====================

-1шт.

19

23B-53-11660

PLATE, OPERATING,DIFFERENTIAL LOCK

SN: 30001-UP

1шт.

|$$25

====================

-1шт.

Выбрано товаров: 25