Запчасти Komatsu GD623A-1 КОРПУС КОНЕЧН. ПЕРЕДАЧИ (/) СИЛОВАЯ ПЕРЕДАЧА

Схема запчастей Komatsu GD623A-1 - КОРПУС КОНЕЧН. ПЕРЕДАЧИ (/) СИЛОВАЯ ПЕРЕДАЧА
FIT
1:1
100%

Артикул

Название

Примечание

Количество

|$0

23B-22-00512

FINAL DRIVE ASS'Y

SN: 30218-UP

1шт.

|$1

23B-22-00511

FINAL DRIVE ASS'Y

SN: 30001-30217

1шт.

|$2

0

FINAL DRIVE ASS'Y

SN: (30001-30158)

1шт.

|$$4

THESE ASSEMBLIES CONSIST OF ALL PARTS SHOWN IN FIGS.2601 TO 2607.

-1шт.

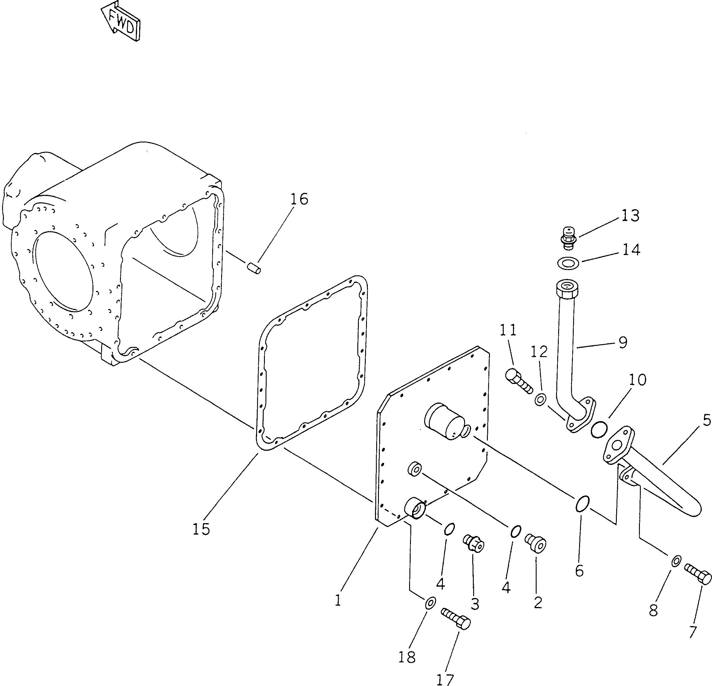
1

23B-22-11410

COVER

SN: 30001-UP

1шт.

2

07040-12414

PLUG

SN: 30001-UP

1шт.

3

07044-12412

PLUG

SN: 30001-UP

1шт.

4

07002-12434

O-RING (K5)

SN: 30001-UP

2шт.

5

23B-22-22160

TUBE

SN: 30001-UP

1шт.

6

07000-13045

O-RING (K5)

SN: 30001-UP

1шт.

7

01010-81235

BOLT

SN: 30001-UP

2шт.

8

01643-31232

WASHER

SN: 30001-UP

2шт.

9

23B-22-22170

TUBE

SN: 30001-UP

1шт.

10

07000-13045

O-RING (K5)

SN: 30001-UP

1шт.

11

01010-81235

BOLT

SN: 30001-UP

2шт.

12

01643-31232

WASHER

SN: 30001-UP

2шт.

13

232-23-11220

BREATHER

SN: 30001-UP

1шт.

14

07003-03036

GASKET (K5)

SN: 30001-UP

1шт.

15

232-22-55112

GASKET (K5)

SN: .-UP

1шт.

15

0

GASKET (K5)

SN: 30001-.

1шт.

15

0

GASKET (K5)

SN: (30001-30273)

1шт.

16

04020-01228

PIN,DOWEL

SN: 30001-UP

2шт.

17

01010-81235

BOLT

SN: 30001-UP

16шт.

18

01643-31232

WASHER

SN: 30001-UP

16шт.

Выбрано товаров: 24