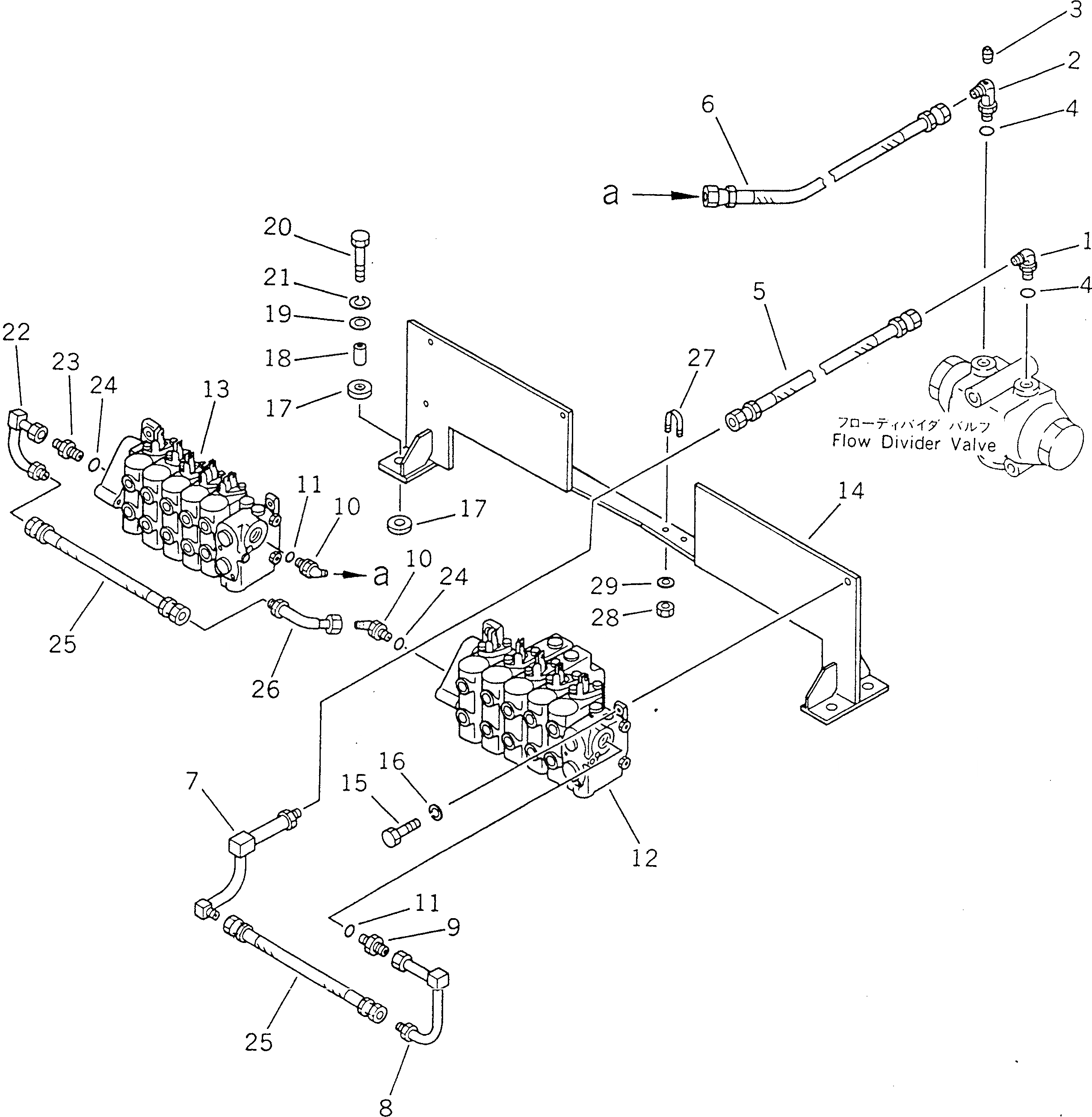
Запчасти Komatsu GD625A-1 ГИДРОЛИНИЯ (КЛАПАН ДЕЛИТЕЛЯ ПОТОКА - УПРАВЛЯЮЩ. КЛАПАН) ГИДРАВЛИКА

Схема запчастей Komatsu GD625A-1 - ГИДРОЛИНИЯ (КЛАПАН ДЕЛИТЕЛЯ ПОТОКА - УПРАВЛЯЮЩ. КЛАПАН) ГИДРАВЛИКА
FIT
1:1
100%

Артикул

Название

Примечание

Количество

1

235-60-15420

ELBOW

SN: 50001-UP

1шт.

2

237-60-22140

ELBOW

SN: 50001-UP

1шт.

3

07042-20108

PLUG

SN: 50001-UP

1шт.

4

238-40-16140

O-RING

SN: 50001-UP

2шт.

5

07108-20504

HOSE

SN: 50001-UP

1шт.

6

07108-20506

HOSE

SN: 50001-UP

1шт.

7

23B-60-16461

TUBE

SN: 50001-UP

1шт.

8

23A-60-16372

TUBE

SN: 50001-UP

1шт.

9

235-60-15410

NIPPLE

SN: 50001-UP

1шт.

10

235-60-15440

ELBOW

SN: 50001-UP

2шт.

11

237-60-22240

O-RING

SN: 50001-UP

2шт.

12

23A-60-12800

CONTROL VALVE ASS'Y,(SEE FIGS.6201 AND 6203)

SN: 50001-UP

1шт.

13

23A-60-12700

CONTROL VALVE ASS'Y,(SEE FIG.6205)

SN: 50001-UP

1шт.

14

23B-60-16560

BRACKET

SN: 50001-UP

1шт.

15

01010-50825

BOLT

SN: 50001-UP

5шт.

16

01602-20825

WASHER,SPRING

SN: 50001-UP

5шт.

17

23B-60-16740

SEAT

SN: 50001-UP

8шт.

18

23B-60-16490

COLLAR

SN: 50001-UP

4шт.

19

23B-60-16870

WASHER

SN: 50001-UP

4шт.

20

01010-51045

BOLT

SN: 50001-UP

4шт.

21

01602-21030

WASHER,SPRING

SN: 50001-UP

4шт.

22

23A-60-16331

TUBE

SN: 50001-UP

1шт.

23

235-60-15410

NIPPLE

SN: 50001-UP

1шт.

24

237-60-22240

O-RING

SN: 50001-UP

2шт.

25

07108-20503

HOSE

SN: 50001-UP

2шт.

26

23A-60-16770

TUBE

SN: 50001-UP

1шт.

27

07283-22236

CLIP

SN: 50001-UP

2шт.

28

01599-01011

NUT

SN: 50001-UP

4шт.

29

01643-31032

WASHER

SN: 50001-UP

4шт.

Выбрано товаров: 29