Запчасти Komatsu GD625A-1 SCARIFIER ПОДЪЕМ РАБОЧЕЕ ОБОРУДОВАНИЕ

Схема запчастей Komatsu GD625A-1 - SCARIFIER ПОДЪЕМ РАБОЧЕЕ ОБОРУДОВАНИЕ
FIT
1:1
100%

Артикул

Название

Примечание

Количество

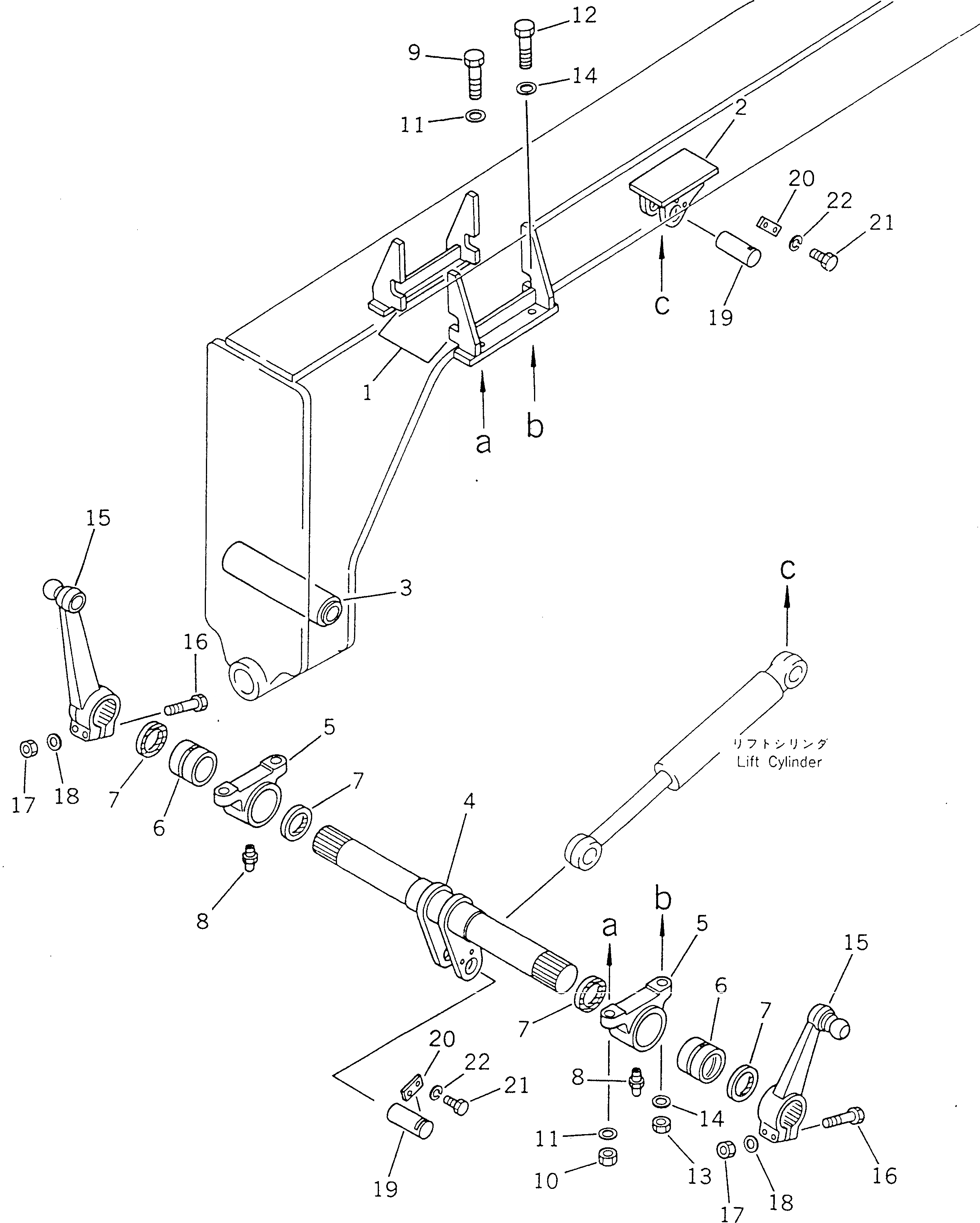
1

23B-71-11420

PLATE,L.H. (WELDED)

SN: 50019-UP

1шт.

1

0

BRACKET,L.H. (WELDED)

SN: 50001-50018

1шт.

1

23B-71-11410

PLATE,R.H. (WELDED)

SN: 50019-UP

1шт.

1

0

BRACKET,R.H. (WELDED)

SN: 50001-50018

1шт.

2

23B-71-11130

BRACKET (WELDED)

SN: 50001-UP

1шт.

3

23B-71-11260

BOSS (WELDED)

SN: 50001-UP

1шт.

4

23B-71-11210

SHAFT

SN: 50001-UP

1шт.

5

23B-71-11190

SUPPORT

SN: 50001-UP

2шт.

6

23B-71-11280

BUSHING

SN: 50001-UP

2шт.

7

07145-00090

SEAL,DUST

SN: 50001-UP

4шт.

8

07020-00000

FITTING,GREASE

SN: 50001-UP

2шт.

9

01019-32000

BOLT

SN: 50001-UP

2шт.

10

01580-12016

NUT

SN: 50001-UP

2шт.

11

01643-32060

WASHER

SN: 50001-UP

4шт.

12

01091-52000

BOLT

SN: 50001-UP

2шт.

13

01582-12016

NUT

SN: 50001-UP

2шт.

14

01643-32060

WASHER

SN: 50001-UP

4шт.

15

232-71-52210

ARM

SN: 50001-UP

2шт.

16

01011-51610

BOLT

SN: 50001-UP

4шт.

17

01580-11613

NUT

SN: 50001-UP

4шт.

18

01643-31645

WASHER

SN: 50001-UP

4шт.

19

236-46-13460

PIN

SN: 50001-UP

2шт.

20

04082-00212

LOCK

SN: 50001-UP

2шт.

21

01010-51225

BOLT

SN: 50001-UP

4шт.

22

01643-31232

WASHER

SN: .-UP

4шт.

22

0

WASHER,SPRING

SN: 50001-.

4шт.

Выбрано товаров: 26